k-part
Номер на схеме Каталожный номер Название Количество Детали
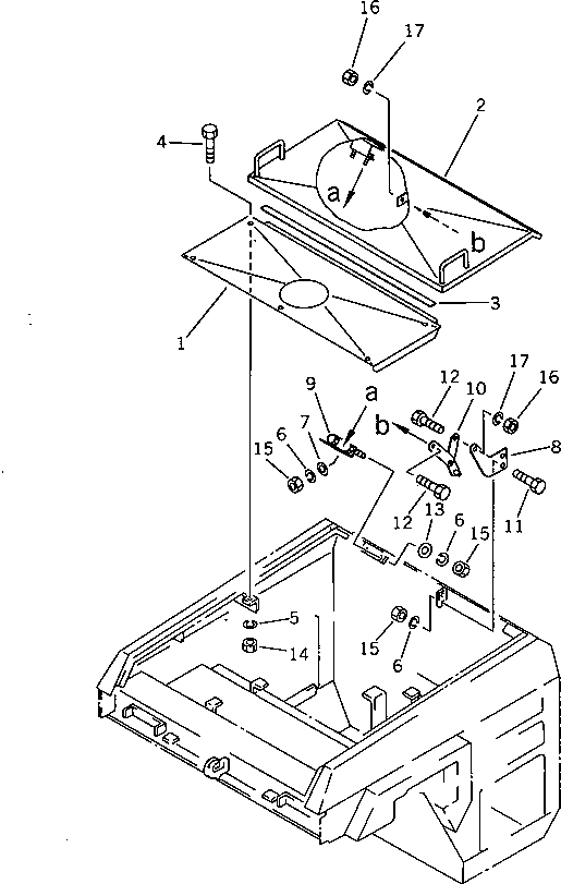
? 258-10-27111 COVER 1
SN: 2001-2700
? 258-10-26501 COVER 1
SN: 2001-2700
? 258-06-00321 SEAL 1
SN: 2001-@
? 01010-30820 BOLT 5
SN: 2001-2700
? 01602-20825 WASHER,SPRING 5
SN: 2001-2700
? 01602-21030 WASHER,SPRING 10
SN: 2001-2700
? 01640-21016 WASHER 4
SN: 2001-2700
? 258-10-27131 BRACKET 1
SN: 2001-2700
? 258-10-27301 BRACKET 2
SN: 2001-2700
? 258-10-27400 STAY 1
SN: 2001-2700
? 01010-31030 BOLT 2
SN: 2001-2700
? 01010-31235 BOLT 2
SN: 2001-2700
? 268-30-13620 WASHER 4
SN: 2001-2700
? 01580-30806 NUT 2
SN: 2001-2700
? 01580-31008 NUT 10
SN: 2001-2700
? 01580-31210 NUT 2
SN: 2001-2700
? 01602-21236 WASHER,SPRING 2
SN: 2001-2700

Rollers Komatsu / JV40CW-2 S/N 2001-UP(jv40cw0r) / BONNET(#2001-2700)(120030 : 5002)