| Номер на схеме | Каталожный номер | Название | Количество | Детали | |||
|---|---|---|---|---|---|---|---|
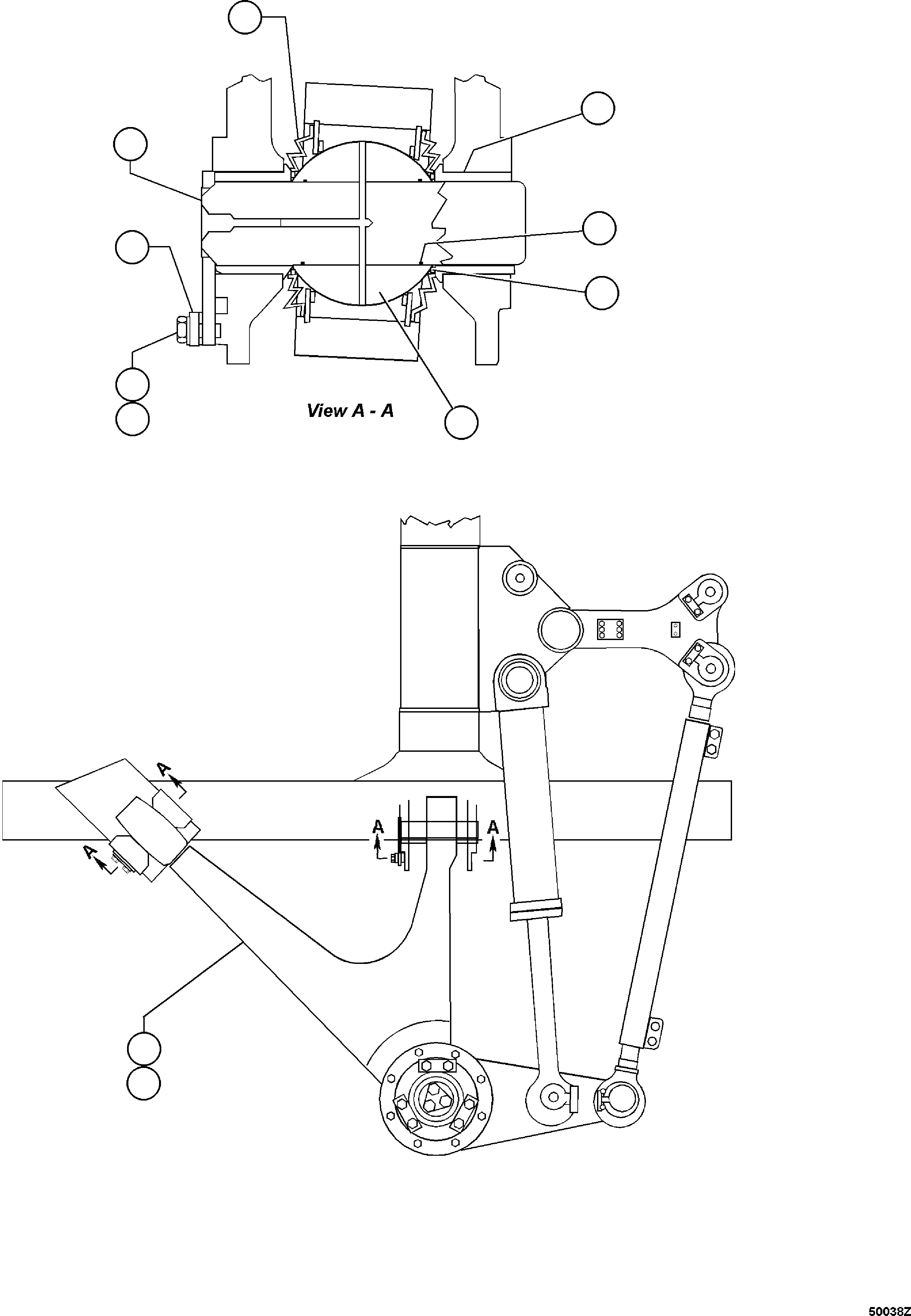
| ? | 01010-81435 | BOLT (KIT T) | 8 | SN: 80001- KIT-FLAG: _- SERIALNO: 80001- |
|||
| ? | 01643-31445 | WASHER (KIT T) | 8 | SN: 80001- KIT-FLAG: _- SERIALNO: 80001- |
|||
| ? | 281-70-15870 | PLATE (KIT T) | 4 | SN: 80001- KIT-FLAG: _- SERIALNO: 80001- |
|||
| ? | EF0957 | PIN (KIT T) | 4 | SN: 80001- KIT-FLAG: _- SERIALNO: 80001- |
|||
| ? | EF2236 | BOOT,DUST (KIT T) | 8 | SN: 80001- KIT-FLAG: _- SERIALNO: 80001- |
|||
| ? | 581-46-14910 | BUSHING (KIT T) | 8 | SN: 80001- KIT-FLAG: _- SERIALNO: 80001- |
|||
| ? | 07000-52085 | O-RING (KIT T) | 8 | SN: 80001- KIT-FLAG: _- SERIALNO: 80001- |
|||
| ? | EF2241 | SPACER (KIT T) | 8 | SN: 80001- KIT-FLAG: _- SERIALNO: 80001- |
|||
| ? | 581-40-21340 | BUSHING (KIT T) | 4 | SN: 80001- KIT-FLAG: _- SERIALNO: 80001- |
|||
| ? | EJ2501 | ARM,L.H. | 1 | SN: 80001- KIT-FLAG: _- SERIALNO: 80001- |
|||
| ? | EJ2502 | ARM,R.H. | 1 | SN: 80001- KIT-FLAG: _- SERIALNO: 80001- |
|||
| ? | AK3664 | SERVICE KIT | SN: 80001- KIT-FLAG: _- SERIALNO: 80001- |