| Номер на схеме | Каталожный номер | Название | Количество | Детали | |||
|---|---|---|---|---|---|---|---|
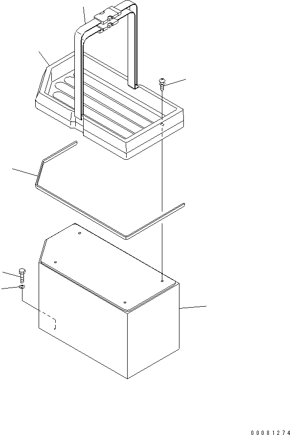
| ? | 56D-54-25910 | BOX | 1 | SN: 2001- KIT-FLAG: _- SERIALNO: 2001- |
|||
| ? | 56D-54-25920 | FINISHER | 1 | SN: 2001- KIT-FLAG: _- SERIALNO: 2001- |
|||
| ? | 421-54-32611 | TRAY | 1 | SN: 2001- KIT-FLAG: _- SERIALNO: 2001- |
|||
| ? | 423-54-42790 | BAND | 2 | SN: 2611- KIT-FLAG: _- SERIALNO: 2611- |
|||
| ? | 01023-10616 | SCREW | 4 | SN: 2001- KIT-FLAG: _- SERIALNO: 2001- |
|||
| ? | 01010-81016 | BOLT | 4 | SN: 2001- KIT-FLAG: _- SERIALNO: 2001- |
|||
| ? | 01643-31032 | WASHER | 4 | SN: 2001- KIT-FLAG: _- SERIALNO: 2001- |