k-part
Номер на схеме Каталожный номер Название Количество Детали
? 380-887992-1 HOSE 1
SN: 471-3916
? 07005-02416 GASKET 1
SN: .-3916
? □07003-02430 GASKET 1
SN: 471-.
? 381-898700-1 ADAPTER 1
SN: 1675-3916
? 380-887990-1 NIPPLE 1
SN: 471-1674
? 380-175081-1 ELBOW 1
SN: 1675-3916
? 381-898705-1 TUBE 1
SN: 1675-3916
? 380-888550-1 TUBE 1
SN: 471-1674
? 380-02089-00 ADAPTER 1
SN: 471-3916
? 380-198034-1 VALVE 1
SN: 471-3916
? 380-175081-1 ELBOW 1
SN: 471-3916
? 380-888540-1 CLAMP 1
SN: 471-3916
? 380-S148-000 SCREW 1
SN: 3-3916
? 380-WF14-000 WASHER 1
SN: 3-3916
? 380-WL14-000 WASHER 1
SN: 3-3916
? 380-H14-0000 NUT 1
SN: 3-3916
? 380-102818-1 CLAMP 1
SN: 471-3916
? 380-S148-000 SCREW 1
SN: 3-3916
? 380-WF14-000 WASHER 1
SN: 3-3916
? 380-WL14-000 WASHER 1
SN: 3-3916
? 380-H14-0000 NUT 1
SN: 3-3916
? 380-153524-1 RESERVOIR 1
SN: 471-3916
? 380-153525-1 U-BOLT 2
SN: 3-3916
? 380-E16-0000 NUT 4
SN: 3-3916
? 380-167469-1 JOINT 1
SN: 819-3916
? 380-175779-1 TEE 1
SN: 471-818
? 380-139434-1 VALVE 1
SN: 471-3916
? 380-175774-1 CONNECTOR 1
SN: 471-3916
? 380-887366-1 TUBE 1
SN: 471-3916
? 380-175774-1 CONNECTOR 1
SN: 471-3916
? 380-887299-1 ELBOW 1
SN: 471-3916
? 380-134797-1 CLIP 1
SN: 471-3916
? 380-S148-000 SCREW 1
SN: 3-3916
? 380-WF14-000 WASHER 1
SN: 3-3916
? 380-WL14-000 WASHER 1
SN: 3-3916
? 380-H14-0000 NUT 1
SN: 3-3916
? 380-152907-1 CLAMP 2
SN: 3-3916
? 380-S148-000 SCREW 2
SN: 3-3916
? 380-WF14-000 WASHER 2
SN: 3-3916
? 380-WL14-000 WASHER 2
SN: 3-3916
? 380-H14-0000 NUT 2
SN: 3-3916
? 380-885235-2 VALVE 1
SN: 2241-3916
? □380-885235-1 VALVE 1
SN: 3-2240
? 380-S157-000 SCREW 1
SN: 3-3916
? 380-WF15-000 WASHER 1
SN: 3-3916
? 380-WL15-000 WASHER 1
SN: 3-3916
? 380-H15-0000 NUT 1
SN: 3-3916
? 380-885959-1 NIPPLE 1
SN: 3-3916
? 380-886760-1 CAP 1
SN: 3-3916
? 380-887303-1 NIPPLE 1
SN: 471-3916
? 381-971936-1 GOVERNOR ASS'Y 1
SN: 3555-3916
? □380-160446-2 GOVERNOR ASS'Y,(SEE FIG.604C) 1
SN: 471-3554
? 380-S1524-00 BOLT 2
SN: 471-3916
? 380-WL15-000 WASHER 2
SN: 471-3916
? 380-H15-0000 NUT 2
SN: 471-3916
? 380-887302-1 TUBE 1
SN: 471-3916
? 380-885994-1 HOSE 1
SN: 3-3916
? 380-887075-1 CLAMP 4
SN: 3-3916
? 380-886289-2 TUBE 1
SN: 1675-3916
? □380-886289-1 TUBE 1
SN: 3-1674
? 380-885251-1 NUT 1
SN: 3-3916
? 380-885253-1 GASKET 1
SN: 3-3916
? 07005-01412 GASKET 1
SN: .-3916
? □07003-01419 GASKET 1
SN: 1675-.
? 381-898701-1 ADAPTER 1
SN: 1675-3916
? 380-164839-1 ELBOW 1
SN: 471-3916
? 381-898469-1 TUBE 1
SN: 1503-3916
? 380-890206-1 TUBE 1
SN: 1011-1502
? 380-182838-1 TUBE 1
SN: 471-1010
? 380-175774-1 CONNECTOR 1
SN: 471-3916
? (☒380-164839-1) ELBOW 1
SN: (471-1502)
? (☒380-175774-1) CONNECTOR 1
SN: (471-1010)
? 380-889870-1 VALVE 1
SN: 1095-3916
? □380-139439-1 COCK 1
SN: 471-1094
? 380-188902-1 ELBOW 2
SN: 471-3916
? 381-898790-1 TUBE 1
SN: 1743-3916
? 380-179939-1 TUBE 1
SN: 1239-1742
? 380-889123-1 TUBE 1
SN: 471-1238
? (380-888581-1) BRAKE VALVE ASS'Y,R.H. (SEE FIG.604B) 1
SN: 1155-3916
? ▩380-889154-1 BRAKE VALVE ASS'Y,R.H. (SEE FIG.604B) 1
SN: 891-1154
? (380-888581-1{380-888576-1 ?}
? 380-890361-1)
? (380-888581-1) BRAKE VALVE ASS'Y,R.H. (SEE FIG.604B) 1
SN: 471-890
? 380-P18-0000 PLUG 3
SN: 471-3916
? 380-S158-000 BOLT 3
SN: 471-3916
? 380-WL15-000 WASHER 3
SN: 471-3916
? 380-H15-0000 NUT 3
SN: 471-3916
? 380-888575-1 PEDAL 1
SN: 1155-3916
? ▩380-889155-1 PEDAL 1
SN: 891-1154
? (380-888575-1{380-155379-1 ?}
? 380-888576-1)
? 380-888575-1 PEDAL 1
SN: 471-890
? 380-889621-1 • PLATE 1
SN: 471-3916
? 380-890361-1 • TREADLE 1
SN: 1155-3916
? ▩380-889622-1 • TREADLE 1
SN: 891-1154
? (380-890361-1{380-155379-1)}
? 380-888576-1)
? 380-890361-1 • TREADLE 1
SN: 471-890
? 380-178171-1 • PIN 1
SN: 471-3916
? 380-889623-1 • SCREW 1
SN: 471-3916
? 01501-51408 • NUT 1
SN: 471-3916
? 380-178172-1 • PIN 1
SN: 471-3916
? 380-S159-000 BOLT 3
SN: 471-3916
? 380-WL15-000 WASHER 3
SN: 471-3916
? 380-WF15-000 WASHER 3
SN: 1119-3916
? 380-H15-0000 NUT 3
SN: 471-3916
? 380-888576-1 PLATE 1
SN: 1155-3916
? 380-888576-1 PLATE 1
SN: 471-890
? 380-S147-000 BOLT 6
SN: 1155-3916
? 380-S147-000 BOLT 6
SN: 471-890
? 380-WF14-000 WASHER 6
SN: 1155-3916
? 380-WF14-000 WASHER 6
SN: 471-890
? 380-WL14-000 WASHER 6
SN: 1155-3916
? 380-WL14-000 WASHER 6
SN: 471-890
? 380-188901-1 CONNECTOR 2
SN: 471-3916
? 380-175767-1 TUBE 1
SN: 471-3916
? (380-162410-1) VALVE ASS'Y,L.H. (SEE FIG.604B) 1
SN: 471-3916
? 380-S158-000 BOLT 3
SN: 471-3916
? 380-WL15-000 WASHER 3
SN: 471-3916
? 380-H15-0000 NUT 3
SN: 471-3916
? 380-P18-0000 PLUG 2
SN: 471-3916
? 380-P44-0000 PLUG 2
SN: 471-3916
? 380-887297-1 ELBOW 1
SN: 471-3916
? 380-151982-1 BUSHING 1
SN: 471-3916
? 380-188902-1 ELBOW 1
SN: 471-3916
? 380-175777-1 ELBOW 1
SN: 471-3916
? 380-887831-1 TUBE 1
SN: 2859-3916
? 380-197665-1 TUBE 1
SN: 471-2858
? 380-174923-2 VALVE 1
SN: 471-3916
? 380-P16-0000 PLUG 1
SN: 471-3916
? 380-175081-1 ELBOW 1
SN: 471-3916
? 380-151982-1 BUSHING 1
SN: 471-3916
? 380-164839-1 ELBOW 2
SN: 471-3916
? 380-175763-1 TUBE 1
SN: 471-3916
? 380-175772-1 CONNECTOR 1
SN: 471-3916
? 381-898172-1 TUBE 1
SN: 1419-3916
? 380-887831-1 TUBE 1
SN: 627-1418
? 380-180118-1 TUBE 1
SN: 471-626
? 380-175772-1 CONNECTOR 1
SN: 471-3916
? (380-888750-5) CLUSTER ASS'Y,(SEE FIG.604A) 1
SN: 3891-3916
? □380-888750-4 CLUSTER ASS'Y,(SEE FIG.604A) 1
SN: .-3890
? □380-888750-3 CLUSTER ASS'Y,(SEE FIG.604A) 1
SN: 2511-.
? □380-888750-2 CLUSTER ASS'Y,(SEE FIG.604A) 1
SN: 1215-2510
? □380-888750-1 CLUSTER ASS'Y,(SEE FIG.604A) 1
SN: 471-1214
? 380-S178-000 BOLT 3
SN: 471-3916
? 380-WL17-000 WASHER 3
SN: 471-3916
? 380-WF17-000 WASHER 3
SN: 627-3916
? 380-885302-1 PLUG 2
SN: 471-3890
? 380-HA884-00 GASKET 2
SN: 471-3890
? 380-120876-1 FITTING 1
SN: 471-3916
? 380-HA884-00 GASKET 1
SN: 471-3916
? 380-HA883-00 GASKET 1
SN: 471-3916
? 380-HA882-00 BOLT 1
SN: 471-3916
? 380-889231-1 TUBE 1
SN: 627-3916
? 380-887308-1 TUBE 1
SN: 471-626
? 380-146966-1 TEE 1
SN: 3-3916
? 380-136271-1 CLIP 1
SN: 3-3916
? 380-S147-000 BOLT 1
SN: 3-3916
? 380-WL14-000 WASHER 1
SN: 3-3916
? 380-H14-0000 NUT 1
SN: 3-3916
? 381-897624-1 TUBE 1
SN: 2027-3916
? 380-886605-3 TUBE 1
SN: 1347-2026
? □380-886605-2 TUBE 1
SN: 471-1346
? 381-898541-1 CLIP 1
SN: 2026-.
? 380-S244-000 BOLT 1
SN: 2026-.
? 380-WL14-000 WASHER 1
SN: 2026-.
? 380-159680-1 CLIP 1
SN: 3-3916
? 380-889671-1 WASHER 1
SN: 831-3916
? 380-WF38-000 WASHER 1
SN: 3-3916
? 380-134797-1 CLIP 1
SN: 3-3916
? 380-S245-000 BOLT 1
SN: 3-3916
? 380-WL14-000 WASHER 1
SN: 3-3916
? 380-H24-0000 NUT 1
SN: 3-3916
? 381-897625-1 TUBE 1
SN: .-3916
? 380-886606-3 TUBE 1
SN: 1371-.
? □380-886606-2 TUBE 1
SN: 471-1370
? 381-898541-1 CLIP 1
SN: 2026-.
? 380-S244-000 BOLT 1
SN: 2026-.
? 380-WL14-000 WASHER 1
SN: 2026-.
? 380-159680-1 CLIP 1
SN: 471-3916
? 380-889671-1 WASHER 1
SN: 831-3916
? 380-WF38-000 WASHER 1
SN: 3-3916
? 380-134797-1 CLIP 1
SN: 3-3916
? 380-S245-000 BOLT 1
SN: 3-3916
? 380-WL14-000 WASHER 1
SN: 3-3916
? 380-H24-0000 NUT 1
SN: 3-3916
? 380-889232-1 TUBE 1
SN: 627-3916
? 380-887309-1 TUBE 1
SN: 471-626
? 380-889868-1 TUBE,(FOR BACK HOE) 1
SN: 1049-3916
? □380-889105-1 TUBE,(FOR BACK HOE) 1
SN: 281-1048
? 380-169677-1 UNION 1
SN: 3-3916
? 380-H310-000 NUT 1
SN: 3-3916
? 380-887017-1 BRACKET 1
SN: 3-3916
? 380-S1510-00 BOLT 1
SN: 3-3916
? 380-WL15-000 WASHER 1
SN: 3-3916
? 380-H15-0000 NUT 1
SN: 3-3916
? 380-174927-1 HOSE 1
SN: 3-3916
? 380-174920-1 TEE 1
SN: 3-3916
? 380-S1616-00 BOLT 1
SN: 3-3916
? 380-S1610-00 BOLT,(FOR BACK HOE) 1
SN: 281-3916
? 380-WL16-000 WASHER 1
SN: 3-3916
? 380-H16-0000 NUT 1
SN: 3-3916
? 380-174928-1 HOSE 1
SN: 3-3916
? 380-174921-1 CONNECTOR 1
SN: 3-3916
? 380-HA884-00 GASKET 1
SN: 3-3916
? 380-HA883-00 GASKET 1
SN: 3-3916
? 380-HA882-00 BOLT 1
SN: 3-3916
? 380-886607-1 TUBE 1
SN: 3-3916
? 380-887272-1 TUBE,(FOR BACK HOE) 1
SN: 281-3916
? 380-134797-1 CLIP 1
SN: 3-3916
? 380-S1410-00 SCREW 1
SN: 3-3916
? 380-S144-000 BOLT,(FOR BACK HOE) 1
SN: 281-3916
? 380-WF14-000 WASHER 1
SN: 3-3916
? 380-WL14-000 WASHER 1
SN: 3-3916
? 380-H14-0000 NUT 1
SN: 3-3916
? 380-174919-1 BRACKET 1
SN: 3-3916
? 380-S1510-00 BOLT 1
SN: 3-3916
? 380-WL15-000 WASHER 1
SN: 3-3916
? 380-H15-0000 NUT 1
SN: 3-3916
? 380-H310-000 NUT 1
SN: 3-3916
? 380-174927-1 HOSE 1
SN: 3-3916
? 380-174921-1 CONNECTOR 1
SN: 3-3916
? 380-HA884-00 GASKET 1
SN: 3-3916
? 380-HA883-00 GASKET 1
SN: 3-3916
? 380-HA882-00 BOLT 1
SN: 3-3916
? 380-888159-1 PLATE ? CAUTION 1
SN: 471-3916
? 380-151969-1 NIPPLE 1
SN: 819-3916
? 381-972978-1 INDICATOR 1
SN: .-3916
? 380-889632-1 INDICATOR 1
SN: 819-.
? 381-897626-1 PLATE 2
SN: .-3916
? 380-177748-1 CLAMP 2
SN: .-3916
? 380-S144-000 BOLT 4
SN: .-3916
? 380-WL14-000 WASHER 4
SN: .-3916

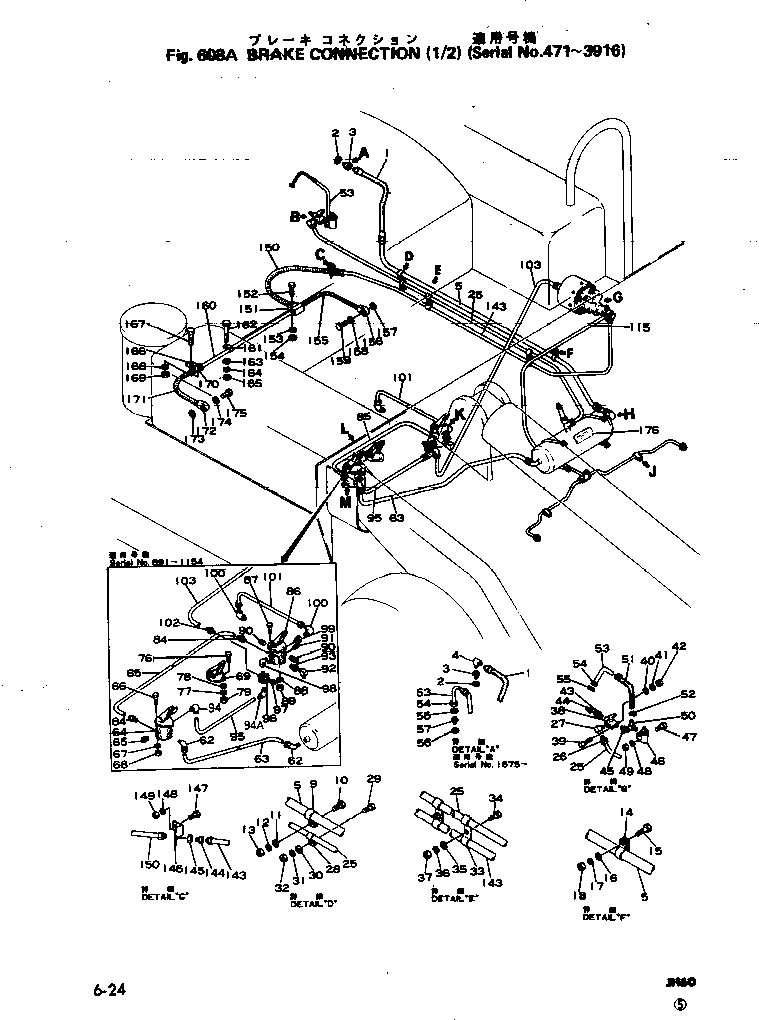
Wheel Loaders Komatsu / JH60-1 S/N 3-3916(jh60-1r) / BRAKE CONNECTION (1/2)(#471-3916)(180080 : 603A)