k-part
Номер на схеме Каталожный номер Название Количество Детали
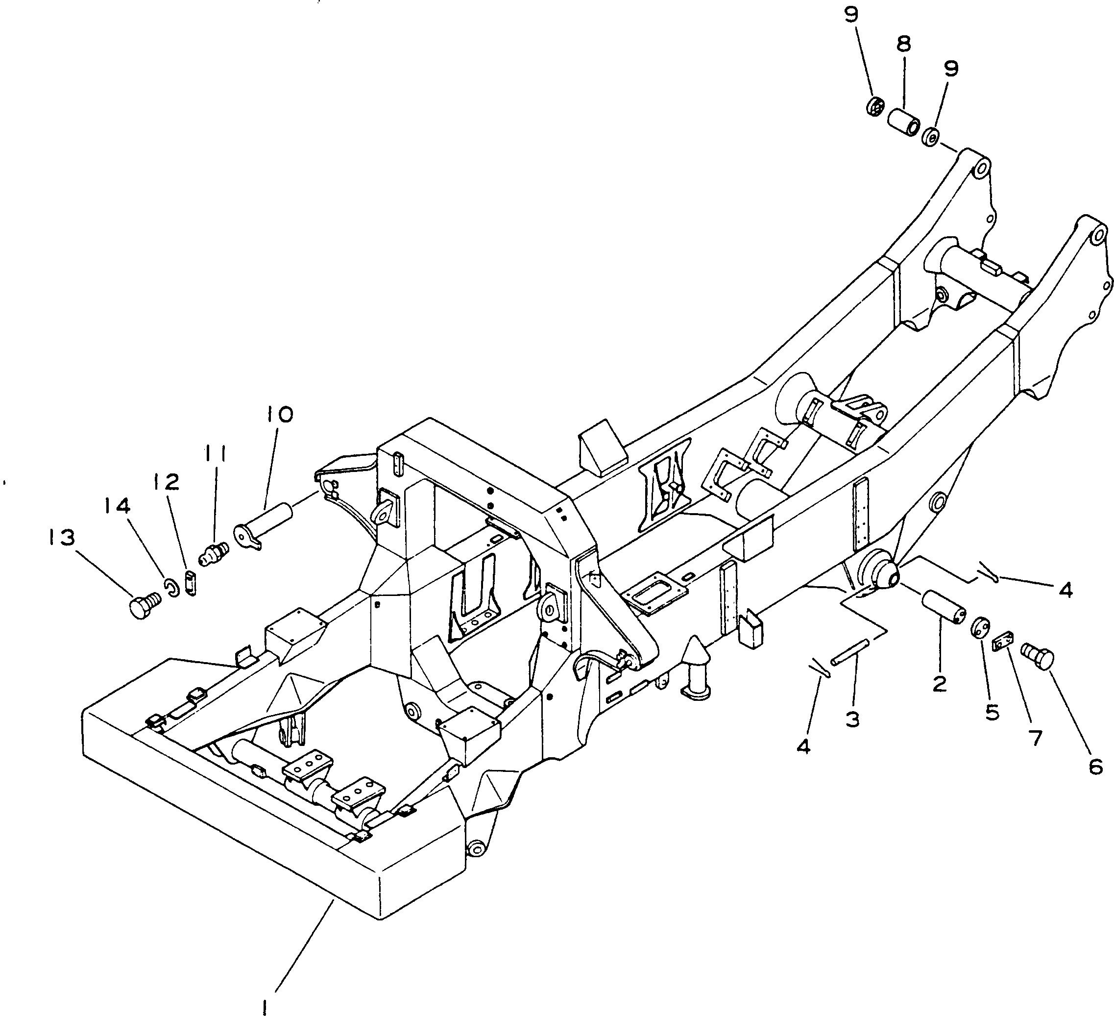
? 561-46-31000 MAIN FRAME ASS'Y 1
SN: 1002-
? 568-46-11421 PIN 2
SN: 1002-
? 568-46-11430 PIN 2
SN: 1002-
? 04050-05040 PIN 4
SN: 1002-
? 04080-08018 HOLDER 2
SN: 1002-
? 01010-51640 BOLT 4
SN: 1002-
? 04081-08016 LOCK 2
SN: 1002-
? 568-46-11472 BUSHING 2
SN: 1002-
? 07145-00090 SEAL 4
SN: 1002-
? 568-52-11310 PIN 2
SN: 1000-1000
? 568-50-12171 PIN 2
SN: 1002-
? 07020-00000 FITTING 2
SN: 1002-
? 568-52-11170 PLATE 2
SN: 1002-
? 01010-51430 BOLT 4
SN: 1002-
? 01602-21442 WASHER 4
SN: 1002-

Dump Trucks Komatsu / HD785-1S S/N 1002-UP(hd785-0r) / MAIN FRAME(150010 : 501)