k-part
Номер на схеме Каталожный номер Название Количество Детали
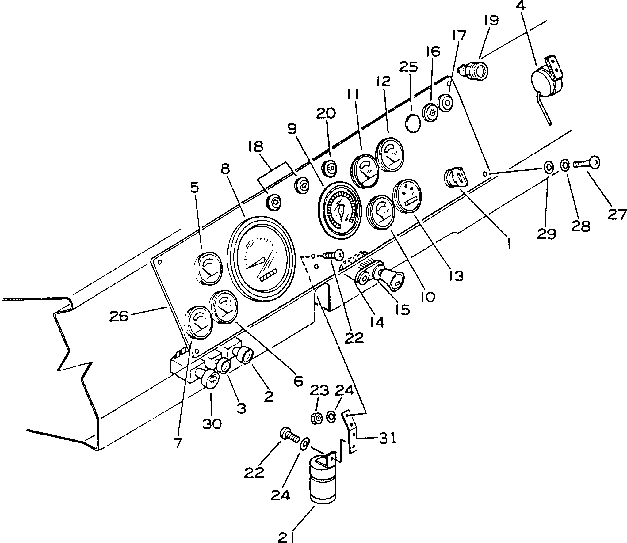
? 08086-00000 SWITCH,STARTING 1
SN: 1002-
? 08061-50010 SWITCH,HEAD LAMP 1
SN: 1002-
? 08061-30020 SWITCH,WORK LAMP 1
SN: 1002-
? 08166-02480 BUZZER 1
SN: 1002-
? 195-06-23110 GAUGE,WATER TEMPERATURE 1
SN: 1002-
? 195-06-23130 GAUGE,ENGINE OIL PRESSURE 1
SN: 1002-
? 195-06-23140 AMMETER 1
SN: 1002-
? 565-06-13131 SPEEDOMETER 1
SN: 1002-
? 566-06-15840 TACHOMETER 1
SN: 1002-
? 566-06-15871 GAUGE,RETARDER OIL TEMPERATURE 1
SN: 1002-
? 195-06-23120 GAUGE,TORQUE CONVERTER OIL TEMP. 1
SN: 1002-
? 566-06-15860 GAUGE,AIR PRESSURE 1
SN: 1002-
? 08687-22400 METER,SERVICE 1
SN: 1002-
? 566-06-13780 RESISTOR 1
SN: 1002-
? 09491-00000 LIGHTER,CIGARETTE 1
SN: 1002-
? 566-06-17130 LAMP,REAR BRAKE OIL CAUTION 1
SN: 1002-
? 08111-02430 • BULB ? 3W 1
SN: 1002-
? 566-06-17120 LAMP,LOCK-UP 1
SN: 1002-
? 08111-02430 • BULB ? 3W 1
SN: 1002-
? 566-06-17150 LAMP,TURN SIGNAL 2
SN: 1002-
? 08111-02430 • BULB ? 3W 1
SN: 1002-
? 566-06-17110 LAMP,PARKING BRAKE 1
SN: 1002-
? 08111-02430 • BULB ? 3W 1
SN: 1002-
? 566-06-17140 LAMP,HIGH BEAM 1
SN: 1002-
? 08111-02430 • BULB ? 3W 1
SN: 1002-
? 08077-32400 FLASHER 1
SN: 1002-
? 01220-40612 SCREW 3
SN: 1002-
? 01580-10605 NUT 2
SN: 1002-
? 01602-20619 WASHER 3
SN: 1002-
? 09415-01610 CAP 1
SN: 1002-
? 566-06-15314 PANEL 1
SN: 1002-
? 01220-40616 SCREW 8
SN: 1002-
? 01602-20619 WASHER 8
SN: 1002-
? 01642-20606 WASHER 8
SN: 1002-
? 566-06-16254 SWITCH,WIPER 1
SN: 1002-
? 566-06-15331 BRACKET 1
SN: 1002-

Dump Trucks Komatsu / HD785-1S S/N 1002-UP(hd785-0r) / INSTRUMENT PANEL(030200 : 155)