k-part
Номер на схеме Каталожный номер Название Количество Детали
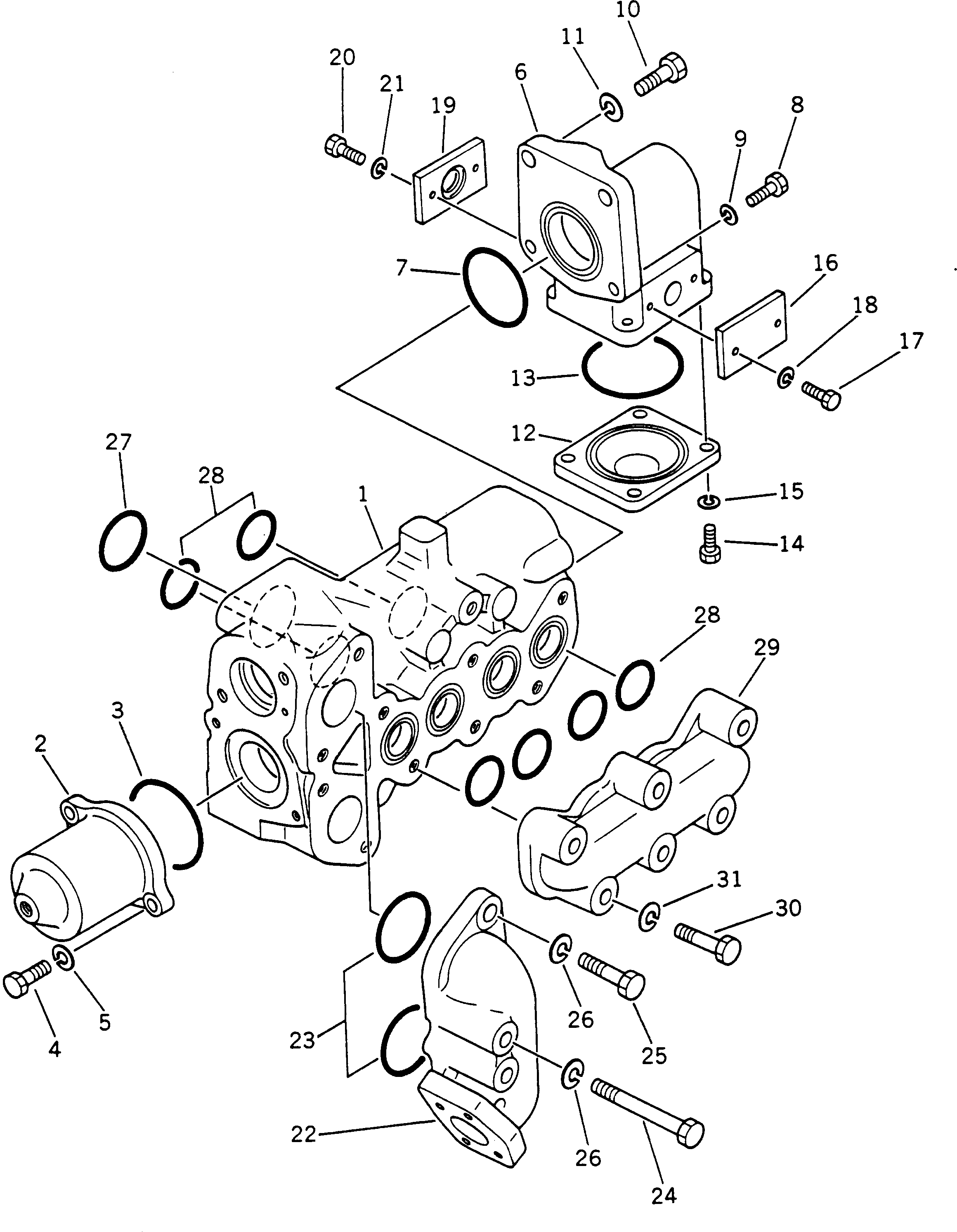
? 701-52-12000 HOIST VALVE ASS'Y 1
SN: 1002-
? 701-51-44000 • BODY ASS'Y 1
SN: 1002-
? 701-51-00050 • • BODY ASS'Y 1
SN: 1002-
? • • • BODY 1
SN: 1002-
? 701-51-35140 • • CASE 1
SN: 1002-
? 07000-02090 • • O-RING 1
SN: 1002-
? 01010-51235 • • BOLT 2
SN: 1002-
? 01602-21236 • • WASHER 2
SN: 1002-
? 701-51-35120 • • CASE 1
SN: 1002-
? 07000-02075 • • O-RING 1
SN: 1002-
? 01252-31645 • • BOLT 2
SN: 1002-
? 01602-21648 • • WASHER 2
SN: 1002-
? 01252-31240 • • BOLT 2
SN: 1002-
? 01602-21236 • • WASHER 2
SN: 1002-
? 701-51-32190 • • COVER 1
SN: 1002-
? 07000-02090 • • O-RING 1
SN: 1002-
? 01010-51030 • • BOLT 4
SN: 1002-
? 01602-21030 • • WASHER 4
SN: 1002-
? 701-51-32250 • • PLATE 1
SN: 1002-
? 01010-50820 • • BOLT 2
SN: 1002-
? 01602-20825 • • WASHER 2
SN: 1002-
? 701-51-32170 • • PLATE 1
SN: 1002-
? 01010-50820 • • BOLT 2
SN: 1002-
? 01602-20825 • • WASHER 2
SN: 1002-
? 701-51-35170 • • TUBE 1
SN: 1002-
? 07000-12065 • • O-RING 2
SN: 1002-
? 01011-51610 • • BOLT 2
SN: 1002-
? 01010-51645 • • BOLT 2
SN: 1002-
? 01602-21648 • • WASHER 4
SN: 1002-
? 07000-13055 • • O-RING 1
SN: 1002-
? 07000-13045 • • O-RING 6
SN: 1002-
? 701-51-33290 • • COVER 1
SN: 1002-
? 01010-51675 • • BOLT 6
SN: 1002-
? 01602-21648 • • WASHER 6
SN: 1002-

Dump Trucks Komatsu / HD785-1S S/N 1002-UP(hd785-0r) / HOIST VALVE (1/2)(180080 : 625)