| Номер на схеме | Каталожный номер | Название | Количество | Детали | |||
|---|---|---|---|---|---|---|---|
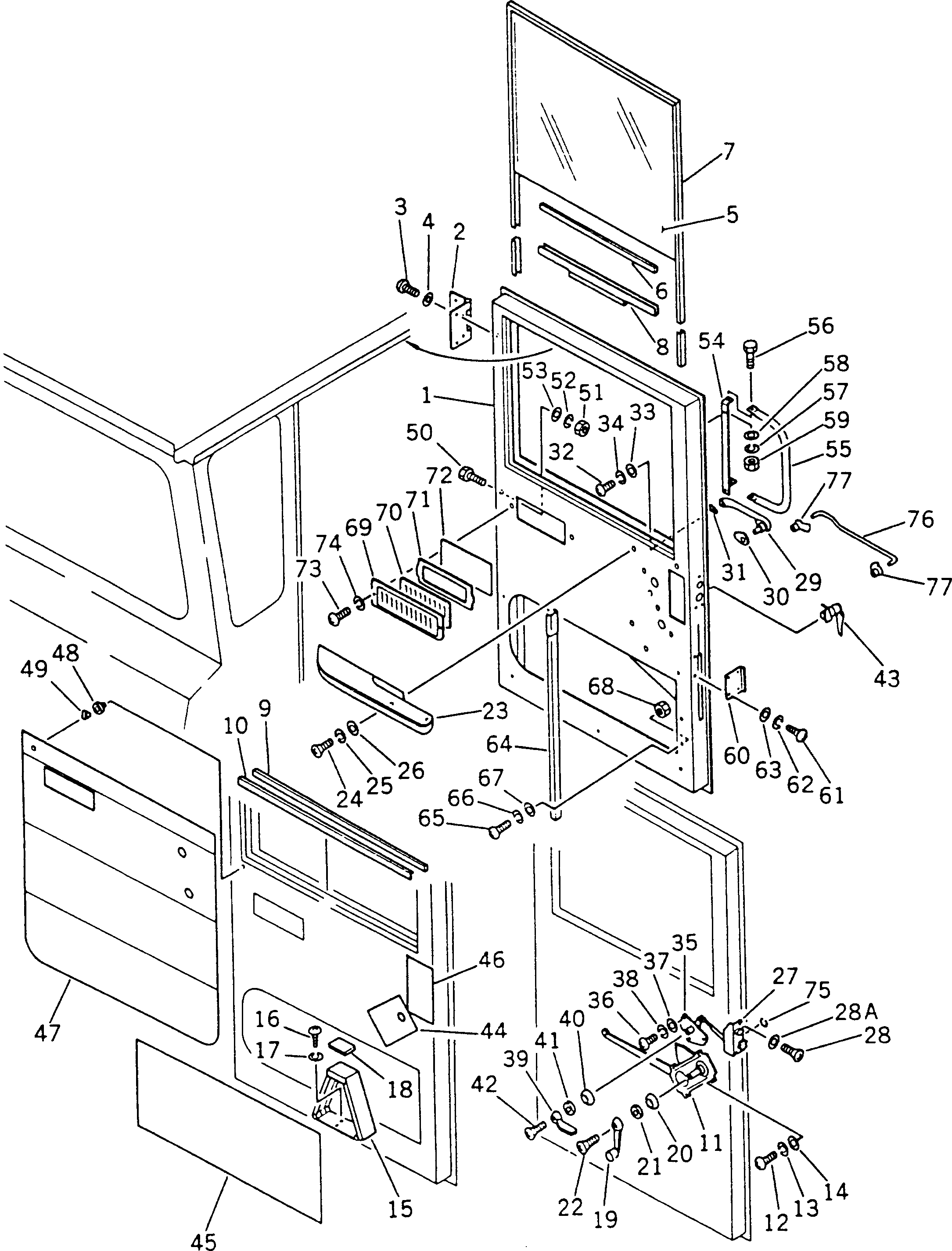
| ? | (566-54-23001) | CAB ASS'Y | 1 | SN: 1002- |
|||
| ? | 566-54-33500 | • DOOR ASS'Y | 1 | SN: 1002- |
|||
| ? | 566-54-24112 | • • DOOR | 1 | SN: 1002- |
|||
| ? | 566-54-24240 | • • HINGE | 2 | SN: 1002- |
|||
| ? | 01225-30820 | • • SCREW | 16 | SN: 1002- |
|||
| ? | 566-54-13570 | • • WASHER | 16 | SN: 1002- |
|||
| ? | 566-54-25120 | • • GLASS | 1 | SN: 1002- |
|||
| ? | 566-54-24220 | • • RUBBER | 1 | SN: 1002- |
|||
| ? | 566-54-24710 | • • RUN | 1 | SN: 1002- |
|||
| ? | 566-54-24450 | • • CHANNEL | 1 | SN: 1002- |
|||
| ? | 566-54-24720 | • • SEAL | 1 | SN: 1002- |
|||
| ? | 566-54-24730 | • • ANTIRATTLER | 1 | SN: 1002- |
|||
| ? | 566-54-24210 | • • REGULATOR | 1 | SN: 1002- |
|||
| ? | 01220-30612 | • • SCREW | 4 | SN: 1002- |
|||
| ? | 01602-20619 | • • WASHER | 4 | SN: 1002- |
|||
| ? | 01642-20608 | • • WASHER | 4 | SN: 1002- |
|||
| ? | 566-54-24131 | • • STOPPER | 1 | SN: 1002- |
|||
| ? | 01370-00510 | • • SCREW | 2 | SN: 1002- |
|||
| ? | 01601-20513 | • • WASHER | 2 | SN: 1002- |
|||
| ? | 566-54-24140 | • • STOPPER | 1 | SN: 1002- |
|||
| ? | 566-54-24411 | • • HANDLE | 1 | SN: 1002- |
|||
| ? | 566-54-24260 | • • BASE | 1 | SN: 1002- |
|||
| ? | 566-54-24270 | • • ESCUTCHEON | 1 | SN: 1002- |
|||
| ? | 01225-30516 | • • SCREW | 1 | SN: 1002- |
|||
| ? | 566-54-24850 | • • REST,ARM | 1 | SN: 1002- |
|||
| ? | 01225-40630 | • • SCREW | 2 | SN: 1002- |
|||
| ? | 01602-20619 | • • WASHER | 2 | SN: 1002- |
|||
| ? | 01640-20610 | • • WASHER | 2 | SN: 1002- |
|||
| ? | 566-54-24421 | • • LOCK ASS'Y | 1 | SN: 1002- |
|||
| ? | 01225-30612 | • • SCREW | 3 | SN: 1002- |
|||
| ? | 566-54-13580 | • • WASHER | 3 | SN: 1002- |
|||
| ? | 566-54-24540 | • • HANDLE | 1 | SN: 1002- |
|||
| ? | 566-54-24610 | • • SEAT | 1 | SN: 1002- |
|||
| ? | 566-54-24620 | • • SEAT | 1 | SN: 1002- |
|||
| ? | 01220-30516 | • • SCREW | 2 | SN: 1002- |
|||
| ? | 01642-20508 | • • WASHER | 2 | SN: 1002- |
|||
| ? | 01601-20513 | • • WASHER | 2 | SN: 1002- |
|||
| ? | 566-54-24431 | • • CONTROL | 1 | SN: 1002- |
|||
| ? | 01220-30612 | • • SCREW | 2 | SN: 1002- |
|||
| ? | 01642-20608 | • • WASHER | 2 | SN: 1002- |
|||
| ? | 01602-20619 | • • WASHER | 2 | SN: 1002- |
|||
| ? | 566-54-24550 | • • HANDLE | 1 | SN: 1002- |
|||
| ? | 566-54-24260 | • • BASE | 1 | SN: 1002- |
|||
| ? | 566-54-24270 | • • ESCUTCHEON | 1 | SN: 1002- |
|||
| ? | 01225-30516 | • • SCREW | 1 | SN: 1002- |
|||
| ? | 566-54-24441 | • • KEY ASS'Y | 1 | SN: 1002- |
|||
| ? | 566-54-24190 | • • SEAL | 1 | SN: 1002- |
|||
| ? | 566-54-24170 | • • SEAL | 1 | SN: 1002- |
|||
| ? | 566-54-24180 | • • SEAL | 1 | SN: 1002- |
|||
| ? | 566-54-24232 | • • PAD | 1 | SN: 1002- |
|||
| ? | 566-54-23960 | • • GROMMET | 8 | SN: 1002- |
|||
| ? | 566-54-23950 | • • CLIP | 8 | SN: 1002- |
|||
| ? | 566-54-24320 | • • BOLT | 1 | SN: 1002- |
|||
| ? | 01580-10806 | • • NUT | 1 | SN: 1002- |
|||
| ? | 01602-20825 | • • WASHER | 1 | SN: 1002- |
|||
| ? | 01642-20810 | • • WASHER | 1 | SN: 1002- |
|||
| ? | 581-54-13580 | • • SUPPORT | 1 | SN: 1002- |
|||
| ? | 566-54-23570 | • • PIPE | 1 | SN: 1002- |
|||
| ? | 01010-50820 | • • BOLT | 4 | SN: 1002- |
|||
| ? | 01602-20825 | • • WASHER | 4 | SN: 1002- |
|||
| ? | 01642-20810 | • • WASHER | 4 | SN: 1002- |
|||
| ? | 01580-10806 | • • NUT | 2 | SN: 1002- |
|||
| ? | 566-54-24250 | • • COVER | 1 | SN: 1002- |
|||
| ? | 01370-00510 | • • SCREW | 4 | SN: 1002- |
|||
| ? | 01601-20513 | • • WASHER | 4 | SN: 1002- |
|||
| ? | 01642-20508 | • • WASHER | 4 | SN: 1002- |
|||
| ? | 566-54-24160 | • • CHANNEL | 1 | SN: 1002- |
|||
| ? | 01220-30516 | • • SCREW | 2 | SN: 1002- |
|||
| ? | 01601-20513 | • • WASHER | 2 | SN: 1002- |
|||
| ? | 01642-20508 | • • WASHER | 2 | SN: 1002- |
|||
| ? | 01580-10504 | • • NUT | 2 | SN: 1002- |
|||
| ? | 566-54-24810 | • • GRILLE | 1 | SN: 1002- |
|||
| ? | 566-54-24820 | • • SHUTTER ASS'Y | 1 | SN: 1002- |
|||
| ? | 566-54-24740 | • • SHEET | 1 | SN: 1002- |
|||
| ? | 566-54-24180 | • • SEAL | 1 | SN: 1002- |
|||
| ? | 01220-30416 | • • SCREW | 2 | SN: 1002- |
|||
| ? | 01601-20410 | • • WASHER | 2 | SN: 1002- |
|||
| ? | 566-54-24280 | • • RING | 1 | SN: 1002- |
|||
| ? | 566-54-24830 | • • ROD | 1 | SN: 1002- |
|||
| ? | 566-54-24840 | • • SNAP | 2 | SN: 1002- |
