| Номер на схеме | Каталожный номер | Название | Количество | Детали | |||
|---|---|---|---|---|---|---|---|
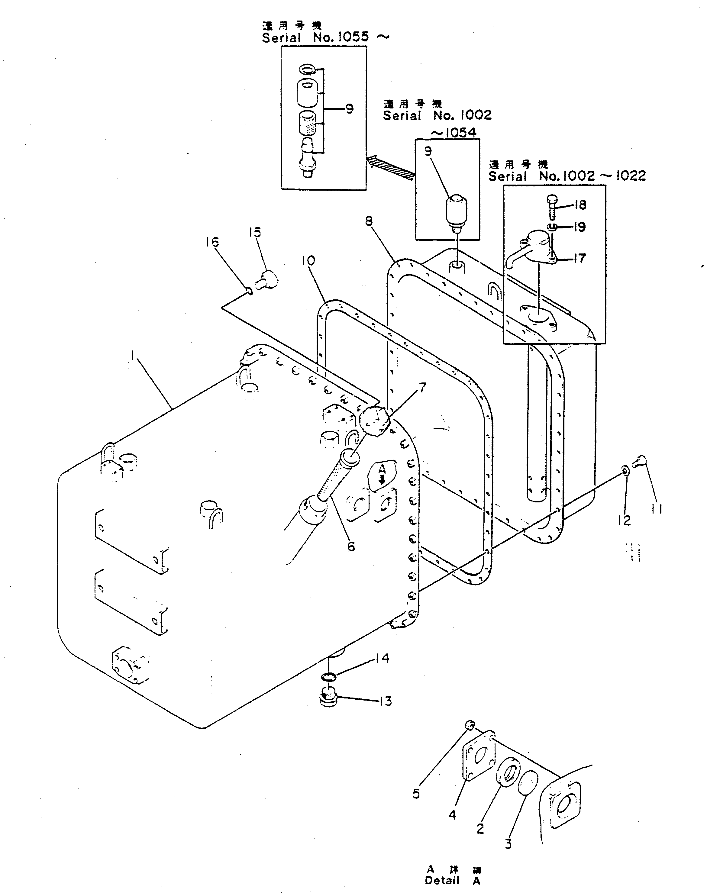
| ? | 568-60-15001 | MAIN TANK ASS'Y | 1 | SN: 1002- KIT-FLAG: _- SERIALNO: 1002- |
|||
| ? | 568-60-15111 | • TANK | 1 | SN: 1002- KIT-FLAG: _- SERIALNO: 1002- |
|||
| ? | 07715-11257 | • RING | 1 | SN: 1023- KIT-FLAG: _- SERIALNO: 1023- |
|||
| ? | 07715-11257 | • RING | 2 | SN: 1002-1022 KIT-FLAG: _- SERIALNO: 1002-1022 |
|||
| ? | 07715-00651 | • COVER | 1 | SN: 1023- KIT-FLAG: _- SERIALNO: 1023- |
|||
| ? | 07715-00651 | • COVER | 2 | SN: 1002-1022 KIT-FLAG: _- SERIALNO: 1002-1022 |
|||
| ? | 07715-21074 | • CASE | 1 | SN: 1023- KIT-FLAG: _- SERIALNO: 1023- |
|||
| ? | 07715-21074 | • CASE | 2 | SN: 1002-1022 KIT-FLAG: _- SERIALNO: 1002-1022 |
|||
| ? | 01598-11011 | • NUT | 4 | SN: 1023- KIT-FLAG: _- SERIALNO: 1023- |
|||
| ? | 01598-11011 | • NUT | 8 | SN: 1002-1022 KIT-FLAG: _- SERIALNO: 1002-1022 |
|||
| ? | 07056-10045 | • STRAINER | 1 | SN: 1002- KIT-FLAG: _- SERIALNO: 1002- |
|||
| ? | 07051-00000 | • CAP | 1 | SN: 1002- KIT-FLAG: _- SERIALNO: 1002- |
|||
| ? | 568-60-15121 | • TANK | 1 | SN: 1023- KIT-FLAG: _- SERIALNO: 1023- |
|||
| ? | 568-60-15120 | • TANK | 1 | SN: 1002-1022 KIT-FLAG: _- SERIALNO: 1002-1022 |
|||
| ? | 566-60-15360 | • BREATHER | 1 | SN: 1055- KIT-FLAG: _- SERIALNO: 1055- |
|||
| ? | 568-60-15330 | • BREATHER | 1 | SN: 1002-1054 KIT-FLAG: _- SERIALNO: 1002-1054 |
|||
| ? | 285-62-17320 | • • ELEMENT | 1 | SN: 1002- KIT-FLAG: _- SERIALNO: 1002- |
|||
| ? | 130-60-13181 | • GASKET | 1 | SN: 1002- KIT-FLAG: _- SERIALNO: 1002- |
|||
| ? | 01010-51025 | • BOLT | 40 | SN: 1002- KIT-FLAG: _- SERIALNO: 1002- |
|||
| ? | 01602-21030 | • WASHER | 40 | SN: 1002- KIT-FLAG: _- SERIALNO: 1002- |
|||
| ? | 07044-13620 | • PLUG | 1 | SN: 1055- KIT-FLAG: _- SERIALNO: 1055- |
|||
| ? | 07044-03620 | • PLUG | 1 | SN: 1002-1054 KIT-FLAG: _- SERIALNO: 1002-1054 |
|||
| ? | 07002-03634 | • O-RING | 1 | SN: 1055- KIT-FLAG: _- SERIALNO: 1055- |
|||
| ? | 07000-23032 | • O-RING | 1 | SN: 1002-1054 KIT-FLAG: _- SERIALNO: 1002-1054 |
|||
| ? | 07040-12012 | • PLUG | 1 | SN: 1002-1054 KIT-FLAG: _- SERIALNO: 1002-1054 |
|||
| ? | 07000-23017 | • O-RING | 1 | SN: 1002-1054 KIT-FLAG: _- SERIALNO: 1002-1054 |
|||
| ? | 568-60-15410 | • COVER | 1 | SN: 1002-1022 KIT-FLAG: _- SERIALNO: 1002-1022 |
|||
| ? | 01010-51016 | • BOLT | 2 | SN: 1002-1022 KIT-FLAG: _- SERIALNO: 1002-1022 |
|||
| ? | 01602-21030 | • WASHER | 2 | SN: 1002-1022 KIT-FLAG: _- SERIALNO: 1002-1022 |
