| Номер на схеме | Каталожный номер | Название | Количество | Детали | |||
|---|---|---|---|---|---|---|---|
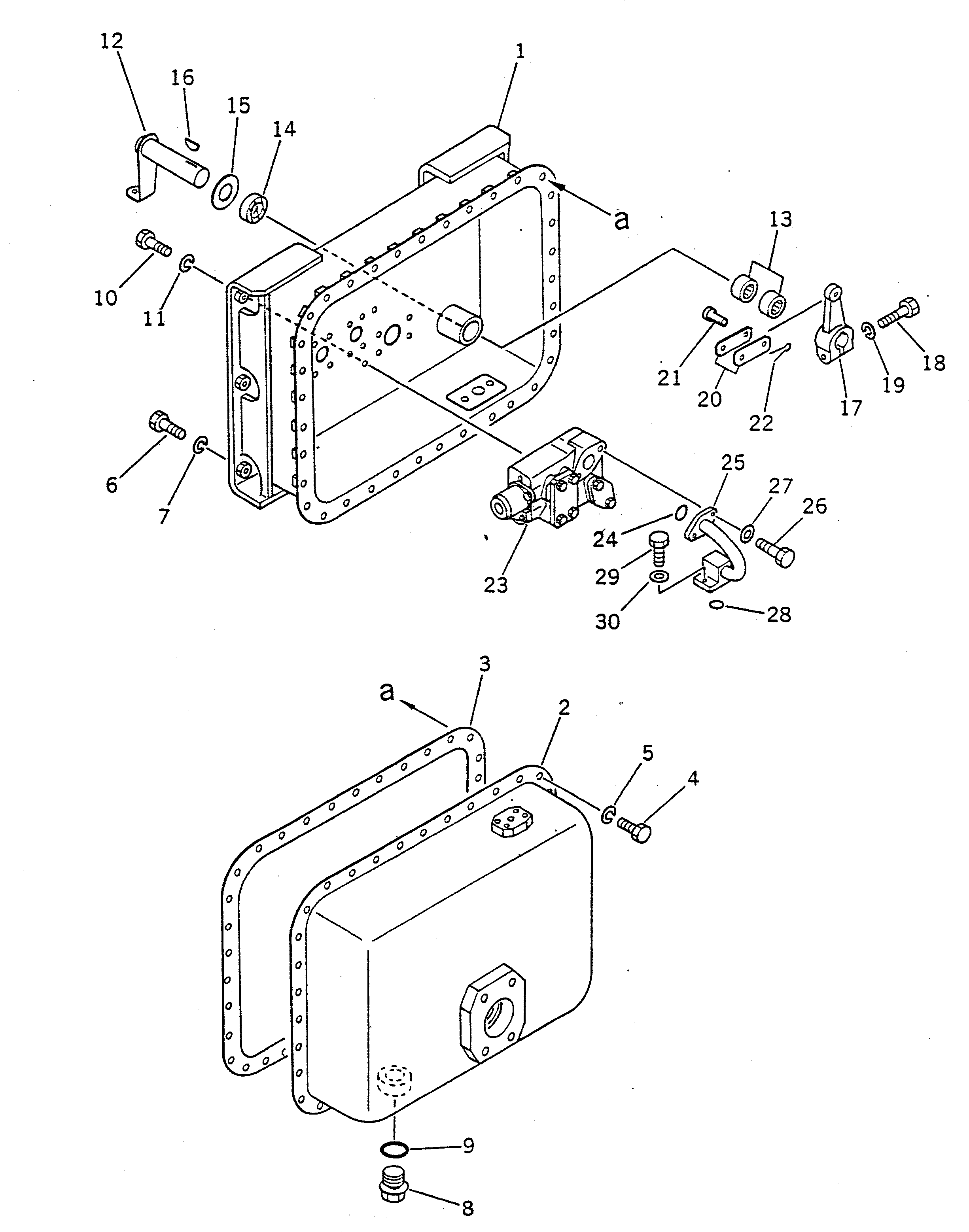
| ? | 568-60-16002 | STEERING TANK ASS'Y | 1 | SN: 1065- KIT-FLAG: _- SERIALNO: 1065- |
|||
| ? | 566-60-16114 | • TANK | 1 | SN: 1079- KIT-FLAG: _- SERIALNO: 1079- |
|||
| ? | 566-60-16121 | • TANK | 1 | SN: 1055- KIT-FLAG: _- SERIALNO: 1055- |
|||
| ? | 281-60-15620 | • GASKET | 1 | SN: 1002- KIT-FLAG: _- SERIALNO: 1002- |
|||
| ? | 01010-51025 | • BOLT | 35 | SN: 1002- KIT-FLAG: _- SERIALNO: 1002- |
|||
| ? | 01602-21030 | • WASHER | 35 | SN: 1002- KIT-FLAG: _- SERIALNO: 1002- |
|||
| ? | 01010-51435 | • BOLT | 6 | SN: 1002- KIT-FLAG: _- SERIALNO: 1002- |
|||
| ? | 01602-21442 | • WASHER | 6 | SN: 1002- KIT-FLAG: _- SERIALNO: 1002- |
|||
| ? | 07044-13620 | • PLUG | 1 | SN: 1065- KIT-FLAG: _- SERIALNO: 1065- |
|||
| ? | 07002-03634 | • O-RING | 1 | SN: 1002- KIT-FLAG: _- SERIALNO: 1002- |
|||
| ? | 01010-51020 | • BOLT | 2 | SN: 1002- KIT-FLAG: _- SERIALNO: 1002- |
|||
| ? | 01602-21030 | • WASHER | 2 | SN: 1002- KIT-FLAG: _- SERIALNO: 1002- |
|||
| ? | 566-60-16211 | • LEVER | 1 | SN: 1002- KIT-FLAG: _- SERIALNO: 1002- |
|||
| ? | 06120-03020 | • BEARING | 2 | SN: 1002- KIT-FLAG: _- SERIALNO: 1002- |
|||
| ? | 566-60-16250 | • SEAL | 1 | SN: 1002- KIT-FLAG: _- SERIALNO: 1002- |
|||
| ? | 01640-23045 | • WASHER | 1 | SN: 1002- KIT-FLAG: _- SERIALNO: 1002- |
|||
| ? | 04010-00732 | • KEY | 1 | SN: 1002- KIT-FLAG: _- SERIALNO: 1002- |
|||
| ? | 04240-12307 | • LEVER | 1 | SN: 1002- KIT-FLAG: _- SERIALNO: 1002- |
|||
| ? | 01010-31245 | • BOLT | 1 | SN: 1002- KIT-FLAG: _- SERIALNO: 1002- |
|||
| ? | 01602-01236 | • WASHER | 1 | SN: 1002- KIT-FLAG: _- SERIALNO: 1002- |
|||
| ? | 281-40-13580 | • PLATE | 2 | SN: 1002- KIT-FLAG: _- SERIALNO: 1002- |
|||
| ? | 04205-01235 | • PIN | 2 | SN: 1002- KIT-FLAG: _- SERIALNO: 1002- |
|||
| ? | 04050-03020 | • PIN | 2 | SN: 1002- KIT-FLAG: _- SERIALNO: 1002- |
|||
| ? | (701-31-28002) | • STEERING VALVE ASS'Y | 1 | SN: 1065- KIT-FLAG: _- SERIALNO: 1065- |
|||
| ? | 07000-03042 | • O-RING | 1 | SN: 1079- KIT-FLAG: _- SERIALNO: 1079- |
|||
| ? | 701-30-67420 | • TUBE | 1 | SN: 1079- KIT-FLAG: _- SERIALNO: 1079- |
|||
| ? | 01010-31440 | • BOLT | 2 | SN: 1079- KIT-FLAG: _- SERIALNO: 1079- |
|||
| ? | 01643-31445 | • WASHER | 2 | SN: 1079- KIT-FLAG: _- SERIALNO: 1079- |
|||
| ? | 07000-03042 | • O-RING | 1 | SN: 1079- KIT-FLAG: _- SERIALNO: 1079- |
|||
| ? | 01010-31030 | • BOLT | 2 | SN: 1079- KIT-FLAG: _- SERIALNO: 1079- |
|||
| ? | 01643-31032 | • WASHER | 2 | SN: 1079- KIT-FLAG: _- SERIALNO: 1079- |
