| Номер на схеме | Каталожный номер | Название | Количество | Детали | |||
|---|---|---|---|---|---|---|---|
| ? | (561-54-64005) | CAB ASS'Y,(FOR JAPAN) | 1 | SN: 5953- KIT-FLAG: _- SERIALNO: 5953- |
|||
| ? | (561-54-64004) | CAB ASS'Y | 1 | SN: 5680-5952 KIT-FLAG: _- SERIALNO: 5680-5952 |
|||
| ? | (561-54-64003) | CAB ASS'Y | 1 | SN: 5485-5679 KIT-FLAG: _- SERIALNO: 5485-5679 |
|||
| ? | (561-54-64002) | CAB ASS'Y,(FOR JAPAN) | 1 | SN: 5001-5484 KIT-FLAG: _- SERIALNO: 5001-5484 |
|||
| ? | (561-54-62006) | CAB ASS'Y,(EXCEPT JAPAN) | 1 | SN: 5953- KIT-FLAG: _- SERIALNO: 5953- |
|||
| ? | (561-54-62005) | CAB ASS'Y | 1 | SN: 5680-5952 KIT-FLAG: _- SERIALNO: 5680-5952 |
|||
| ? | (561-54-62004) | CAB ASS'Y | 1 | SN: 5485-5679 KIT-FLAG: _- SERIALNO: 5485-5679 |
|||
| ? | (561-54-62003) | CAB ASS'Y,(EXCEPT JAPAN) | 1 | SN: 5001-5484 KIT-FLAG: _- SERIALNO: 5001-5484 |
|||
| ? | (561-54-62A04) | CAB ASS'Y,(TINTED GLASS) | 1 | SN: 5953- KIT-FLAG: _- SERIALNO: 5953- |
|||
| ? | (561-54-62A03) | CAB ASS'Y | 1 | SN: 5680-5952 KIT-FLAG: _- SERIALNO: 5680-5952 |
|||
| ? | (561-54-62A02) | CAB ASS'Y | 1 | SN: 5485-5679 KIT-FLAG: _- SERIALNO: 5485-5679 |
|||
| ? | (561-54-62A01) | CAB ASS'Y,(TINTED GLASS) | 1 | SN: 5001-5484 KIT-FLAG: _- SERIALNO: 5001-5484 |
|||
| ? | 561-54-64A03 | CAB ASS'Y,(TINTED GLASS AND SUN VISOR) | 1 | SN: 5953- KIT-FLAG: _- SERIALNO: 5953- |
|||
| ? | 561-54-62E03 | CAB ASS'Y,(DEFROST GLASS) | 1 | SN: 5953- KIT-FLAG: _- SERIALNO: 5953- |
|||
| ? | 561-54-64E02 | CAB ASS'Y,(DEFROST GLASS AND SUN VISOR) | 1 | SN: 5953- KIT-FLAG: _- SERIALNO: 5953- |
|||
| ? | THESE ASSEMBLIES CONSIST OF ALL PARTS SHOWN IN FIGS.5401 TO 5404. | SERIALNO: |
|||||
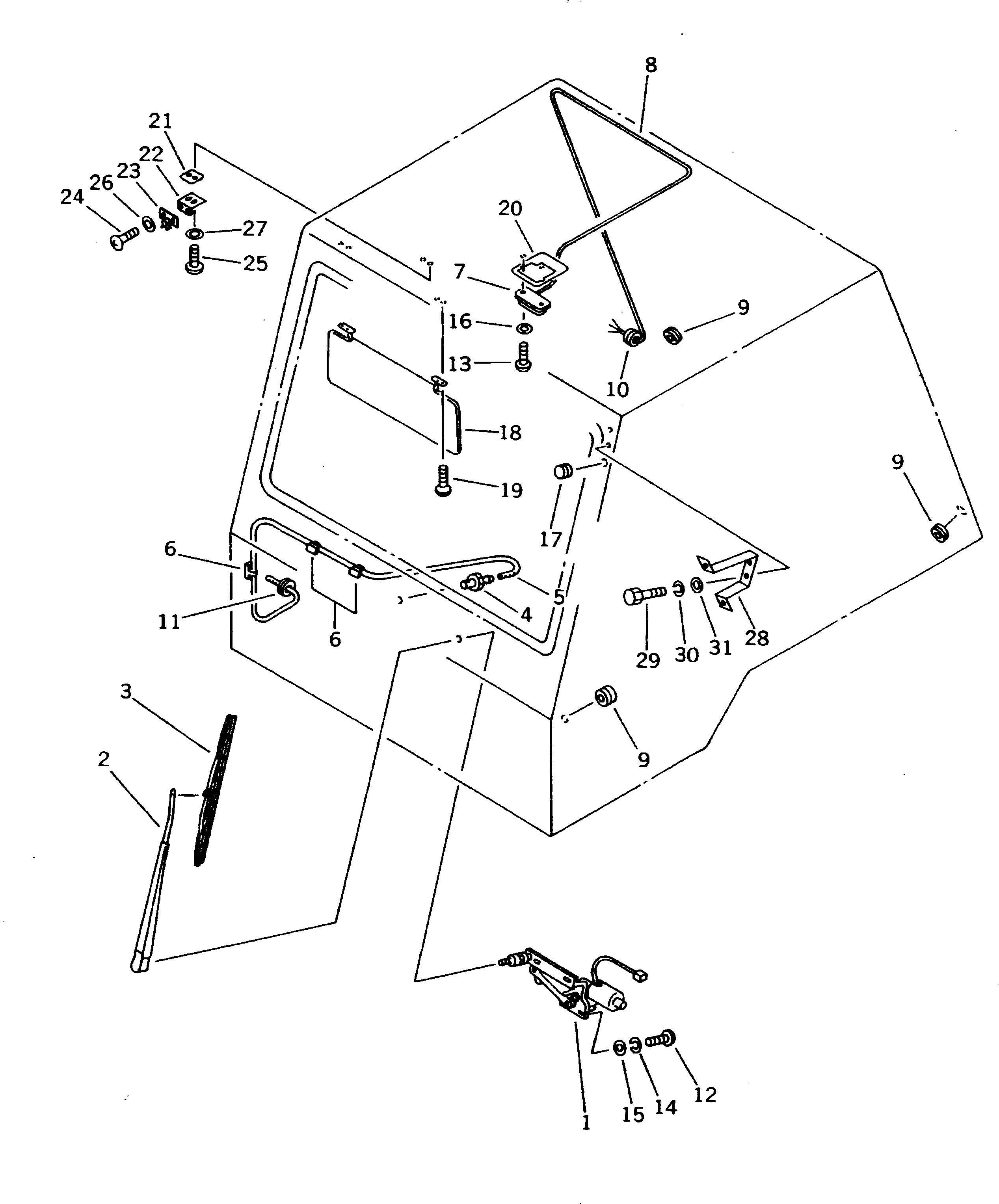
| ? | 561-54-64440 | • MOTOR ASS'Y,WIPER | 1 | SN: 5001- KIT-FLAG: _- SERIALNO: 5001- |
|||
| ? | ☆ | • • MOTOR | 1 | SN: 5001- KIT-FLAG: _- SERIALNO: 5001- |
|||
| ? | 561-54-64410 | • ARM,WIPER | 1 | SN: 5001- KIT-FLAG: _- SERIALNO: 5001- |
|||
| ? | 561-54-64420 | • BLADE | 1 | SN: 5001- KIT-FLAG: _- SERIALNO: 5001- |
|||
| ? | 421-54-15430 | • NOZZLE | 1 | SN: 5001- KIT-FLAG: _- SERIALNO: 5001- |
|||
| ? | 561-54-64430 | • HOSE | 1 | SN: 5001- KIT-FLAG: _- SERIALNO: 5001- |
|||
| ? | 421-54-15520 | • CLIP | 3 | SN: 5001- KIT-FLAG: _- SERIALNO: 5001- |
|||
| ? | 581-54-23880 | • LAMP,ROOM | 1 | SN: 5001- KIT-FLAG: _- SERIALNO: 5001- |
|||
| ? | 581-54-23890 | • • LENS | 1 | SN: 5001- KIT-FLAG: _- SERIALNO: 5001- |
|||
| ? | 08116-02410 | • • BULB, 10W | 2 | SN: 5001- KIT-FLAG: _- SERIALNO: 5001- |
|||
| ? | 561-06-61350 | • CABLE | 1 | SN: 5001- KIT-FLAG: _- SERIALNO: 5001- |
|||
| ? | 561-54-64460 | • GROMMET | 5 | SN: 5001- KIT-FLAG: _- SERIALNO: 5001- |
|||
| ? | 561-54-64470 | • GROMMET | 3 | SN: 5001- KIT-FLAG: _- SERIALNO: 5001- |
|||
| ? | 561-54-64480 | • GROMMET | 1 | SN: 5001- KIT-FLAG: _- SERIALNO: 5001- |
|||
| ? | 01220-40616 | • SCREW | 4 | SN: 5001- KIT-FLAG: _- SERIALNO: 5001- |
|||
| ? | 561-54-64810 | • SCREW | 2 | SN: 5838- KIT-FLAG: _- SERIALNO: 5838- |
|||
| ? | (☒01220-40520) | • SCREW | 2 | SN: (5001-5837) KIT-FLAG: _- SERIALNO: (5001-5837) |
|||
| ? | 01602-20619 | • WASHER,SPRING | 4 | SN: 5001- KIT-FLAG: _- SERIALNO: 5001- |
|||
| ? | 01641-20608 | • WASHER | 4 | SN: 5001- KIT-FLAG: _- SERIALNO: 5001- |
|||
| ? | 01641-20508 | • WASHER | 2 | SN: 5001- KIT-FLAG: _- SERIALNO: 5001- |
|||
| ? | 561-54-64450 | • GROMMET | 1 | SN: 5001- KIT-FLAG: _- SERIALNO: 5001- |
|||
| ? | 561-54-62191 | • SUNVISOR,(ADD, SUN VISOR) | 2 | SN: 5001- KIT-FLAG: _- SERIALNO: 5001- |
|||
| ? | 561-54-62191 | • SUNVISOR | 1 | SN: 5001- KIT-FLAG: _- SERIALNO: 5001- |
|||
| ? | 01225-40520 | • SCREW,(ADD, SUN VISOR) | 8 | SN: .- KIT-FLAG: _- SERIALNO: .- |
|||
| ? | 01225-40520 | • SCREW | 4 | SN: 5001-. KIT-FLAG: _- SERIALNO: 5001-. |
|||
| ? | 561-54-64670 | • PLATE | 1 | SN: 5001- KIT-FLAG: _- SERIALNO: 5001- |
|||
| ? | 561-54-64680 | • PLATE,(ADD, SUN VISOR) | 2 | SN: 5001- KIT-FLAG: _- SERIALNO: 5001- |
|||
| ? | 561-54-64680 | • PLATE | 1 | SN: 5001- KIT-FLAG: _- SERIALNO: 5001- |
|||
| ? | 561-54-62980 | • LOCK,(ADD, SUN VISOR) | 2 | SN: 5001- KIT-FLAG: _- SERIALNO: 5001- |
|||
| ? | 561-54-62980 | • LOCK | 1 | SN: 5001- KIT-FLAG: _- SERIALNO: 5001- |
|||
| ? | 561-54-62990 | • CATCHER,(ADD, SUN VISOR) | 2 | SN: 5001- KIT-FLAG: _- SERIALNO: 5001- |
|||
| ? | 561-54-62990 | • CATCHER | 1 | SN: 5001- KIT-FLAG: _- SERIALNO: 5001- |
|||
| ? | 01220-40306 | • SCREW,(ADD, SUN VISOR) | 4 | SN: 5001- KIT-FLAG: _- SERIALNO: 5001- |
|||
| ? | 01220-40306 | • SCREW | 2 | SN: 5001- KIT-FLAG: _- SERIALNO: 5001- |
|||
| ? | 01220-40512 | • SCREW,(ADD, SUN VISOR) | 4 | SN: 5001- KIT-FLAG: _- SERIALNO: 5001- |
|||
| ? | 01220-40512 | • SCREW | 2 | SN: 5001- KIT-FLAG: _- SERIALNO: 5001- |
|||
| ? | 01641-20305 | • WASHER,(ADD, SUN VISOR) | 4 | SN: 5001- KIT-FLAG: _- SERIALNO: 5001- |
|||
| ? | 01641-20305 | • WASHER | 2 | SN: 5001- KIT-FLAG: _- SERIALNO: 5001- |
|||
| ? | 01641-20508 | • WASHER,(ADD, SUN VISOR) | 4 | SN: 5001- KIT-FLAG: _- SERIALNO: 5001- |
|||
| ? | 01641-20508 | • WASHER | 2 | SN: 5001- KIT-FLAG: _- SERIALNO: 5001- |
|||
| ? | 561-54-62841 | • BRACKET,(ADD, SUN VISOR) | 1 | SN: 5001- KIT-FLAG: _- SERIALNO: 5001- |
|||
| ? | 01010-50820 | • BOLT | 2 | SN: 5001- KIT-FLAG: _- SERIALNO: 5001- |
|||
| ? | 01602-20619 | • WASHER | 2 | SN: 5001- KIT-FLAG: _- SERIALNO: 5001- |
|||
| ? | 01641-20608 | • WASHER | 2 | SN: 5001- KIT-FLAG: _- SERIALNO: 5001- |
