| Номер на схеме | Каталожный номер | Название | Количество | Детали | |||
|---|---|---|---|---|---|---|---|
| ? | (561-54-64005) | CAB ASS'Y,(FOR JAPAN) | 1 | SN: 1181- KIT-FLAG: _- SERIALNO: 1181- |
|||
| ? | (561-54-64002) | CAB ASS'Y,(FOR JAPAN) | 1 | SN: 1001-. KIT-FLAG: _- SERIALNO: 1001-. |
|||
| ? | (561-54-62006) | CAB ASS'Y,(EXCEPT JAPAN) | 1 | SN: 1181- KIT-FLAG: _- SERIALNO: 1181- |
|||
| ? | (561-54-62003) | CAB ASS'Y,(EXCEPT JAPAN) | 1 | SN: 1001-. KIT-FLAG: _- SERIALNO: 1001-. |
|||
| ? | (561-54-62A04) | CAB ASS'Y,(TINTED GLASS) | 1 | SN: 1181- KIT-FLAG: _- SERIALNO: 1181- |
|||
| ? | (561-54-62A01) | CAB ASS'Y,(TINTED GLASS) | 1 | SN: 1001-. KIT-FLAG: _- SERIALNO: 1001-. |
|||
| ? | 561-54-64A03 | CAB ASS'Y,(TINTED GLASS AND SUN VISOR) | 1 | SN: 1181- KIT-FLAG: _- SERIALNO: 1181- |
|||
| ? | 561-54-62E03 | CAB ASS'Y,(DEFROST GLASS) | 1 | SN: 1181- KIT-FLAG: _- SERIALNO: 1181- |
|||
| ? | 561-54-64E02 | CAB ASS'Y,(DEFROST GLASS AND SUN VISOR) | 1 | SN: 1181- KIT-FLAG: _- SERIALNO: 1181- |
|||
| ? | THESE ASSEMBLIES CONSIST OF ALL PARTS SHOWN IN FIGS.5401 TO 5404. | SERIALNO: |
|||||
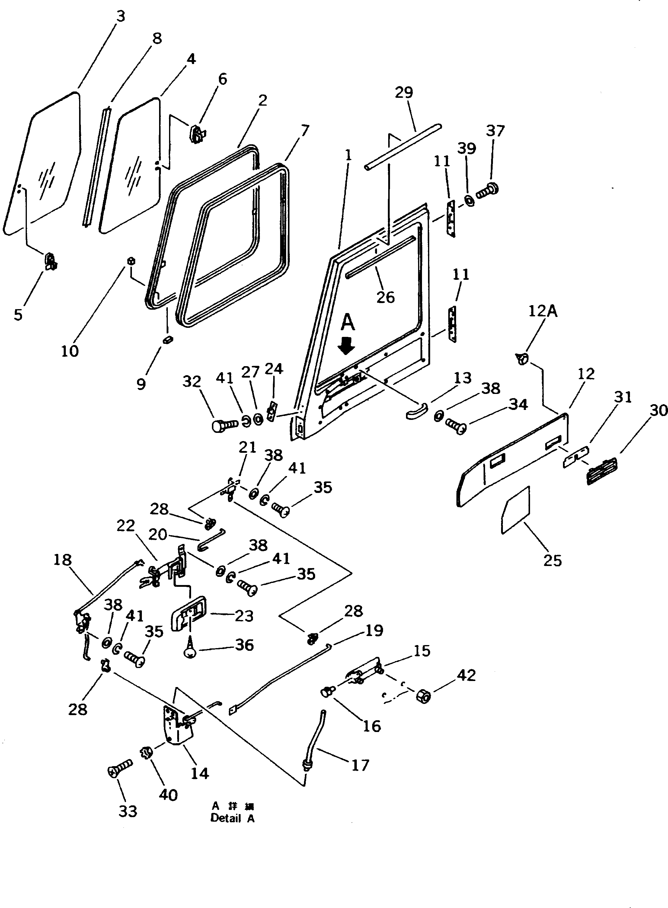
| ? | 561-54-62303 | • DOOR ASS'Y,R.H. | 1 | SN: 1181- KIT-FLAG: _- SERIALNO: 1181- |
|||
| ? | 561-54-62302 | • DOOR ASS'Y,R.H. | 1 | SN: 1001-1180 KIT-FLAG: _- SERIALNO: 1001-1180 |
|||
| ? | 561-54-62D00 | • DOOR ASS'Y,R.H. (TINTED GLASS) | 1 | SN: 1001- KIT-FLAG: _- SERIALNO: 1001- |
|||
| ? | 561-54-62611 | • • DOOR ASS'Y | 1 | SN: 1001- KIT-FLAG: _- SERIALNO: 1001- |
|||
| ? | 561-54-62901 | • • SASH ASS'Y | 1 | SN: 1181- KIT-FLAG: _- SERIALNO: 1181- |
|||
| ? | 561-54-62900 | • • SASH ASS'Y | 1 | SN: 1001-1180 KIT-FLAG: _- SERIALNO: 1001-1180 |
|||
| ? | 561-94-62900 | • • SASH ASS'Y,(TINTED GLASS) | 1 | SN: 1001-1180 KIT-FLAG: _- SERIALNO: 1001-1180 |
|||
| ? | 561-54-62931 | • • • SASH | 1 | SN: 1001- KIT-FLAG: _- SERIALNO: 1001- |
|||
| ? | 561-54-62522 | • • • GLASS,FRONT | 1 | SN: 1181- KIT-FLAG: _- SERIALNO: 1181- |
|||
| ? | 561-54-62521 | • • • GLASS,FRONT | 1 | SN: 1001-1180 KIT-FLAG: _- SERIALNO: 1001-1180 |
|||
| ? | 561-94-62240 | • • • GLASS,FRONT (TINTED GLASS) | 1 | SN: 1001-1180 KIT-FLAG: _- SERIALNO: 1001-1180 |
|||
| ? | 561-54-62542 | • • • GLASS,REAR | 1 | SN: 1181- KIT-FLAG: _- SERIALNO: 1181- |
|||
| ? | 561-54-62541 | • • • GLASS,REAR | 1 | SN: 1001-1180 KIT-FLAG: _- SERIALNO: 1001-1180 |
|||
| ? | 561-94-62250 | • • • GLASS,REAR (TINTED GLASS) | 1 | SN: 1001-1180 KIT-FLAG: _- SERIALNO: 1001-1180 |
|||
| ? | 561-54-64690 | • • • LOCK,FRONT | 1 | SN: 1001- KIT-FLAG: _- SERIALNO: 1001- |
|||
| ? | 20Y-54-13322 | • • • LOCK ASS'Y,REAR | 1 | SN: 1001- KIT-FLAG: _- SERIALNO: 1001- |
|||
| ? | 561-54-62551 | • • • CHANNEL | 1 | SN: 1001- KIT-FLAG: _- SERIALNO: 1001- |
|||
| ? | 561-54-62531 | • • • WEATHER STRIP | 1 | SN: 1001- KIT-FLAG: _- SERIALNO: 1001- |
|||
| ? | 561-54-64580 | • • • CUSHION | 1 | SN: 1001- KIT-FLAG: _- SERIALNO: 1001- |
|||
| ? | 561-54-64590 | • • • STOPPER | 1 | SN: 1001- KIT-FLAG: _- SERIALNO: 1001- |
|||
| ? | 561-54-64270 | • • HINGE ASS'Y | 1 | SN: 1001- KIT-FLAG: _- SERIALNO: 1001- |
|||
| ? | 561-54-62622 | • • PAD,R.H. | 1 | SN: 1001- KIT-FLAG: _- SERIALNO: 1001- |
|||
| ? | 419-54-16730 | • • • CLIP,TRIM | 11 | SN: 1001- KIT-FLAG: _- SERIALNO: 1001- |
|||
| ? | 205-52-72220 | • • HANDLE | 1 | SN: 1001- KIT-FLAG: _- SERIALNO: 1001- |
|||
| ? | 561-54-62683 | • • LOCK ASS'Y,R.H. | 1 | SN: 1001- KIT-FLAG: _- SERIALNO: 1001- |
|||
| ? | 561-54-64320 | • • HANDLE,R.H. | 1 | SN: 1001- KIT-FLAG: _- SERIALNO: 1001- |
|||
| ? | 561-54-64330 | • • PIN | 1 | SN: 1001- KIT-FLAG: _- SERIALNO: 1001- |
|||
| ? | 561-54-64340 | • • ROD | 1 | SN: 1001- KIT-FLAG: _- SERIALNO: 1001- |
|||
| ? | 561-54-64380 | • • LINK | 1 | SN: 1001- KIT-FLAG: _- SERIALNO: 1001- |
|||
| ? | 561-54-64372 | • • LINK | 1 | SN: 1001- KIT-FLAG: _- SERIALNO: 1001- |
|||
| ? | 561-54-64360 | • • LINK | 1 | SN: 1001- KIT-FLAG: _- SERIALNO: 1001- |
|||
| ? | 561-54-64391 | • • BRACKET | 1 | SN: 1001- KIT-FLAG: _- SERIALNO: 1001- |
|||
| ? | 561-54-64520 | • • HANDLE,INSIDE, R.H. | 1 | SN: 1001- KIT-FLAG: _- SERIALNO: 1001- |
|||
| ? | 561-54-64540 | • • CASE | 1 | SN: 1001- KIT-FLAG: _- SERIALNO: 1001- |
|||
| ? | 566-54-23470 | • • DOVE TAIL | 1 | SN: 1001- KIT-FLAG: _- SERIALNO: 1001- |
|||
| ? | 561-54-62330 | • • COVER,VINYL | 1 | SN: 1001- KIT-FLAG: _- SERIALNO: 1001- |
|||
| ? | 561-54-62371 | • • FINISHER,DOOR | 1 | SN: 1001- KIT-FLAG: _- SERIALNO: 1001- |
|||
| ? | 01643-30623 | • • WASHER | 2 | SN: 1001- KIT-FLAG: _- SERIALNO: 1001- |
|||
| ? | 421-56-11611 | • • HOOK | 2 | SN: 1001- KIT-FLAG: _- SERIALNO: 1001- |
|||
| ? | 561-54-62180 | • • SEAL | 1 | SN: 1001- KIT-FLAG: _- SERIALNO: 1001- |
|||
| ? | 566-54-44810 | • • GRILLE | 1 | SN: 1001- KIT-FLAG: _- SERIALNO: 1001- |
|||
| ? | 566-54-44820 | • • SHUTTER | 1 | SN: 1001- KIT-FLAG: _- SERIALNO: 1001- |
|||
| ? | 01010-50625 | • • BOLT | 2 | SN: 1001- KIT-FLAG: _- SERIALNO: 1001- |
|||
| ? | 01225-40625 | • • SCREW | 3 | SN: 1001- KIT-FLAG: _- SERIALNO: 1001- |
|||
| ? | 01220-40625 | • • SCREW | 2 | SN: 1001- KIT-FLAG: _- SERIALNO: 1001- |
|||
| ? | 01220-40616 | • • SCREW | 6 | SN: 1001- KIT-FLAG: _- SERIALNO: 1001- |
|||
| ? | 421-56-11860 | • • SCREW | 1 | SN: 1001- KIT-FLAG: _- SERIALNO: 1001- |
|||
| ? | 561-54-64250 | • • SCREW | 20 | SN: 1001- KIT-FLAG: _- SERIALNO: 1001- |
|||
| ? | 01641-20608 | • • WASHER | 8 | SN: 1001- KIT-FLAG: _- SERIALNO: 1001- |
|||
| ? | 421-54-15760 | • • WASHER | 20 | SN: 1001- KIT-FLAG: _- SERIALNO: 1001- |
|||
| ? | 421-54-16440 | • • WASHER | 3 | SN: 1001- KIT-FLAG: _- SERIALNO: 1001- |
|||
| ? | 01602-20619 | • • WASHER,SPRING | 8 | SN: 1001- KIT-FLAG: _- SERIALNO: 1001- |
|||
| ? | 01584-10605 | • • NUT | 2 | SN: 1001- KIT-FLAG: _- SERIALNO: 1001- |
