k-part
Номер на схеме Каталожный номер Название Количество Детали
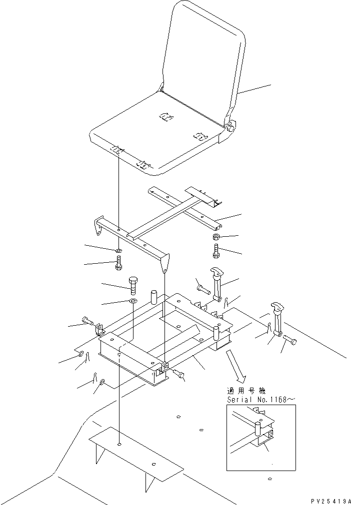
? 561-88-66881 BRACKET 1
SN: 1168-
KIT-FLAG: _-
SERIALNO: 1168-
? 561-88-66880 BRACKET 1
SN: 1001-1167
KIT-FLAG: _-
SERIALNO: 1001-1167
? 561-86-6L311 SEAT ASS'Y 1
SN: .-
KIT-FLAG: _-
SERIALNO: .-
? 561-86-6L310 SEAT 1
SN: 1001-.
KIT-FLAG: _-
SERIALNO: 1001-.
? 561-86-6L320 BRACKET 1
SN: 1001-
KIT-FLAG: _-
SERIALNO: 1001-
? 01010-80820 BOLT 4
SN: 1001-
KIT-FLAG: _-
SERIALNO: 1001-
? 01643-30823 WASHER 4
SN: 1001-
KIT-FLAG: _-
SERIALNO: 1001-
? 04205-11232 PIN 2
SN: 1001-
KIT-FLAG: _-
SERIALNO: 1001-
? 01641-21223 WASHER 2
SN: 1001-
KIT-FLAG: _-
SERIALNO: 1001-
? 04050-13022 PIN,COTTER 2
SN: 1001-
KIT-FLAG: _-
SERIALNO: 1001-
? 01010-81035 BOLT 2
SN: 1001-
KIT-FLAG: _-
SERIALNO: 1001-
? 01580-11008 NUT 2
SN: 1001-
KIT-FLAG: _-
SERIALNO: 1001-
? 09450-00000 CATCH 2
SN: 1001-
KIT-FLAG: _-
SERIALNO: 1001-
? 09450-00002 PIN 2
SN: 1001-
KIT-FLAG: _-
SERIALNO: 1001-
? 04050-11610 PIN,COTTER 2
SN: 1001-
KIT-FLAG: _-
SERIALNO: 1001-
? 01010-81225 BOLT 4
SN: 1001-
KIT-FLAG: _-
SERIALNO: 1001-
? 01643-31232 WASHER 4
SN: 1001-
KIT-FLAG: _-
SERIALNO: 1001-

Dump Trucks Komatsu / HD405-6 S/N 1001-UP(hd405-6c) / AUXILIARY SEAT (WITH AUTO RETARDER)(150540 : 5321)
?
?
?
?
?
?
?
?
?
?
?
?
?
?
?
?
?
?
?
?
?
?