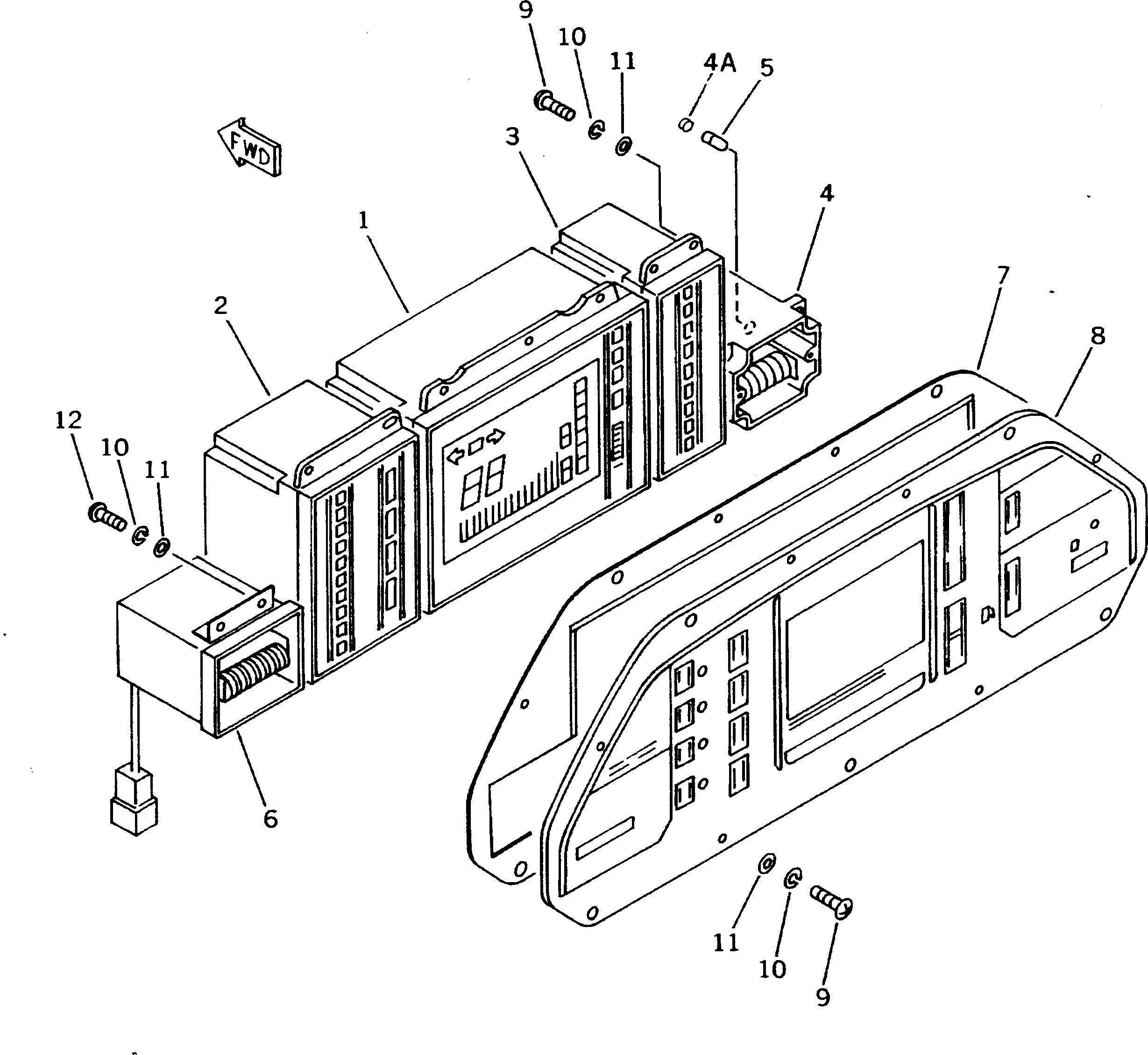
| Номер на схеме | Каталожный номер | Название | Количество | Детали | |||
|---|---|---|---|---|---|---|---|
| ? | 7831-31-2001 | PANEL ASS'Y,(FOR JAPAN) | 1 | SN: 1001-1054 |
|||
| ? | 7831-32-4001 | PANEL ASS'Y,(EXCEPT JAPAN) | 1 | SN: 1001-1054 |
|||
| ? | 7831-32-6000 | PANEL ASS'Y,(FOR EC REGULATION) | 1 | SN: 1001-1054 |
|||
| ? | 7831-31-5101 | MODULE,(FOR JAPAN) | 1 | SN: 1001-1054 |
|||
| ? | 7831-32-5102 | MODULE,(EXCEPT JAPAN) | 1 | SN: 1001-1054 |
|||
| ? | 7831-31-6100 | MODULE | 1 | SN: 1001-1054 |
|||
| ? | 7831-31-7100 | MODULE | 1 | SN: 1001-@ |
|||
| ? | 7831-31-8000 | SERVICE METER ASS'Y | 1 | SN: 1001-@ |
|||
| ? | 7861-01-1820 | • SOCKET | 1 | SN: 1001-@ |
|||
| ? | 7815-11-1010 | • BULB¤ 1.4W | 1 | SN: 1001-@ |
|||
| ? | 7831-31-9100 | ODOMETER | 1 | SN: 1001-@ |
|||
| ? | 7831-31-2100 | PLATE | 1 | SN: 1001-@ |
|||
| ? | 7831-31-2200 | PLATE,(FOR JAPAN) | 1 | SN: 1001-1054 |
|||
| ? | 7831-32-4200 | PLATE,(EXCEPT JAPAN) | 1 | SN: 1001-1054 |
|||
| ? | 7831-32-6200 | PLATE,(FOR EC REGULATION) | 1 | SN: 1001-1054 |
|||
| ? | 01235-40412 | SCREW | 24 | SN: 1001-1054 |
|||
| ? | 01601-20410 | WASHER,SPRING | 28 | SN: 1001-1054 |
|||
| ? | 01641-20405 | WASHER | 28 | SN: 1001-1054 |
|||
| ? | 01235-40408 | SCREW | 4 | SN: 1001-1054 |
