| Номер на схеме | Каталожный номер | Название | Количество | Детали | |||
|---|---|---|---|---|---|---|---|
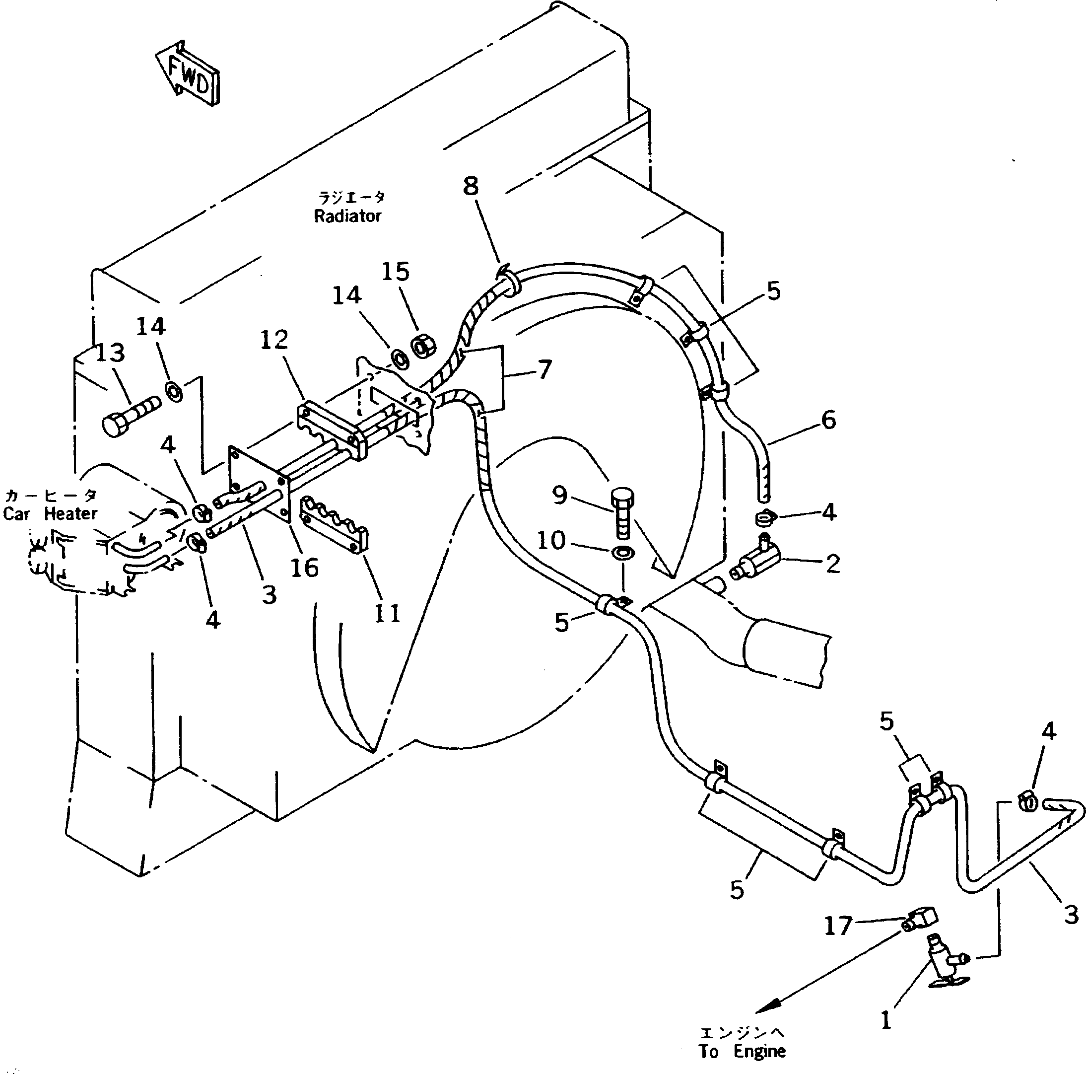
| ? | 09482-20000 | VALVE | 1 | SN: 1001-@ |
|||
| ? | 561-07-63260 | JOINT | 1 | SN: 1001-@ |
|||
| ? | 09483-40428 | HOSE | 1 | SN: 1001-@ |
|||
| ? | 07281-00259 | CLAMP | 4 | SN: 1001-@ |
|||
| ? | 08036-02514 | CLIP | 8 | SN: 1001-@ |
|||
| ? | 09483-40422 | HOSE | 1 | SN: 1001-@ |
|||
| ? | 565-04-11420 | TUBE,SPIRAL | 2 | SN: 1001-@ |
|||
| ? | 08034-00519 | BAND | 1 | SN: 1001-@ |
|||
| ? | 01010-51020 | BOLT | 1 | SN: 1001-@ |
|||
| ? | 01643-31032 | WASHER | 1 | SN: 1001-@ |
|||
| ? | 569-07-61540 | CLAMP | 1 | SN: 1001-1054 |
|||
| ? | 569-07-61550 | CLAMP | 1 | SN: 1001-1054 |
|||
| ? | 01010-51045 | BOLT | 4 | SN: 1001-@ |
|||
| ? | 01643-31032 | WASHER | 8 | SN: 1001-1054 |
|||
| ? | 01580-11008 | NUT | 4 | SN: 1001-1054 |
|||
| ? | 561-07-63210 | PLATE | 1 | SN: 1001-1054 |
|||
| ? | 561-07-45120 | ELBOW | 1 | SN: 1001-@ |
