| Номер на схеме | Каталожный номер | Название | Количество | Детали | |||
|---|---|---|---|---|---|---|---|
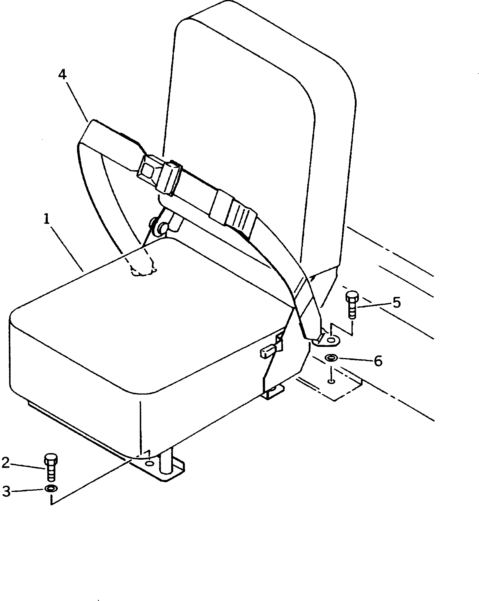
| ? | 561-57-63102 | SEAT ASS'Y | 1 | SN: 1001- |
|||
| ? | 561-57-64100 | SEAT ASS'Y,(DELUXE) | 1 | SN: 1001- |
|||
| ? | 01010-81225 | BOLT | 4 | SN: 2034- |
|||
| ? | 01010-51225 | BOLT | 4 | SN: 1001-2033 |
|||
| ? | 01643-31232 | WASHER | 4 | SN: 1001- |
|||
| ? | 09409-10001 | BELT¤ LAP | 1 | SN: .- |
|||
| ? | 566-57-15400 | SEAT BELT ASS'Y | 1 | SN: 1001-. |
|||
| ? | 01010-51240 | BOLT | 2 | SN: 1001- |
|||
| ? | 01580-11210 | NUT | 2 | SN: 1001- |
