| Номер на схеме | Каталожный номер | Название | Количество | Детали | |||
|---|---|---|---|---|---|---|---|
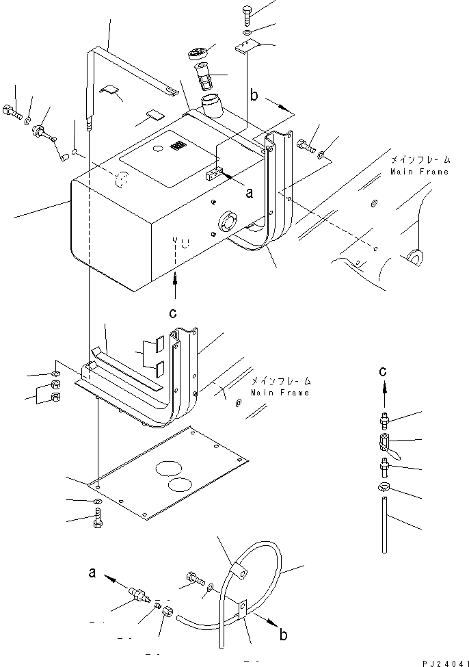
| ? | 566-04-6A112 | TANK | 1 | SN: 2001- |
|||
| ? | 566-04-6A111 | TANK | 1 | SN: 1001-1999 |
|||
| ? | 566-04-11154 | GAUGE UNIT | 1 | SN: 1001- |
|||
| ? | 07000-13045 | O-RING | 1 | SN: .- |
|||
| ? | □07000-03045 | O-RING | 1 | SN: 1001-. |
|||
| ? | 01252-40620 | BOLT | 4 | SN: 1001- |
|||
| ? | 01602-20619 | WASHER | 4 | SN: 1001- |
|||
| ? | 20Y-04-11160 | CAP | 1 | SN: 1001- |
|||
| ? | 07056-18416 | STRAINER | 1 | SN: 1001- |
|||
| ? | 566-04-13270 | COVER | 1 | SN: 1001- |
|||
| ? | 01010-81020 | BOLT | 2 | SN: 1001- |
|||
| ? | 01643-31032 | WASHER | 2 | SN: 1001- |
|||
| ? | 566-04-13316 | COVER | 1 | SN: 1001- |
|||
| ? | 01010-81220 | BOLT | 6 | SN: 1001- |
|||
| ? | 01643-31232 | WASHER | 6 | SN: 1001- |
|||
| ? | 566-04-41131 | BAND | 2 | SN: 1001- |
|||
| ? | 01580-11210 | NUT | 4 | SN: 1001- |
|||
| ? | 01643-31232 | WASHER | 2 | SN: 1001- |
|||
| ? | 566-04-41142 | HANGER,FRONT | 1 | SN: 1001- |
|||
| ? | 566-04-6A120 | HANGER,REAR | 1 | SN: 1001- |
|||
| ? | 566-04-41180 | PAD | 4 | SN: 1001- |
|||
| ? | 566-04-13143 | PAD | 2 | SN: 1001- |
|||
| ? | 566-04-13150 | PAD | 4 | SN: 1001- |
|||
| ? | 01010-82040 | BOLT | 8 | SN: 1001- |
|||
| ? | 01643-32060 | WASHER | 8 | SN: 1001- |
|||
| ? | 07836-00617 | CONNECTOR | 1 | SN: 1001- |
|||
| ? | 07831-00612 | SLEEVE | 1 | SN: 1001- |
|||
| ? | 07832-00614 | NUT | 1 | SN: 1001- |
|||
| ? | 07822-00614 | TUBE | 1 | SN: 1001- |
|||
| ? | 08036-01014 | CLIP | 2 | SN: 1001- |
|||
| ? | 01010-81020 | BOLT | 2 | SN: 1001- |
|||
| ? | 01643-31032 | WASHER | 2 | SN: 1001- |
|||
| ? | 430-07-27120 | NIPPLE | 1 | SN: 1001- |
|||
| ? | 07700-50345 | VALVE | 1 | SN: 1001- |
|||
| ? | 6138-55-7610 | NIPPLE | 1 | SN: 1001- |
|||
| ? | 07270-01015 | TUBE | 1 | SN: 1001- |
|||
| ? | 07281-10167 | CLAMP | 1 | SN: 1001- |