| Номер на схеме | Каталожный номер | Название | Количество | Детали | |||
|---|---|---|---|---|---|---|---|
| ? | 701-31-24003 | VALVE ASS'Y | 1 | SN: 1035-@ |
|||
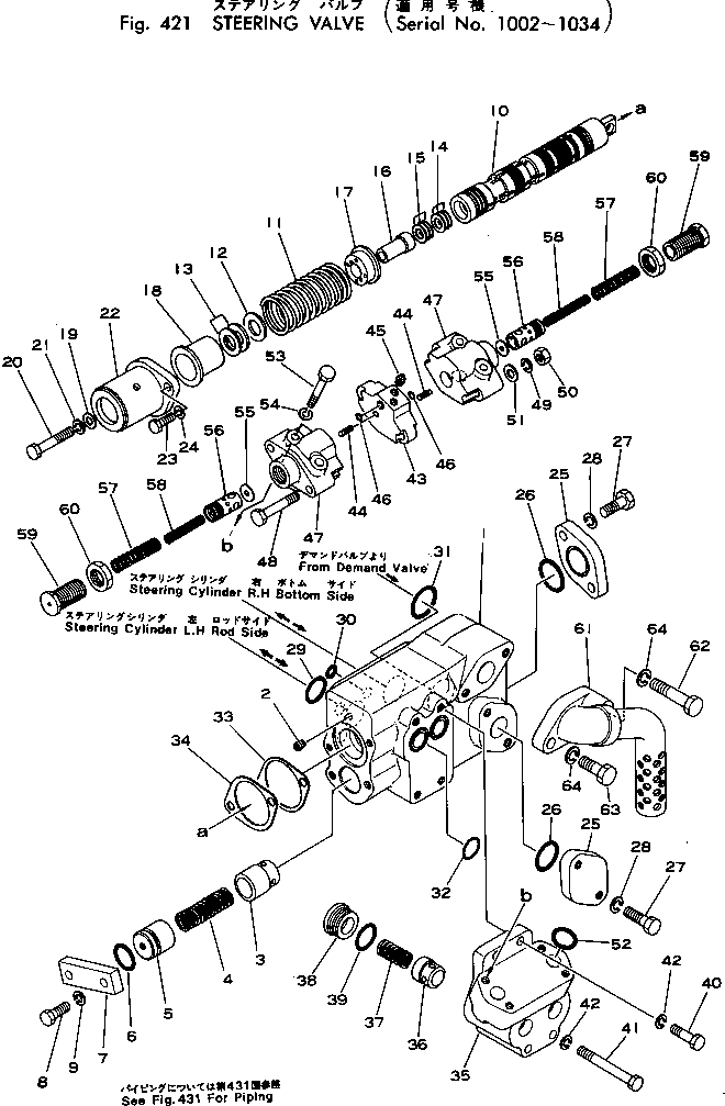
| ? | □701-31-24002 | VALVE ASS'Y | 1 | SN: 1002-1034 |
|||
| ? | 701-31-39003 | • BODY ASS'Y | 1 | SN: 1035-@ |
|||
| ? | □701-31-39002 | • BODY ASS'Y | 1 | SN: 1002-1034 |
|||
| ? | ☆ | • • BODY | 1 | SN: 1002-@ |
|||
| ? | 07043-00312 | • • PLUG | 1 | SN: 1002-@ |
|||
| ? | 701-33-31120 | • • VALVE | 1 | SN: 1002-. |
|||
| ? | 701-33-31130 | • • SPRING | 1 | SN: 1002-. |
|||
| ? | 701-33-31150 | • • SEAT | 1 | SN: 1002-@ |
|||
| ? | 07000-13035 | • • O-RING | 1 | SN: 1002-@ |
|||
| ? | 701-33-31160 | • • PLATE | 1 | SN: 1002-@ |
|||
| ? | 01010-31235 | • • BOLT | 2 | SN: 1002-@ |
|||
| ? | 01602-01236 | • • WASHER | 2 | SN: 1002-@ |
|||
| ? | ☆ | • • SPOOL | 1 | SN: 1002-@ |
|||
| ? | 701-33-31190 | • • SPRING | 1 | SN: 1002-@ |
|||
| ? | 01643-02045 | • • WASHER | 1 | SN: 1002-1034 |
|||
| ? | 01640-02032 | • • WASHER | 2 | SN: 1002-1034 |
|||
| ? | 701-31-34131 | • • SHIM ? 0.1MM | 4 | SN: 1002-@ |
|||
| ? | 701-31-34141 | • • SHIM ? 0.2MM | 6 | SN: 1002-@ |
|||
| ? | 701-31-34151 | • • COLLAR | 1 | SN: 1002-@ |
|||
| ? | 701-31-34160 | • • SPACER | 1 | SN: 1002-@ |
|||
| ? | 701-31-34180 | • • SPACER | 1 | SN: 1002-@ |
|||
| ? | 01640-01223 | • • WASHER | 1 | SN: 1002-@ |
|||
| ? | 01010-31270 | • • BOLT | 1 | SN: 1002-@ |
|||
| ? | 01602-01236 | • • WASHER | 1 | SN: 1002-@ |
|||
| ? | 701-31-34210 | • • CASE | 1 | SN: 1002-@ |
|||
| ? | 01010-31030 | • • BOLT | 2 | SN: 1002-@ |
|||
| ? | 01602-01030 | • • WASHER | 2 | SN: 1002-@ |
|||
| ? | 701-33-31360 | • • PLATE | 2 | SN: 1002-@ |
|||
| ? | 07000-13040 | • • O-RING | 2 | SN: 1002-@ |
|||
| ? | 01010-31440 | • • BOLT | 4 | SN: 1002-@ |
|||
| ? | 01602-01442 | • • WASHER | 4 | SN: 1002-@ |
|||
| ? | 07000-13035 | • • O-RING | 2 | SN: 1002-@ |
|||
| ? | 07000-02015 | • • O-RING | 14 | SN: 1002-@ |
|||
| ? | 07000-13045 | • • O-RING | 1 | SN: 1002-@ |
|||
| ? | 07000-13030 | • • O-RING | 2 | SN: 1002-@ |
|||
| ? | 701-31-34230 | • • SHIM ? 0.1MM | 2 | SN: 1002-@ |
|||
| ? | 701-31-34240 | • • SHIM ? 0.2MM | 3 | SN: 1002-@ |
|||
| ? | 701-30-67003 | • VALVE ASS'Y | 1 | SN: 1002-1034 |
|||
| ? | 701-30-67112 | • • BODY | 1 | SN: 1002-1034 |
|||
| ? | 701-30-67121 | • • VALVE | 2 | SN: 1002-1034 |
|||
| ? | 701-30-67130 | • • SPRING | 2 | SN: 1002-1034 |
|||
| ? | 701-30-67160 | • • PLUG | 2 | SN: 1002-1034 |
|||
| ? | 07002-13634 | • • O-RING | 2 | SN: 1002-1034 |
|||
| ? | 01010-31245 | • • BOLT | 2 | SN: 1002-1034 |
|||
| ? | 01011-31210 | • • BOLT | 2 | SN: 1002-1034 |
|||
| ? | 01602-01236 | • • WASHER | 4 | SN: 1002-1034 |
|||
| ? | 701-30-83000 | • VALVE ASS'Y | 1 | SN: 1002-1034 |
|||
| ? | 701-30-67211 | • • BLOCK | 1 | SN: 1002-1034 |
|||
| ? | 701-30-67220 | • • PISTON | 2 | SN: 1002-1034 |
|||
| ? | 07042-00108 | • • PLUG | 2 | SN: 1002-1034 |
|||
| ? | 07000-21008 | • • O-RING | 2 | SN: 1002-1034 |
|||
| ? | ☆ | • • BODY | 2 | SN: 1002-1034 |
|||
| ? | 01011-31070 | • • BOLT | 2 | SN: 1002-1034 |
|||
| ? | 01602-01030 | • • WASHER | 2 | SN: 1002-1034 |
|||
| ? | 01580-31008 | • • NUT | 2 | SN: 1002-1034 |
|||
| ? | 01643-01032 | • • WASHER | 2 | SN: 1002-1034 |
|||
| ? | 07000-23028 | • • O-RING | 2 | SN: 1002-1034 |
|||
| ? | 01010-31075 | • • BOLT | 4 | SN: 1002-1034 |
|||
| ? | 01602-01030 | • • WASHER | 4 | SN: 1002-1034 |
|||
| ? | 701-30-67260 | • • SPACER | 2 | SN: 1002-1034 |
|||
| ? | ☆ | • • VALVE | 2 | SN: 1002-1034 |
|||
| ? | 701-30-67280 | • • SPRING | 2 | SN: 1002-1034 |
|||
| ? | 701-30-67290 | • • SPRING | 2 | SN: 1002-1034 |
|||
| ? | 701-30-67311 | • • PLUG | 2 | SN: 1002-1034 |
|||
| ? | 701-30-67320 | • • NUT | 2 | SN: 1002-1034 |
|||
| ? | 701-30-67341 | BAFFLE | 1 | SN: 1002-@ |
|||
| ? | 01010-31475 | BOLT | 1 | SN: 1002-@ |
|||
| ? | 01010-31440 | BOLT | 1 | SN: 1002-@ |
|||
| ? | 01602-01442 | WASHER | 2 | SN: 1002-@ |
