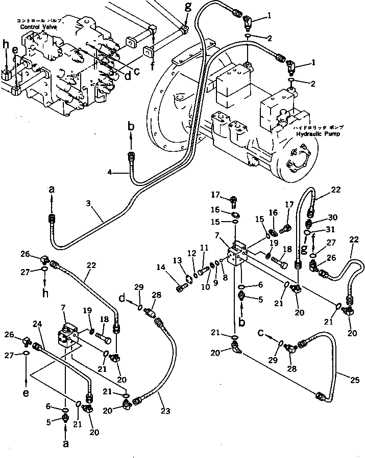
| Номер на схеме | Каталожный номер | Название | Количество | Детали | |||
|---|---|---|---|---|---|---|---|
| ? | 07236-10210 | ELBOW | 2 | SN: 12001- |
|||
| ? | 205-62-74370 | O-RING | 2 | SN: 12001- |
|||
| ? | 07082-00221 | HOSE | 1 | SN: 12001- |
|||
| ? | 07082-00215 | HOSE | 1 | SN: 12001- |
|||
| ? | 07230-20210 | UNION | 2 | SN: 14584- |
|||
| ? | □07230-10210 | UNION | 2 | SN: 12001-14583 |
|||
| ? | 205-62-74370 | O-RING | 2 | SN: 12001- |
|||
| ? | 207-60-00070 | SHUTTLE VALVE ASS'Y | 2 | SN: 12001- |
|||
| ? | 207-60-31410 | • BLOCK | 1 | SN: 12001- |
|||
| ? | 700-84-11730 | • BALL | 1 | SN: 12001- |
|||
| ? | 07000-11003 | • O-RING | 1 | SN: 12001- |
|||
| ? | 07001-01003 | • RING,BACK-UP | 1 | SN: 12001- |
|||
| ? | 709-70-91320 | • PLUG | 1 | SN: 12001- |
|||
| ? | 07000-12012 | • O-RING | 1 | SN: 12001- |
|||
| ? | 709-70-91330 | • PLATE | 1 | SN: 12001- |
|||
| ? | 01252-30616 | • BOLT | 4 | SN: 12001- |
|||
| ? | 07000-11009 | • O-RING | 2 | SN: 12001- |
|||
| ? | 709-70-91340 | • PLATE | 2 | SN: 12001- |
|||
| ? | 01252-30616 | • BOLT | 4 | SN: 12001- |
|||
| ? | 01010-51075 | BOLT | 4 | SN: 12001- |
|||
| ? | 01643-31032 | WASHER | 4 | SN: 12001- |
|||
| ? | 07235-10210 | ELBOW | 6 | SN: 12001- |
|||
| ? | 205-62-74370 | O-RING | 6 | SN: 12001- |
|||
| ? | 07082-00206 | HOSE | 3 | SN: 12001- |
|||
| ? | 07082-00206 | HOSE | 1 | SN: 12001- |
|||
| ? | 07082-00205 | HOSE | 1 | SN: 12001- |
|||
| ? | 07082-00207 | HOSE | 1 | SN: 12001- |
|||
| ? | 07235-10210 | ELBOW | 3 | SN: 12001- |
|||
| ? | 205-62-74370 | O-RING | 3 | SN: 12001- |
|||
| ? | 205-62-74190 | ELBOW | 2 | SN: 12001- |
|||
| ? | 205-62-74360 | O-RING | 2 | SN: 12001- |
|||
| ? | 07230-20210 | UNION | 1 | SN: 14584- |
|||
| ? | □07230-10210 | UNION | 1 | SN: 12001-14583 |
|||
| ? | 205-62-74370 | O-RING | 1 | SN: 12001- |
