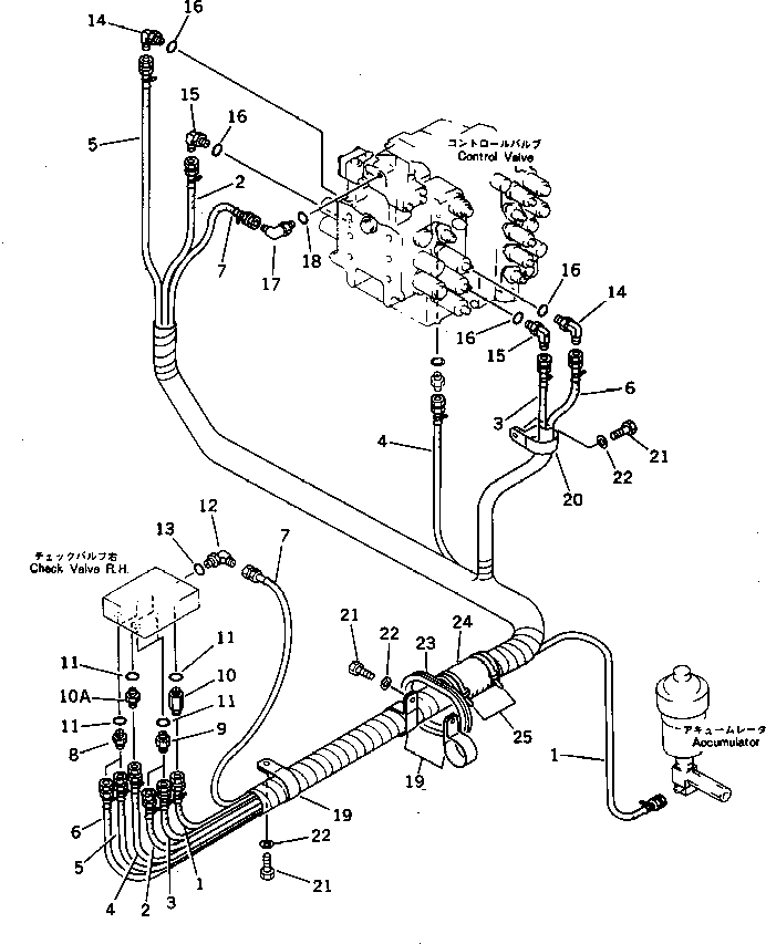
k-part
Номер на схеме Каталожный номер Название Количество Детали
? 207-62-33622 HOSE ASS'Y 1
SN: 12889-
? 07102-20322 • HOSE,(RED) 1
SN: 12001-
? 07102-20227 • HOSE,(GREEN) 1
SN: 12889-
? 07102-20223 • HOSE,(BLACK) 1
SN: 12889-
? 07102-20224 • HOSE,(BLUE) 1
SN: 12889-
? 07102-20328 • HOSE,(YELLOW) 1
SN: 12001-
? 07102-20325 • HOSE,(WHITE) 1
SN: 12001-
? 207-62-33650 • HOSE 1
SN: 12001-
? 205-62-55270 NIPPLE 2
SN: 12889-
? 07230-20210 UNION 2
SN: 14584-
? □07230-10210 UNION 2
SN: 12889-14583
? 207-62-33951 NIPPLE 1
SN: 12121-
? 207-62-31820 NIPPLE 1
SN: 12889-
? 07002-01423 O-RING 6
SN: 12001-
? 07235-10210 ELBOW 1
SN: 12001-
? 07002-01423 O-RING 1
SN: 12001-
? 07235-10315 ELBOW 2
SN: 12001-
? 20N-63-66190 ELBOW 2
SN: 12889-
? 07002-02034 O-RING 4
SN: 12001-
? 07236-10210 ELBOW 1
SN: 13298-
? 07235-10210 ELBOW 1
SN: 12889-13297
? 07002-01423 O-RING 1
SN: 12001-
? 21K-03-11190 CLIP 3
SN: 12001-
? 08036-03014 CLIP 1
SN: 12638-
? 01010-51225 BOLT 3
SN: 12001-
? 01643-31232 WASHER 3
SN: 12001-
? 207-62-33990 GROMMET 1
SN: 12001-
? 205-62-53780 COVER 2
SN: 12001-
? 08034-00876 BAND 2
SN: 12001-

Excavators Komatsu / PC300LC-3 S/N 12001-UP(pc300l4r) / P.P.C. VALVE PIPING (3/3) (FOR WRIST CONTROL) (WITH AUTO DECELERATION) (WITH SWING MECHANICAL BRAKE)(#12889-)(120300 : 4515A)