k-part
Номер на схеме Каталожный номер Название Количество Детали
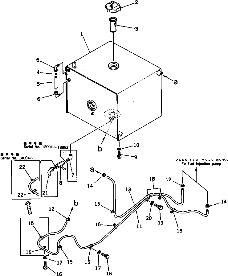
? 207-04-00041 FUEL TANK ASS'Y 1
SN: 13853-
? □207-04-00040 FUEL TANK ASS'Y 1
SN: 12001-13852
? • TANK 1
SN: 13853-
? • TANK 1
SN: 12001-13852
? 07050-41200 • CAP 1
SN: 12001-
? 07056-18416 • STRAINER 1
SN: 12001-
? 208-04-19160 • BALL,FLOAT 1
SN: 12001-
? 203-60-31160 • TUBE 1
SN: 12001-
? 208-04-19130 • ELBOW 2
SN: 12001-
? 07323-30200 ELBOW 1
SN: 12001-13852
? 07700-40240 VALVE 1
SN: 12001-
? 01010-51635 BOLT 6
SN: 12001-
? 01643-31645 WASHER 6
SN: 12001-
? 07288-01038 HOSE 1
SN: 12239-
? 07288-01037 HOSE 1
SN: 12001-12238
? 07281-00197 CLAMP 2
SN: 12001-
? 07288-01023 HOSE 1
SN: 12662-
? 07288-01025 HOSE 1
SN: 12001-12661
? 07281-00197 CLAMP 2
SN: 12001-
? 08036-01814 CLIP 5
SN: 14004-
? 08036-01814 CLIP 7
SN: 12001-14003
? 01010-51225 BOLT 7
SN: 12001-
? 01643-31232 WASHER 7
SN: 12001-
? 209-06-12190 CLIP 2
SN: 12001-
? 01010-51225 BOLT 2
SN: 12001-
? 01643-31232 WASHER 2
SN: 12001-
? 207-04-31120 TUBE 1
SN: 12001-13852
? 208-06-12120 CLIP 2
SN: 14004-

Excavators Komatsu / PC300LC-3 S/N 12001-UP(pc300l4r) / FUEL TANK (WITHOUT VANDALISM)(030120 : 1302)