| Номер на схеме | Каталожный номер | Название | Количество | Детали | |||
|---|---|---|---|---|---|---|---|
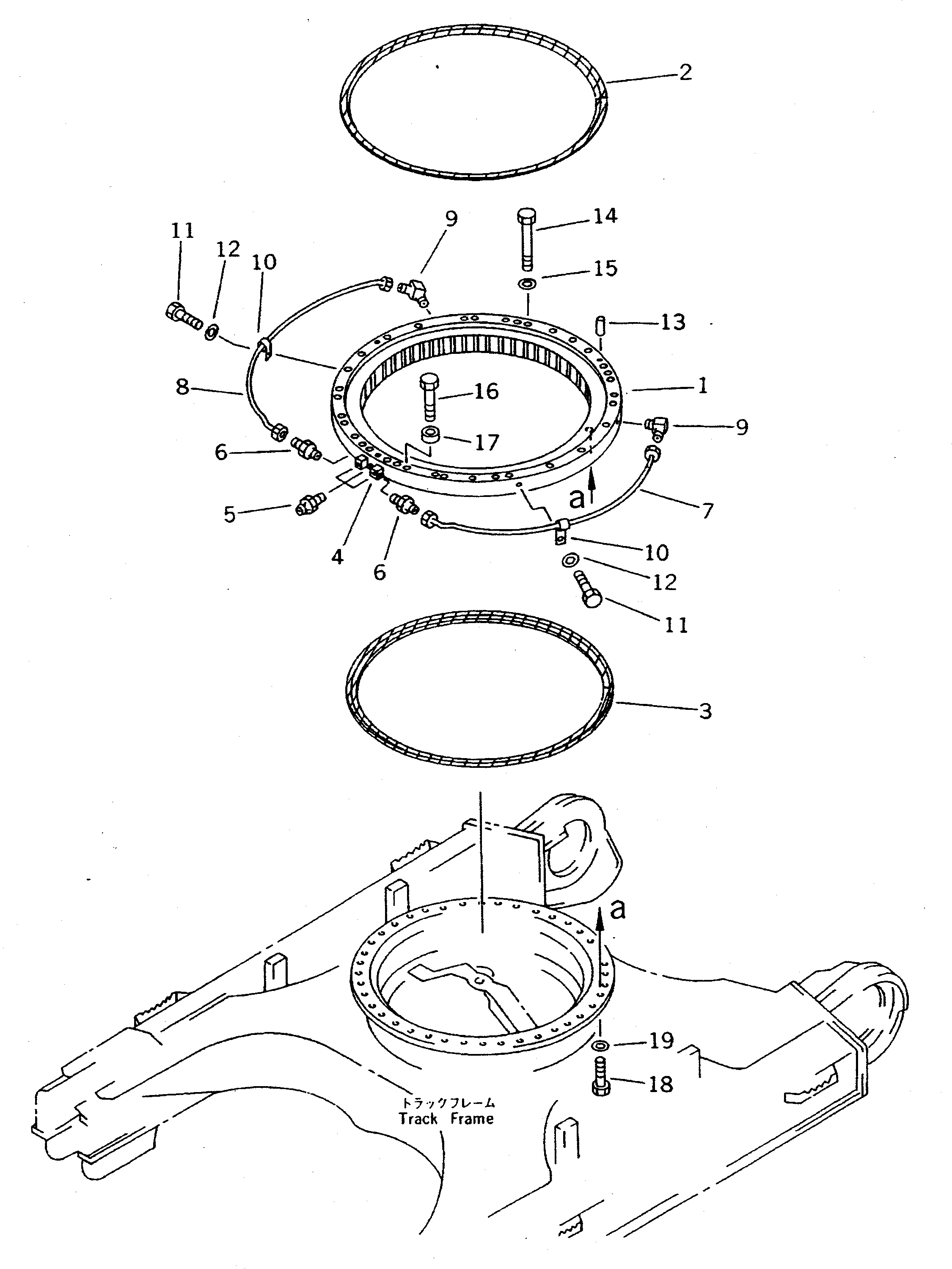
| ? | 207-25-51100 | CIRCLE,SWING | 1 | SN: 20001- KIT-FLAG: _- SERIALNO: 20001- |
|||
| ? | 207-25-61160 | • SEAL,(FOR SUPPLY) | 1 | SN: 20001- KIT-FLAG: _- SERIALNO: 20001- |
|||
| ? | □207-25-31120 | • SEAL | 1 | SN: 20001-. KIT-FLAG: _- SERIALNO: 20001-. |
|||
| ? | 207-25-61160 | • SEAL,(FOR SUPPLY) | 1 | SN: 20001- KIT-FLAG: _- SERIALNO: 20001- |
|||
| ? | □207-25-31130 | • SEAL | 1 | SN: 20001-. KIT-FLAG: _- SERIALNO: 20001-. |
|||
| ? | 205-25-71280 | • NIPPLE | 2 | SN: 20001- KIT-FLAG: _- SERIALNO: 20001- |
|||
| ? | 07020-00000 | FITTING,GREASE | 3 | SN: 20001- KIT-FLAG: _- SERIALNO: 20001- |
|||
| ? | 07213-50813 | CONNECTOR | 2 | SN: 20001- KIT-FLAG: _- SERIALNO: 20001- |
|||
| ? | 207-25-31162 | TUBE | 1 | SN: 20001- KIT-FLAG: _- SERIALNO: 20001- |
|||
| ? | 207-25-31152 | TUBE | 1 | SN: 20001- KIT-FLAG: _- SERIALNO: 20001- |
|||
| ? | 207-70-11740 | ELBOW | 2 | SN: 20001- KIT-FLAG: _- SERIALNO: 20001- |
|||
| ? | 08036-00814 | CLIP | 2 | SN: 20001- KIT-FLAG: _- SERIALNO: 20001- |
|||
| ? | 01010-51020 | BOLT | 2 | SN: 20001- KIT-FLAG: _- SERIALNO: 20001- |
|||
| ? | 01643-31032 | WASHER | 2 | SN: 20001- KIT-FLAG: _- SERIALNO: 20001- |
|||
| ? | 04020-01842 | PIN,DOWEL | 2 | SN: 20001- KIT-FLAG: _- SERIALNO: 20001- |
|||
| ? | 207-25-31190 | BOLT | 9 | SN: 20001- KIT-FLAG: _- SERIALNO: 20001- |
|||
| ? | 01643-32460 | WASHER | 9 | SN: 20001- KIT-FLAG: _- SERIALNO: 20001- |
|||
| ? | 208-25-11130 | BOLT | 26 | SN: 20001- KIT-FLAG: _- SERIALNO: 20001- |
|||
| ? | 207-25-31170 | SPACER | 26 | SN: 20001- KIT-FLAG: _- SERIALNO: 20001- |
|||
| ? | 207-25-31180 | BOLT | 40 | SN: 20652- KIT-FLAG: _- SERIALNO: 20652- |
|||
| ? | ▩207-25-51130 | BOLT | 40 | SN: 20001-20651 KIT-FLAG: _- SERIALNO: 20001-20651 |
|||
| ? | (207-30-51182,OR 207-30-53112, | SERIALNO: |
|||||
| ? | 207-25-31180(40)) | SERIALNO: |
|||||
| ? | 01643-32460 | WASHER | 40 | SN: 20001- KIT-FLAG: _- SERIALNO: 20001- |
