| Номер на схеме | Каталожный номер | Название | Количество | Детали | |||
|---|---|---|---|---|---|---|---|
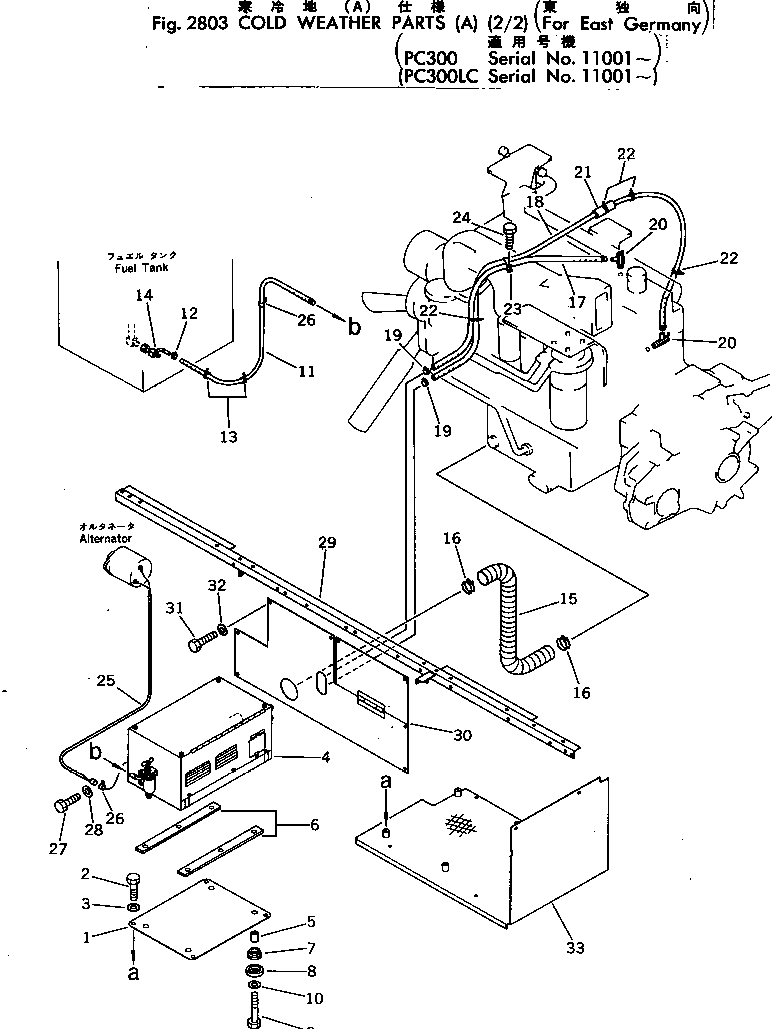
| ? | 207-54-19230 | PLATE | 1 | SN: 11001- KIT-FLAG: _- SERIALNO: 11001- |
|||
| ? | 01010-51225 | BOLT | 4 | SN: 11001- KIT-FLAG: _- SERIALNO: 11001- |
|||
| ? | 01643-31232 | WASHER | 4 | SN: 11001- KIT-FLAG: _- SERIALNO: 11001- |
|||
| ? | 207-977-1200 | PRE HEATER ASS'Y | 1 | SN: 11001- KIT-FLAG: _- SERIALNO: 11001- |
|||
| ? | 195-01-16140 | SPACER | 4 | SN: 11001- KIT-FLAG: _- SERIALNO: 11001- |
|||
| ? | 154-01-15120 | CUSHION | 2 | SN: 11001- KIT-FLAG: _- SERIALNO: 11001- |
|||
| ? | 195-01-16160 | CUSHION | 4 | SN: 11001- KIT-FLAG: _- SERIALNO: 11001- |
|||
| ? | 195-01-16130 | COVER | 4 | SN: 11001- KIT-FLAG: _- SERIALNO: 11001- |
|||
| ? | 01010-51055 | BOLT | 4 | SN: 11001- KIT-FLAG: _- SERIALNO: 11001- |
|||
| ? | 01643-31032 | WASHER | 4 | SN: 11001- KIT-FLAG: _- SERIALNO: 11001- |
|||
| ? | 07270-41015 | TUBE | 1 | SN: 11001- KIT-FLAG: _- SERIALNO: 11001- |
|||
| ? | 07281-00167 | CLAMP | 2 | SN: 11001- KIT-FLAG: _- SERIALNO: 11001- |
|||
| ? | 08034-00519 | BAND | 2 | SN: 11001- KIT-FLAG: _- SERIALNO: 11001- |
|||
| ? | 207-04-11310 | TUBE | 1 | SN: 11001- KIT-FLAG: _- SERIALNO: 11001- |
|||
| ? | 207-01-13240 | HOSE | 1 | SN: 11001- KIT-FLAG: _- SERIALNO: 11001- |
|||
| ? | 07281-10809 | CLAMP | 2 | SN: 11001- KIT-FLAG: _- SERIALNO: 11001- |
|||
| ? | 09483-00512 | HOSE | 1 | SN: 11001- KIT-FLAG: _- SERIALNO: 11001- |
|||
| ? | 09483-00521 | HOSE | 1 | SN: 11001- KIT-FLAG: _- SERIALNO: 11001- |
|||
| ? | 07281-00289 | CLAMP | 4 | SN: 11001- KIT-FLAG: _- SERIALNO: 11001- |
|||
| ? | 09482-10000 | VALVE | 2 | SN: 11001- KIT-FLAG: _- SERIALNO: 11001- |
|||
| ? | 205-62-72240 | COVER | 1 | SN: 11001- KIT-FLAG: _- SERIALNO: 11001- |
|||
| ? | 08034-00519 | BAND | 4 | SN: 11001- KIT-FLAG: _- SERIALNO: 11001- |
|||
| ? | 198-61-14180 | CLIP | 1 | SN: 11001- KIT-FLAG: _- SERIALNO: 11001- |
|||
| ? | 01010-51020 | BOLT | 1 | SN: 11001- KIT-FLAG: _- SERIALNO: 11001- |
|||
| ? | 207-06-15270 | WIRING HARNESS | 1 | SN: 11001- KIT-FLAG: _- SERIALNO: 11001- |
|||
| ? | 08036-01814 | CLIP | 3 | SN: 11001- KIT-FLAG: _- SERIALNO: 11001- |
|||
| ? | 01010-51225 | BOLT | 1 | SN: 11001- KIT-FLAG: _- SERIALNO: 11001- |
|||
| ? | 01643-31232 | WASHER | 1 | SN: 11001- KIT-FLAG: _- SERIALNO: 11001- |
|||
| ? | 207-54-19240 | FRAME | 1 | SN: 11001- KIT-FLAG: _- SERIALNO: 11001- |
|||
| ? | 207-54-19220 | COVER | 1 | SN: 11001- KIT-FLAG: _- SERIALNO: 11001- |
|||
| ? | 01010-51225 | BOLT | 4 | SN: 11001- KIT-FLAG: _- SERIALNO: 11001- |
|||
| ? | 01643-31232 | WASHER | 4 | SN: 11001- KIT-FLAG: _- SERIALNO: 11001- |
|||
| ? | 207-54-19120 | STEP | 1 | SN: 11001- KIT-FLAG: _- SERIALNO: 11001- |
