| Номер на схеме | Каталожный номер | Название | Количество | Детали | |||
|---|---|---|---|---|---|---|---|
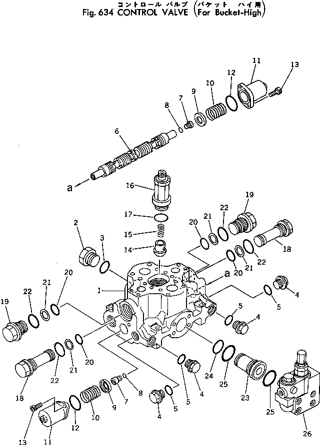
| ? | 700-91-31002 | VALVE ASS'Y | 1 | SN: 11116- KIT-FLAG: _- SERIALNO: 11116- |
|||
| ? | □700-91-31001 | VALVE ASS'Y | 1 | SN: 11063-11115 KIT-FLAG: _- SERIALNO: 11063-11115 |
|||
| ? | □700-91-31000 | VALVE ASS'Y | 1 | SN: 11001-11062 KIT-FLAG: _- SERIALNO: 11001-11062 |
|||
| ? | ☆ | • BODY | 1 | SN: 11001- KIT-FLAG: _- SERIALNO: 11001- |
|||
| ? | 07040-13618 | • PLUG | 1 | SN: 11001- KIT-FLAG: _- SERIALNO: 11001- |
|||
| ? | 07002-13634 | • O-RING | 1 | SN: 11001- KIT-FLAG: _- SERIALNO: 11001- |
|||
| ? | 700-22-11370 | • PLUG | 4 | SN: 11001- KIT-FLAG: _- SERIALNO: 11001- |
|||
| ? | 07002-02434 | • O-RING | 4 | SN: 11001- KIT-FLAG: _- SERIALNO: 11001- |
|||
| ? | ☆ | • SPOOL | 1 | SN: 11001- KIT-FLAG: _- SERIALNO: 11001- |
|||
| ? | 700-93-11230 | • PLUG | 2 | SN: 11001- KIT-FLAG: _- SERIALNO: 11001- |
|||
| ? | 07002-11423 | • O-RING | 2 | SN: 11001- KIT-FLAG: _- SERIALNO: 11001- |
|||
| ? | 700-93-12380 | • RETAINER | 2 | SN: 11001- KIT-FLAG: _- SERIALNO: 11001- |
|||
| ? | 700-93-12620 | • SPRING | 2 | SN: 11001- KIT-FLAG: _- SERIALNO: 11001- |
|||
| ? | 700-93-12390 | • CASE | 2 | SN: 11001- KIT-FLAG: _- SERIALNO: 11001- |
|||
| ? | 07430-71380 | • O-RING | 2 | SN: 11001- KIT-FLAG: _- SERIALNO: 11001- |
|||
| ? | 01252-30820 | • BOLT | 4 | SN: 11001- KIT-FLAG: _- SERIALNO: 11001- |
|||
| ? | 207-60-11520 | • VALVE,CHECK | 1 | SN: 11001- KIT-FLAG: _- SERIALNO: 11001- |
|||
| ? | 700-93-11471 | • SPRING | 1 | SN: 11001- KIT-FLAG: _- SERIALNO: 11001- |
|||
| ? | 207-62-23491 | • NIPPLE | 1 | SN: 11001- KIT-FLAG: _- SERIALNO: 11001- |
|||
| ? | 07002-13634 | • O-RING | 1 | SN: 11001- KIT-FLAG: _- SERIALNO: 11001- |
|||
| ? | 700-93-11310 | • PLUG | 2 | SN: 11001- KIT-FLAG: _- SERIALNO: 11001- |
|||
| ? | 700-93-11350 | • PLUG | 2 | SN: 11001- KIT-FLAG: _- SERIALNO: 11001- |
|||
| ? | 700-93-11320 | • O-RING | 4 | SN: 11001- KIT-FLAG: _- SERIALNO: 11001- |
|||
| ? | 700-93-11330 | • RING,BACK-UP | 4 | SN: 11001- KIT-FLAG: _- SERIALNO: 11001- |
|||
| ? | 07002-03634 | • O-RING | 4 | SN: 11001- KIT-FLAG: _- SERIALNO: 11001- |
|||
| ? | 700-93-12680 | • FLANGE | 1 | SN: 11001- KIT-FLAG: _- SERIALNO: 11001- |
|||
| ? | 07000-03032 | • O-RING | 1 | SN: 11001- KIT-FLAG: _- SERIALNO: 11001- |
|||
| ? | 07000-03035 | • O-RING | 2 | SN: 11001- KIT-FLAG: _- SERIALNO: 11001- |
|||
| ? | (700-90-95001) | • VALVE ASS'Y | 1 | SN: 11001- KIT-FLAG: _- SERIALNO: 11001- |
