| Номер на схеме | Каталожный номер | Название | Количество | Детали | |||
|---|---|---|---|---|---|---|---|
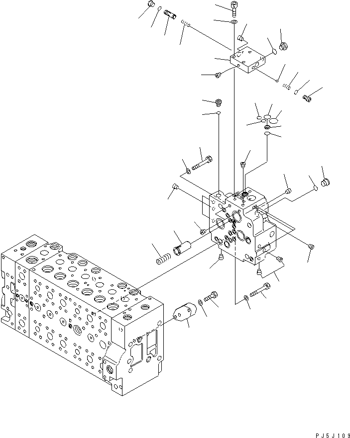
| ? | (723-47-20303) | VALVE ASS'Y | 1 | SN: 30363- |
|||
| ? | (723-47-20302) | VALVE ASS'Y | 1 | SN: 30001-30362 |
|||
| ? | THESE ASSEMBLIES CONSIST OF ALL PARTS SHOWN IN FIGS.Y1662-21A0 TO Y1662-39A0. | ||||||
| ? | (723-40-71103) | • VALVE ASS'Y | 1 | SN: 30001- |
|||
| ? | 723-40-71430 | • • VALVE | 1 | SN: 30001- |
|||
| ? | 702-21-55460 | • • SPRING | 1 | SN: 30001- |
|||
| ? | 702-21-55420 | • • O-RING | 1 | SN: 30001- |
|||
| ? | 702-21-55520 | • • O-RING | 1 | SN: 30001- |
|||
| ? | 702-21-55440 | • • O-RING | 1 | SN: 30001- |
|||
| ? | 702-21-53120 | • • FILTER | 1 | SN: 30001- |
|||
| ? | 07000-12011 | • • O-RING | 1 | SN: 30001- |
|||
| ? | ☆ | • • BLOCK | 1 | SN: 30001- |
|||
| ? | ☆ | • • SPOOL | 1 | SN: 30001- |
|||
| ? | 702-21-55640 | • • SPRING | 1 | SN: 30001- |
|||
| ? | 702-21-55620 | • • PLUG | 1 | SN: 30001- |
|||
| ? | 07002-11423 | • • O-RING | 1 | SN: 30001- |
|||
| ? | 702-21-55710 | • • SEAT | 1 | SN: 30001- |
|||
| ? | 702-21-55720 | • • SPRING | 1 | SN: 30001- |
|||
| ? | 04260-00793 | • • BALL | 1 | SN: 30001- |
|||
| ? | 07000-11009 | • • O-RING | 1 | SN: 30001- |
|||
| ? | ☆ | • • PLUG | 2 | SN: 30001- |
|||
| ? | 708-8H-11530 | • • PLUG | 1 | SN: 30001- |
|||
| ? | 07002-11423 | • • O-RING | 1 | SN: 30001- |
|||
| ? | 01252-61040 | • • BOLT | 3 | SN: 30001- |
|||
| ? | 01643-51032 | • • WASHER | 3 | SN: 30001- |
|||
| ? | 702-21-55620 | • • PLUG | 1 | SN: 30001- |
|||
| ? | 07002-11423 | • • O-RING | 1 | SN: 30001- |
|||
| ? | 708-8E-16160 | • • PLUG | 1 | SN: 30001- |
|||
| ? | 07002-11023 | • • O-RING | 1 | SN: 30001- |
|||
| ? | 07000-12011 | • • O-RING | 1 | SN: 30001- |
|||
| ? | ☆ | • • PLUG | 15 | SN: 30001- |
|||
| ? | 01010-61470 | • BOLT | 3 | SN: 30001- |
|||
| ? | 01010-61460 | • BOLT | 1 | SN: 30001- |
|||
| ? | 01643-31445 | • WASHER | 4 | SN: 30001- |
|||
| ? | 723-46-17560 | • PLATE | 1 | SN: 30001- |
|||
| ? | 01643-51032 | • WASHER | 2 | SN: 30001- |
|||
| ? | 01010-81040 | • BOLT | 2 | SN: 30001- |