| Номер на схеме | Каталожный номер | Название | Количество | Детали | |||
|---|---|---|---|---|---|---|---|
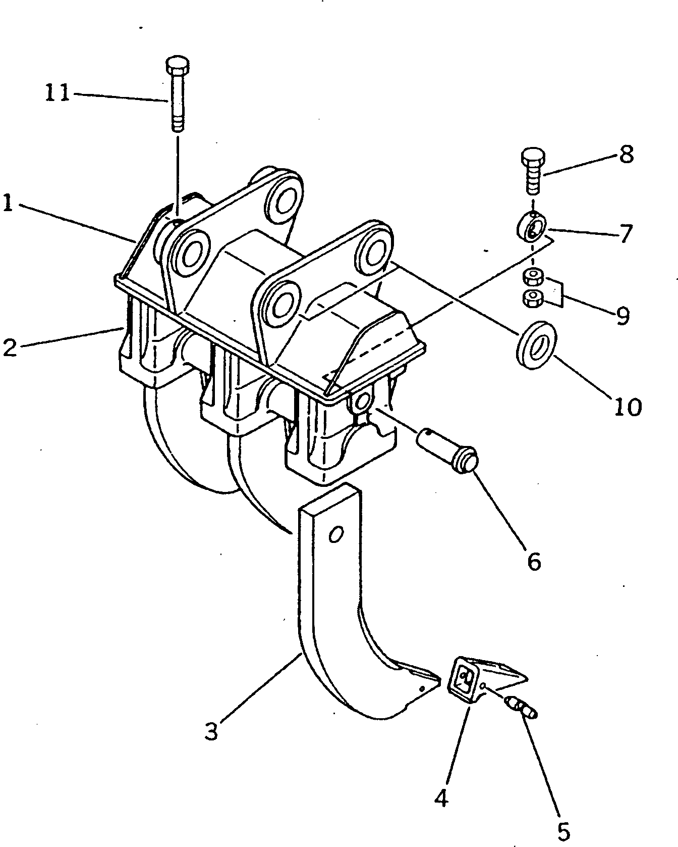
| ? | (☉20Y-951-X101) | RIPPER GROUP | 1 | SN: 35001- KIT-FLAG: _- SERIALNO: 35001- |
|||
| ? | ==================== | SERIALNO: |
|||||
| ? | 205-951-0013 | RIPPER ASS'Y | 1 | SN: 35001- KIT-FLAG: _- SERIALNO: 35001- |
|||
| ? | ☆ | • BRACKET | 1 | SN: 35001- KIT-FLAG: _- SERIALNO: 35001- |
|||
| ? | 205-951-6120 | • • HOLDER | 3 | SN: 35001- KIT-FLAG: _- SERIALNO: 35001- |
|||
| ? | 205-951-0020 | • SHANK ASS'Y | 3 | SN: 35001- KIT-FLAG: _- SERIALNO: 35001- |
|||
| ? | ☆ | • • SHANK | 1 | SN: 35001- KIT-FLAG: _- SERIALNO: 35001- |
|||
| ? | 131-78-31190 | • • POINT | 1 | SN: 35001- KIT-FLAG: _- SERIALNO: 35001- |
|||
| ? | 09244-02489 | • • PIN | 1 | SN: 35001- KIT-FLAG: _- SERIALNO: 35001- |
|||
| ? | 205-951-6140 | • PIN | 3 | SN: 35001- KIT-FLAG: _- SERIALNO: 35001- |
|||
| ? | 205-951-6150 | • COLLAR | 3 | SN: 35001- KIT-FLAG: _- SERIALNO: 35001- |
|||
| ? | 01019-11205 | • BOLT | 3 | SN: 35001- KIT-FLAG: _- SERIALNO: 35001- |
|||
| ? | 01580-11210 | • NUT | 6 | SN: 35001- KIT-FLAG: _- SERIALNO: 35001- |
|||
| ? | 205-70-74410 | COLLAR | 2 | SN: 35001- KIT-FLAG: _- SERIALNO: 35001- |
|||
| ? | 205-70-73190 | BOLT | 1 | SN: 35001- KIT-FLAG: _- SERIALNO: 35001- |
|||
| ? | ==================== | SERIALNO: |
