| Номер на схеме | Каталожный номер | Название | Количество | Детали | |||
|---|---|---|---|---|---|---|---|
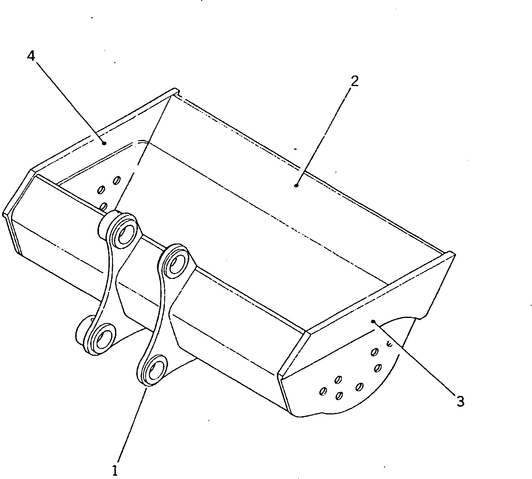
| ? | (☉20Y-938-X101) | BUCKET GROUP | 1 | SN: 35001- KIT-FLAG: _- SERIALNO: 35001- |
|||
| ? | ==================== | SERIALNO: |
|||||
| ? | 205-938-7111 | BUCKET | 1 | SN: 35001- KIT-FLAG: _- SERIALNO: 35001- |
|||
| ? | 205-938-6220 | • PLATE (WELDED) | 1 | SN: 35001- KIT-FLAG: _- SERIALNO: 35001- |
|||
| ? | 205-938-6230 | • PLATE,L.H. (WELDED) | 1 | SN: 35001- KIT-FLAG: _- SERIALNO: 35001- |
|||
| ? | 205-938-6240 | • PLATE,R.H. (WELDED) | 1 | SN: 35001- KIT-FLAG: _- SERIALNO: 35001- |
|||
| ? | ==================== | SERIALNO: |
