k-part
Номер на схеме Каталожный номер Название Количество Детали
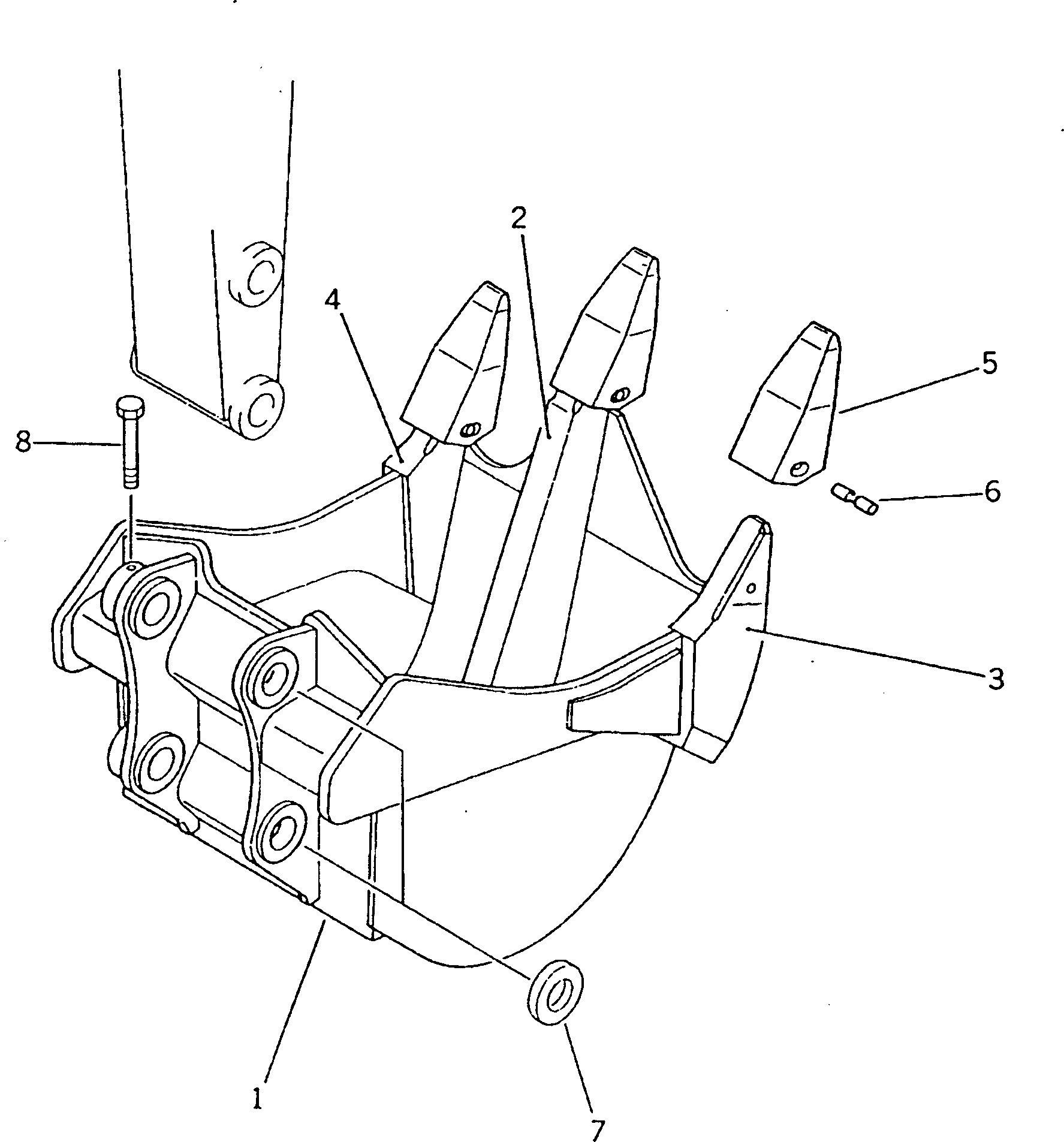
? (☉205-922-X101) BUCKET GROUP 1
SN: 35001-
KIT-FLAG: _-
SERIALNO: 35001-
? ====================
SERIALNO:
? 205-922-6210 BUCKET 1
SN: 35001-
KIT-FLAG: _-
SERIALNO: 35001-
? 205-922-1120 • SHANK (WELDED) 1
SN: 35001-
KIT-FLAG: _-
SERIALNO: 35001-
? 205-922-1130 • ADAPTER,L.H. (WELDED) 1
SN: 35001-
KIT-FLAG: _-
SERIALNO: 35001-
? 205-922-1140 • ADAPTER,R.H. (WELDED) 1
SN: 35001-
KIT-FLAG: _-
SERIALNO: 35001-
? 175-78-31230 POINT 3
SN: 35001-
KIT-FLAG: _-
SERIALNO: 35001-
? 09244-02508 PIN 3
SN: 35001-
KIT-FLAG: _-
SERIALNO: 35001-
? 205-70-74410 COLLAR 2
SN: 35001-
KIT-FLAG: _-
SERIALNO: 35001-
? 205-70-73190 BOLT 1
SN: 35001-
KIT-FLAG: _-
SERIALNO: 35001-
? ====================
SERIALNO:

Excavators Komatsu / PC220LC-5C S/N 35001-UP (Custom Spec.)(pc220l3c) / RIPPER BUCKET ? 0.56M3 ? 950MM(210500 : 7801)