| Номер на схеме | Каталожный номер | Название | Количество | Детали | |||
|---|---|---|---|---|---|---|---|
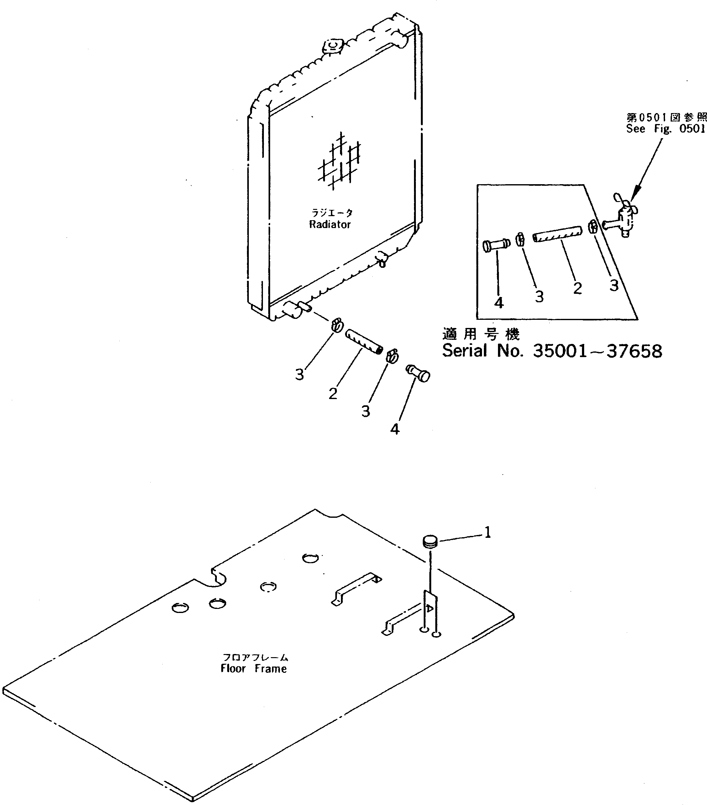
| ? | 20Y-977-1120 | CAP | 1 | SN: 37659- KIT-FLAG: _- SERIALNO: 37659- |
|||
| ? | 20Y-977-1120 | CAP | 2 | SN: 35001-37658 KIT-FLAG: _- SERIALNO: 35001-37658 |
|||
| ? | 195-979-4830 | HOSE | 1 | SN: 37659- KIT-FLAG: _- SERIALNO: 37659- |
|||
| ? | 195-979-4830 | HOSE | 2 | SN: 35001-37658 KIT-FLAG: _- SERIALNO: 35001-37658 |
|||
| ? | 07281-00259 | CLAMP | 2 | SN: 37659- KIT-FLAG: _- SERIALNO: 37659- |
|||
| ? | 07281-00259 | CLAMP | 4 | SN: 35001-37658 KIT-FLAG: _- SERIALNO: 35001-37658 |
|||
| ? | 205-03-62720 | PLUG | 1 | SN: 37659- KIT-FLAG: _- SERIALNO: 37659- |
|||
| ? | 205-03-62720 | PLUG | 2 | SN: 35001-37658 KIT-FLAG: _- SERIALNO: 35001-37658 |
