| Номер на схеме | Каталожный номер | Название | Количество | Детали | |||
|---|---|---|---|---|---|---|---|
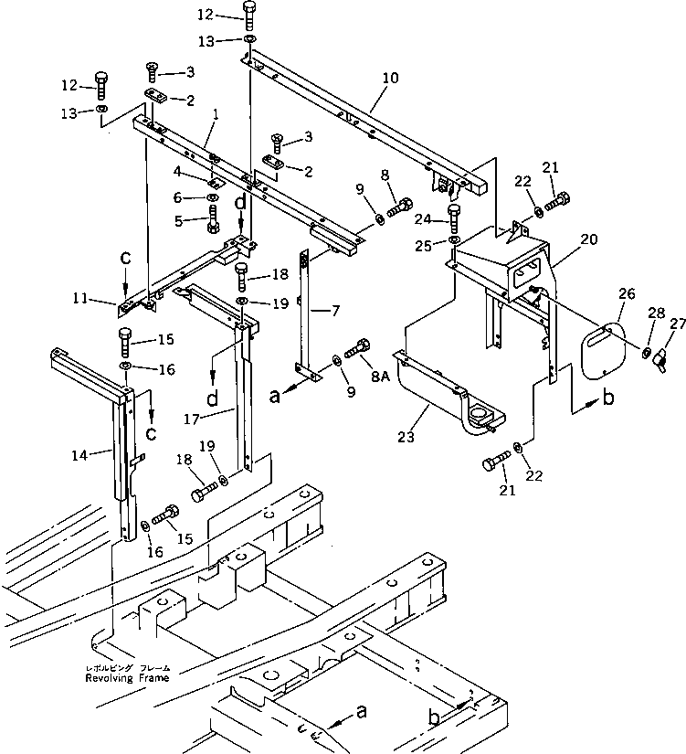
| ? | 20Y-54-19660 | FRAME | 1 | SN: 36614- KIT-FLAG: _- SERIALNO: 36614- |
|||
| ? | 205-54-68440 | PLATE | 2 | SN: 35001- KIT-FLAG: _- SERIALNO: 35001- |
|||
| ? | 01224-40616 | SCREW | 4 | SN: 35001- KIT-FLAG: _- SERIALNO: 35001- |
|||
| ? | 205-54-75860 | BRACKET | 1 | SN: 35001- KIT-FLAG: _- SERIALNO: 35001- |
|||
| ? | 01010-51030 | BOLT | 2 | SN: 35001- KIT-FLAG: _- SERIALNO: 35001- |
|||
| ? | 01643-31032 | WASHER | 2 | SN: 35001- KIT-FLAG: _- SERIALNO: 35001- |
|||
| ? | 20Y-54-12910 | FRAME | 1 | SN: 35001- KIT-FLAG: _- SERIALNO: 35001- |
|||
| ? | 01010-51230 | BOLT | 2 | SN: 35001- KIT-FLAG: _- SERIALNO: 35001- |
|||
| ? | 01010-51225 | BOLT | 2 | SN: 35001- KIT-FLAG: _- SERIALNO: 35001- |
|||
| ? | 01643-31232 | WASHER | 4 | SN: 35001- KIT-FLAG: _- SERIALNO: 35001- |
|||
| ? | 20Y-54-21620 | FRAME | 1 | SN: 36614- KIT-FLAG: _- SERIALNO: 36614- |
|||
| ? | 20Y-54-12431 | FRAME | 1 | SN: 35001- KIT-FLAG: _- SERIALNO: 35001- |
|||
| ? | 01010-51230 | BOLT | 2 | SN: 35001- KIT-FLAG: _- SERIALNO: 35001- |
|||
| ? | 01643-31232 | WASHER | 2 | SN: 35001- KIT-FLAG: _- SERIALNO: 35001- |
|||
| ? | 20Y-54-19670 | FRAME | 1 | SN: 36614- KIT-FLAG: _- SERIALNO: 36614- |
|||
| ? | 01010-51230 | BOLT | 3 | SN: 35001- KIT-FLAG: _- SERIALNO: 35001- |
|||
| ? | 01643-31232 | WASHER | 3 | SN: 35001- KIT-FLAG: _- SERIALNO: 35001- |
|||
| ? | 20Y-54-21630 | FRAME | 1 | SN: 36614- KIT-FLAG: _- SERIALNO: 36614- |
|||
| ? | 01010-51230 | BOLT | 3 | SN: 35001- KIT-FLAG: _- SERIALNO: 35001- |
|||
| ? | 01643-31232 | WASHER | 3 | SN: 35001- KIT-FLAG: _- SERIALNO: 35001- |
|||
| ? | 20Y-54-16171 | COVER | 1 | SN: 36614- KIT-FLAG: _- SERIALNO: 36614- |
|||
| ? | 01010-51230 | BOLT | 6 | SN: 35001- KIT-FLAG: _- SERIALNO: 35001- |
|||
| ? | 01643-31232 | WASHER | 6 | SN: 35001- KIT-FLAG: _- SERIALNO: 35001- |
|||
| ? | 20Y-54-16141 | COVER | 1 | SN: 36614- KIT-FLAG: _- SERIALNO: 36614- |
|||
| ? | 01010-51230 | BOLT | 4 | SN: 35001- KIT-FLAG: _- SERIALNO: 35001- |
|||
| ? | 01643-31232 | WASHER | 4 | SN: 35001- KIT-FLAG: _- SERIALNO: 35001- |
|||
| ? | 20Y-54-16251 | COVER | 1 | SN: 35001- KIT-FLAG: _- SERIALNO: 35001- |
|||
| ? | 01540-20840 | NUT | 2 | SN: 35001- KIT-FLAG: _- SERIALNO: 35001- |
|||
| ? | 01642-20810 | WASHER | 2 | SN: 36614- KIT-FLAG: _- SERIALNO: 36614- |
