k-part
Номер на схеме Каталожный номер Название Количество Детали
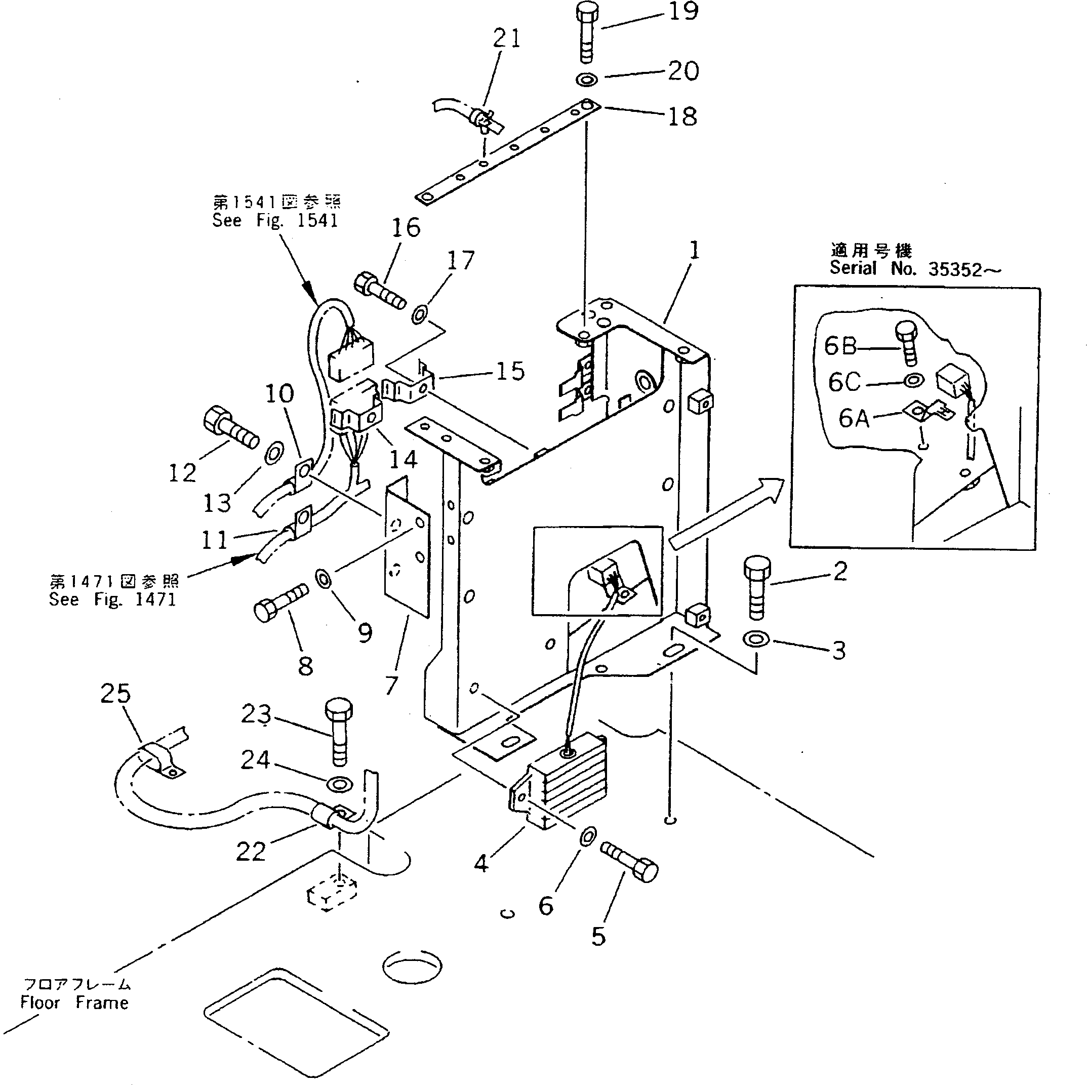
? (☉206-06-X2301) CAB HARNESS GROUP 1
SN: 35001-36613
? ====================
? 20Y-06-16221 BRACKET 1
SN: 35001-36613
? 01010-51225 BOLT 3
SN: 35001-@
? 01643-31232 WASHER 3
SN: 35001-@
? 7827-11-1520 RESISTOR 1
SN: 35001-@
? 01010-50820 BOLT 2
SN: 35001-36613
? 01643-30823 WASHER 2
SN: 35001-@
? 08053-01512 CLIP 1
SN: 35568-@
? □08053-01512 CLIP 1
SN: 35352-35567
? 01010-51020 BOLT 1
SN: 35352-@
? 01643-31032 WASHER 1
SN: 35352-@
? 20Y-06-16520 STAY 1
SN: 35001-@
? 01010-50820 BOLT 2
SN: 35001-@
? 01643-30823 WASHER 2
SN: 35001-@
? 08035-02514 CLIP 1
SN: 35001-@
? 08035-02514 CLIP 1
SN: 35001-@
? 01010-51220 BOLT 2
SN: 35001-@
? 01643-31232 WASHER 2
SN: 35001-@
? 08053-16212 CLIP 1
SN: 35568-@
? □7821-92-5310 BRACKET 1
SN: 35001-35567
? 08053-15012 CLIP 1
SN: 35568-@
? □7821-92-5410 BRACKET 1
SN: 35001-35567
? 01010-50816 BOLT 2
SN: 35001-@
? 01643-30823 WASHER 2
SN: 35001-@
? 20Y-06-16261 PLATE 1
SN: 35001-@
? 01010-50816 BOLT 2
SN: 35001-@
? 01643-30823 WASHER 2
SN: 35001-@
? 20Y-06-16250 CLIP 5
SN: 35001-@
? 08036-03014 CLIP 1
SN: 35001-36613
? 01010-51220 BOLT 1
SN: 35001-36613
? 01643-31232 WASHER 1
SN: 35001-@
? 141-06-11220 CLIP 1
SN: 35001-@
? ====================

Excavators Komatsu / PC220LC-5 S/N 35001-UP(pc220lcr) / WIRING IN CAB (CONTROLLER BRACKET SIDE) (FOR WRIST CONTROL)(#35001-36613)(030360 : 1481)