k-part
Номер на схеме Каталожный номер Название Количество Детали
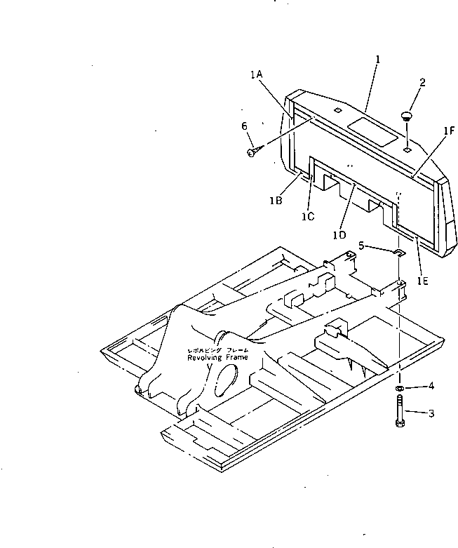
? 20Y-46-11770 WEIGHT,COUNTER 1
SN: 35001-36613
? 20Y-46-11710 • SHEET 2
SN: 35001-36023
? 20Y-46-11720 • SHEET 2
SN: 35001-36023
? 20Y-46-11730 • SHEET 2
SN: 35001-36023
? 20Y-46-11740 • SHEET 1
SN: 35001-36023
? 20Y-46-11750 • SHEET 1
SN: 35001-36023
? 20Y-46-11760 • SHEET 1
SN: 35001-36023
? 20Y-46-11270 CAP 2
SN: 35001-36613
? 207-46-12141 BOLT 4
SN: 35001-36613
? 01643-32780 WASHER 4
SN: 35001-36613
? 20Y-46-11410 PLATE ? 1.6MM 2
SN: 35001-36613
? 01370-00508 SCREW 1
SN: 36024-36613
? □01370-00512 SCREW 1
SN: 35001-36023

Excavators Komatsu / PC220LC-5 S/N 35001-UP(pc220lcr) / COUNTER WEIGHT (PC220SS ? LCSS)(#35001-36613)(120440 : 4807)