| Номер на схеме | Каталожный номер | Название | Количество | Детали | |||
|---|---|---|---|---|---|---|---|
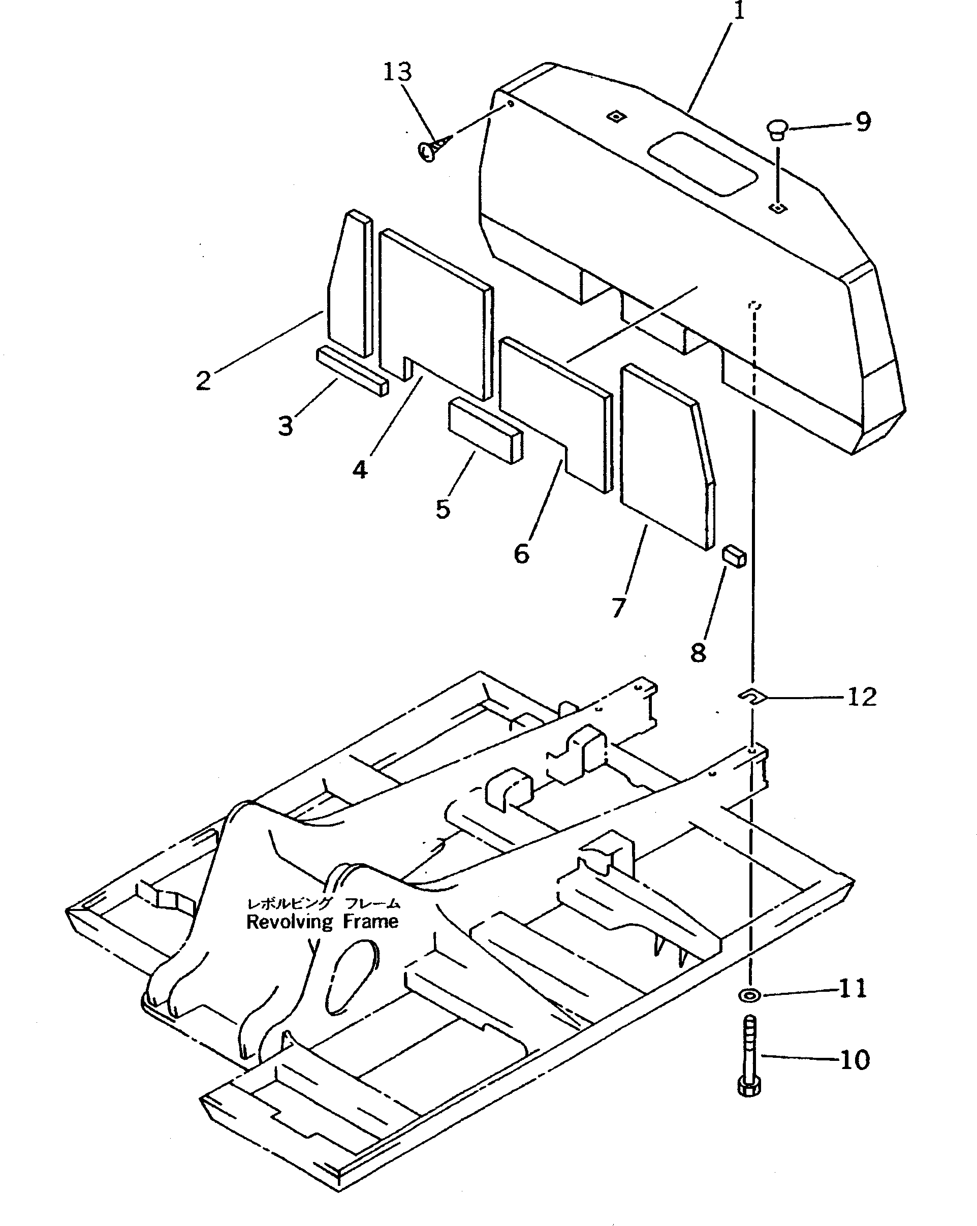
| ? | 206-46-52180 | WEIGHT,COUNTER | 1 | SN: 36614- |
|||
| ? | 20Y-54-21660 | • SHEET | 1 | SN: 36614- |
|||
| ? | 20Y-54-21670 | • SHEET | 1 | SN: 36614- |
|||
| ? | 206-54-51581 | • SHEET | 1 | SN: 36614- |
|||
| ? | 206-54-51320 | • SHEET | 1 | SN: 36614- |
|||
| ? | 206-54-51550 | • SHEET | 1 | SN: 36614- |
|||
| ? | 20Y-54-23440 | • SHEET | 1 | SN: 36614- |
|||
| ? | 206-54-51570 | • SHEET | 1 | SN: 36614- |
|||
| ? | 20Y-46-11270 | CAP | 2 | SN: 35001- |
|||
| ? | 175-09-11110 | BOLT | 4 | SN: 35001- |
|||
| ? | 01643-32780 | WASHER | 4 | SN: 35001- |
|||
| ? | 20Y-46-11410 | PLATE ? 1.6MM | 2 | SN: 35278- |
|||
| ? | 01370-00508 | SCREW | 1 | SN: 36024- |
