k-part
Номер на схеме Каталожный номер Название Количество Детали
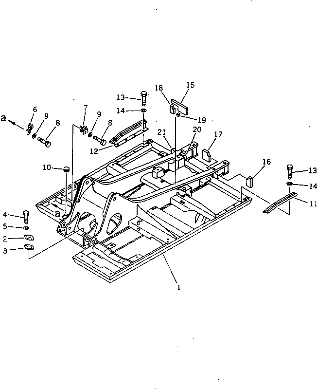
? 206-46-51601 FRAME,REVOLVING 1
SN: 36614-
? 205-30-71181 COVER 1
SN: 35001-
? 205-30-71191 GASKET 1
SN: 35001-
? 01010-51230 BOLT 2
SN: 35001-
? 01643-31232 WASHER 2
SN: 35001-
? 20Y-46-11480 BRACKET 1
SN: 36614-
? 20Y-46-11490 BRACKET 1
SN: 36614-
? 01010-51225 BOLT 2
SN: 36614-
? 01643-31232 WASHER 2
SN: 36614-
? 20Y-46-11560 CAP 1
SN: 36614-
? 20Y-54-22870 BRACKET 1
SN: 36614-
? 20Y-54-22880 BRACKET 1
SN: 36614-
? 01010-51225 BOLT 8
SN: 36614-
? 01643-31232 WASHER 8
SN: 36614-
? 20Y-54-22160 SHEET 1
SN: 36614-
? 20Y-54-21460 SHEET 1
SN: 36614-
? 20Y-54-21470 SHEET 1
SN: 36614-
? 20Y-54-23410 SHEET 1
SN: 36614-
? 20Y-54-23420 SHEET 1
SN: 36614-
? 20Y-54-23470 SHEET 1
SN: 36614-
? 20Y-54-23520 SHEET 1
SN: 36614-

Excavators Komatsu / PC220LC-5 S/N 35001-UP(pc220lcr) / REVOLVING FRAME (FOR JAPAN)(#36614-)(120310 : 4601A)