| Номер на схеме | Каталожный номер | Название | Количество | Детали | |||
|---|---|---|---|---|---|---|---|
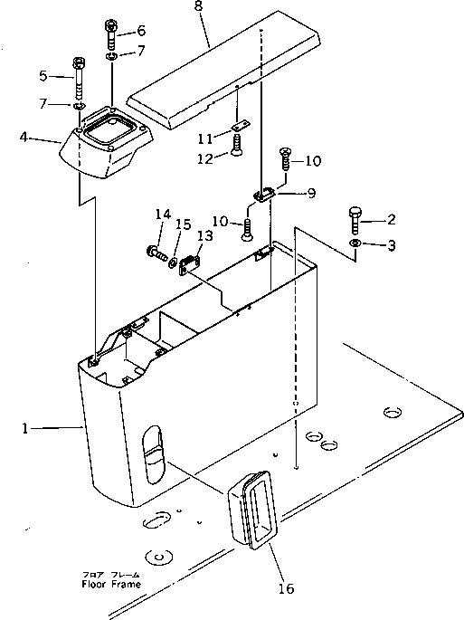
| ? | 20Y-43-15183 | COVER | 1 | SN: 36614- |
|||
| ? | 01010-51025 | BOLT | 4 | SN: 35001- |
|||
| ? | 01643-31032 | WASHER | 4 | SN: 35001- |
|||
| ? | 203-54-51341 | COVER | 1 | SN: 35568- |
|||
| ? | 203-54-56260 | BOLT | 2 | SN: 35001- |
|||
| ? | 203-54-56250 | BOLT | 2 | SN: 35001- |
|||
| ? | 01601-20513 | WASHER,SPRING | 4 | SN: 35001- |
|||
| ? | 203-54-51350 | COVER | 1 | SN: 35001- |
|||
| ? | 203-54-51380 | HINGE | 2 | SN: 35001- |
|||
| ? | 01224-40306 | SCREW | 8 | SN: 35001- |
|||
| ? | 203-54-51550 | PLATE | 1 | SN: 35001- |
|||
| ? | 01224-40306 | SCREW | 2 | SN: 35001- |
|||
| ? | 203-54-56830 | CATCHER | 1 | SN: 35001- |
|||
| ? | 01220-40308 | SCREW | 2 | SN: 35001- |
|||
| ? | 01641-20305 | WASHER | 2 | SN: 35001- |
|||
| ? | 205-43-72480 | COVER | 1 | SN: 35001- |
