| Номер на схеме | Каталожный номер | Название | Количество | Детали | |||
|---|---|---|---|---|---|---|---|
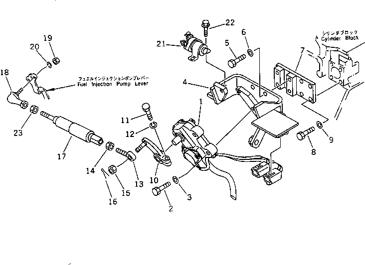
| ? | 7824-30-1600 | MOTOR ASS'Y | 1 | SN: 35001- |
|||
| ? | 01010-51040 | BOLT | 3 | SN: 35001- |
|||
| ? | 01643-31032 | WASHER | 3 | SN: 35001- |
|||
| ? | 20Y-43-12122 | BRACKET | 1 | SN: 35001- |
|||
| ? | 01010-51025 | BOLT | 4 | SN: 35001- |
|||
| ? | 01643-31032 | WASHER | 4 | SN: 35001- |
|||
| ? | 20Y-43-12132 | BRACKET | 1 | SN: 35001- |
|||
| ? | 01010-51025 | BOLT | 4 | SN: 35001- |
|||
| ? | 01643-31032 | WASHER | 4 | SN: 35001- |
|||
| ? | 20Y-43-12143 | LEVER | 1 | SN: 36438- |
|||
| ? | 01010-51035 | BOLT | 1 | SN: 35001- |
|||
| ? | 01602-21030 | WASHER,SPRING | 1 | SN: 35001- |
|||
| ? | 04252-21061 | END | 1 | SN: 36438- |
|||
| ? | 01582-11008 | NUT | 1 | SN: 36438- |
|||
| ? | 01593-31008 | NUT | 1 | SN: 36438- |
|||
| ? | 04050-12018 | PIN,COTTER | 1 | SN: 36438- |
|||
| ? | 20Y-43-12116 | SPRING ASS'Y | 1 | SN: 38103- |
|||
| ? | □20Y-43-12115 | SPRING ASS'Y | 1 | SN: 36438-38102 |
|||
| ? | 20Y-43-12180 | JOINT | 1 | SN: 36438- |
|||
| ? | 01580-10605 | NUT | 1 | SN: 36438- |
|||
| ? | 01602-20619 | WASHER,SPRING | 1 | SN: 36438- |
|||
| ? | (600-815-2170) | SWITCH,HEATER | 1 | SN: 35001- |
|||
| ? | 01435-20612 | BOLT | 2 | SN: 35001- |
|||
| ? | 01582-11008 | NUT | 1 | SN: 36438- |
