| Номер на схеме | Каталожный номер | Название | Количество | Детали | |||
|---|---|---|---|---|---|---|---|
| ? | (☉206-06-X2301) | CAB HARNESS GROUP | 1 | SN: 35001-36613 KIT-FLAG: _- SERIALNO: 35001-36613 |
|||
| ? | ==================== | SERIALNO: |
|||||
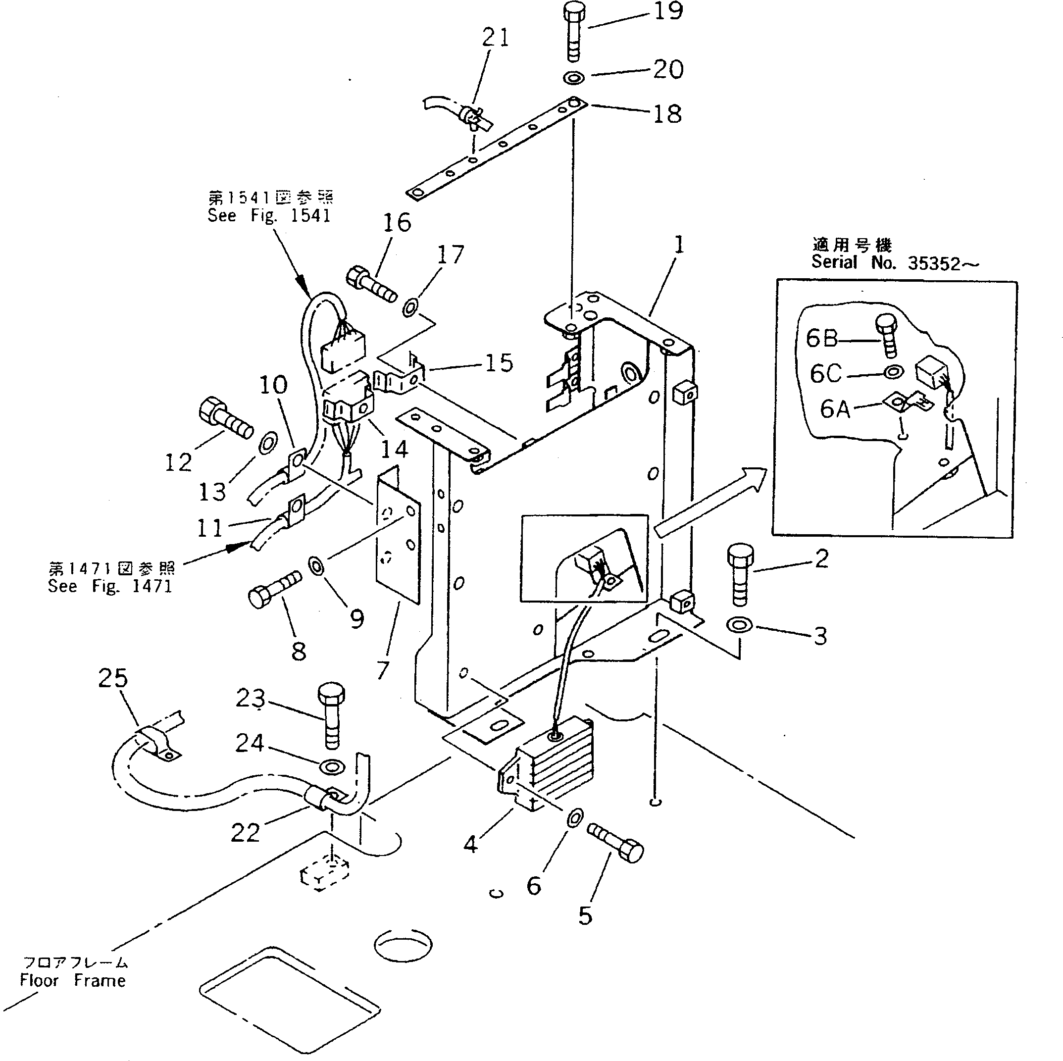
| ? | 20Y-06-16221 | BRACKET | 1 | SN: 35001-36613 KIT-FLAG: _- SERIALNO: 35001-36613 |
|||
| ? | 01010-51225 | BOLT | 3 | SN: 35001-@ KIT-FLAG: _- SERIALNO: 35001-@ |
|||
| ? | 01643-31232 | WASHER | 3 | SN: 35001-@ KIT-FLAG: _- SERIALNO: 35001-@ |
|||
| ? | 7827-11-1520 | RESISTOR | 1 | SN: 35001-@ KIT-FLAG: _- SERIALNO: 35001-@ |
|||
| ? | 01010-50820 | BOLT | 2 | SN: 35001-36613 KIT-FLAG: _- SERIALNO: 35001-36613 |
|||
| ? | 01643-30823 | WASHER | 2 | SN: 35001-@ KIT-FLAG: _- SERIALNO: 35001-@ |
|||
| ? | 08053-01512 | CLIP | 1 | SN: 35568-@ KIT-FLAG: _- SERIALNO: 35568-@ |
|||
| ? | □08053-01512 | CLIP | 1 | SN: 35352-35567 KIT-FLAG: _- SERIALNO: 35352-35567 |
|||
| ? | 01010-51020 | BOLT | 1 | SN: 35352-@ KIT-FLAG: _- SERIALNO: 35352-@ |
|||
| ? | 01643-31032 | WASHER | 1 | SN: 35352-@ KIT-FLAG: _- SERIALNO: 35352-@ |
|||
| ? | 20Y-06-16520 | STAY | 1 | SN: 35001-@ KIT-FLAG: _- SERIALNO: 35001-@ |
|||
| ? | 01010-50820 | BOLT | 2 | SN: 35001-@ KIT-FLAG: _- SERIALNO: 35001-@ |
|||
| ? | 01643-30823 | WASHER | 2 | SN: 35001-@ KIT-FLAG: _- SERIALNO: 35001-@ |
|||
| ? | 08035-02514 | CLIP | 1 | SN: 35001-@ KIT-FLAG: _- SERIALNO: 35001-@ |
|||
| ? | 08035-02514 | CLIP | 1 | SN: 35001-@ KIT-FLAG: _- SERIALNO: 35001-@ |
|||
| ? | 01010-51220 | BOLT | 2 | SN: 35001-@ KIT-FLAG: _- SERIALNO: 35001-@ |
|||
| ? | 01643-31232 | WASHER | 2 | SN: 35001-@ KIT-FLAG: _- SERIALNO: 35001-@ |
|||
| ? | 08053-16212 | CLIP | 1 | SN: 35568-@ KIT-FLAG: _- SERIALNO: 35568-@ |
|||
| ? | □7821-92-5310 | BRACKET | 1 | SN: 35001-35567 KIT-FLAG: _- SERIALNO: 35001-35567 |
|||
| ? | 08053-15012 | CLIP | 1 | SN: 35568-@ KIT-FLAG: _- SERIALNO: 35568-@ |
|||
| ? | □7821-92-5410 | BRACKET | 1 | SN: 35001-35567 KIT-FLAG: _- SERIALNO: 35001-35567 |
|||
| ? | 01010-50816 | BOLT | 2 | SN: 35001-@ KIT-FLAG: _- SERIALNO: 35001-@ |
|||
| ? | 01643-30823 | WASHER | 2 | SN: 35001-@ KIT-FLAG: _- SERIALNO: 35001-@ |
|||
| ? | 20Y-06-16261 | PLATE | 1 | SN: 35001-@ KIT-FLAG: _- SERIALNO: 35001-@ |
|||
| ? | 01010-50816 | BOLT | 2 | SN: 35001-@ KIT-FLAG: _- SERIALNO: 35001-@ |
|||
| ? | 01643-30823 | WASHER | 2 | SN: 35001-@ KIT-FLAG: _- SERIALNO: 35001-@ |
|||
| ? | 20Y-06-16250 | CLIP | 5 | SN: 35001-@ KIT-FLAG: _- SERIALNO: 35001-@ |
|||
| ? | 08036-03014 | CLIP | 1 | SN: 35001-36613 KIT-FLAG: _- SERIALNO: 35001-36613 |
|||
| ? | 01010-51220 | BOLT | 1 | SN: 35001-36613 KIT-FLAG: _- SERIALNO: 35001-36613 |
|||
| ? | 01643-31232 | WASHER | 1 | SN: 35001-@ KIT-FLAG: _- SERIALNO: 35001-@ |
|||
| ? | 141-06-11220 | CLIP | 1 | SN: 35001-@ KIT-FLAG: _- SERIALNO: 35001-@ |
|||
| ? | ==================== | SERIALNO: |
