k-part
Номер на схеме Каталожный номер Название Количество Детали
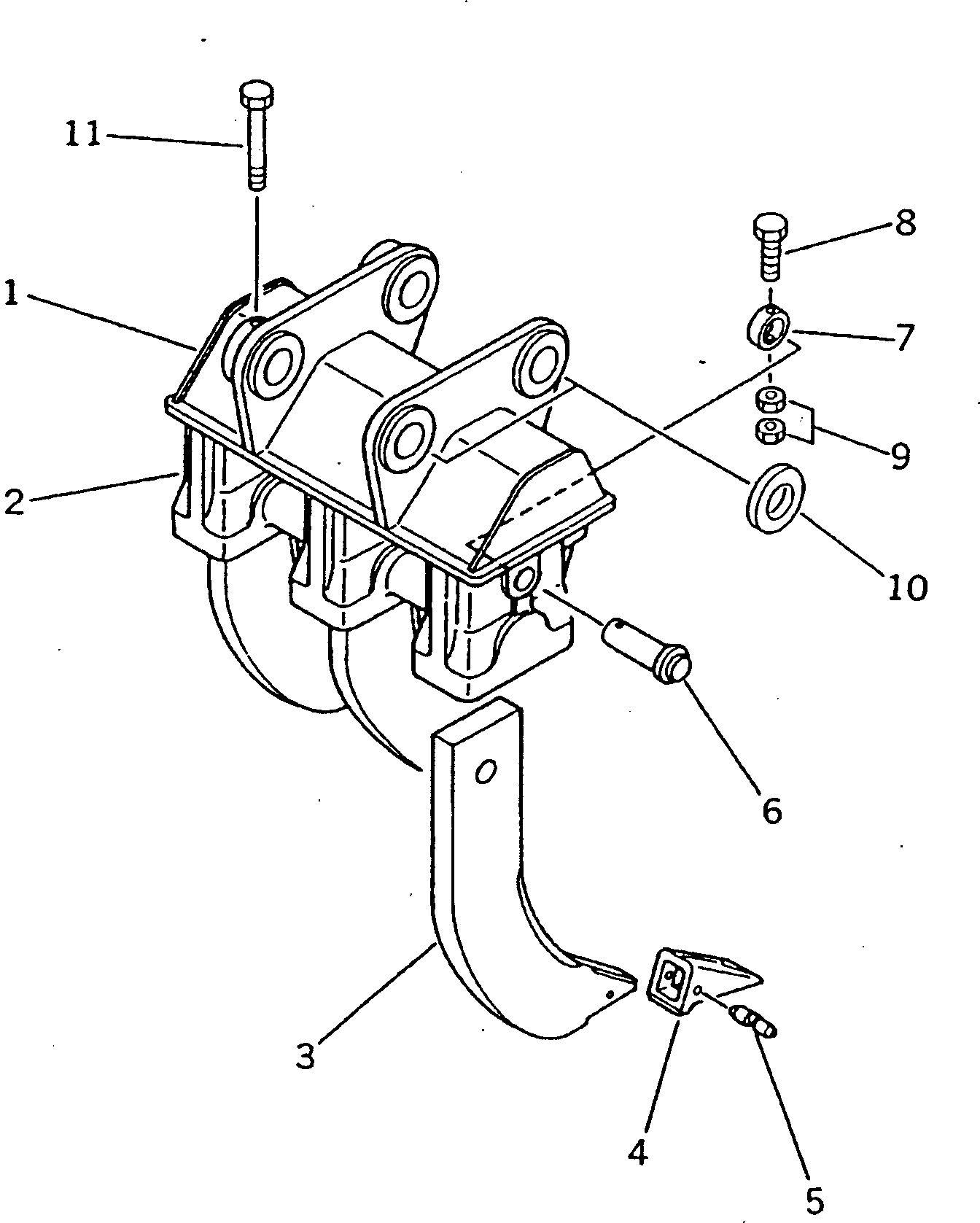
? (☉20Y-951-X101) RIPPER GROUP 1
SN: 35001-
? ====================
? 205-951-0013 RIPPER ASS'Y 1
SN: 35001-
? • BRACKET 1
SN: 35001-
? 205-951-6120 • • HOLDER 3
SN: 35001-
? 205-951-0020 • SHANK ASS'Y 3
SN: 35001-
? • • SHANK 1
SN: 35001-
? 131-78-31190 • • POINT 1
SN: 35001-
? 09244-02489 • • PIN 1
SN: 35001-
? 205-951-6140 • PIN 3
SN: 35001-
? 205-951-6150 • COLLAR 3
SN: 35001-
? 01019-11205 • BOLT 3
SN: 35001-
? 01580-11210 • NUT 6
SN: 35001-
? 205-70-74410 COLLAR 2
SN: 35001-
? 205-70-73190 BOLT 1
SN: 35001-
? ====================

Excavators Komatsu / PC220-5C S/N 35001-UP(pc220-4r) / THREE SHANK RIPPER(210680 : 7981)