k-part
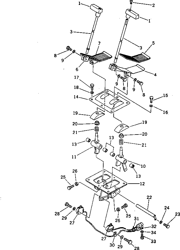
Номер на схеме Каталожный номер Название Количество Детали
? 203-43-41340 KNOB 2
SN: 20001-
? 207-09-11130 SCREW 2
SN: 20001-
? 205-43-71871 LEVER 2
SN: 20001-
? 205-43-71883 PEDAL,L.H. 1
SN: 21191-
? 205-43-71911 • CAP,PEDAL 1
SN: 21191-
? 205-43-71893 PEDAL,R.H. 1
SN: 21191-
? 205-43-71911 • CAP,PEDAL 1
SN: 21191-
? 01010-50825 BOLT 4
SN: 20001-
? 01643-30823 WASHER 4
SN: 20001-
? 205-43-71472 LEVER,L.H. 1
SN: 20001-
? 205-43-73270 LEVER,R.H. 1
SN: 20001-
? 205-43-71463 BRACKET 1
SN: 20001-
? 195-61-34130 BEARING 4
SN: 20001-
? 205-43-71590 COVER 1
SN: 20001-
? 01010-51016 BOLT 2
SN: 20001-
? 01643-31032 WASHER 2
SN: 20001-
? 01010-51235 BOLT 4
SN: 20001-
? 01643-31232 WASHER 4
SN: 20001-
? 20S-43-11230 COVER 2
SN: 20001-
? 203-43-41660 SPACER 2
SN: 20001-
? 09340-10130 SPRING 2
SN: 20001-
? 205-43-73280 SHAFT 1
SN: 20001-
? 01010-50616 BOLT 1
SN: 20001-
? 01643-30623 WASHER 1
SN: 20001-
? 01016-51040 BOLT 4
SN: 20001-
? 01580-11008 NUT 4
SN: 20001-
? 22W-06-15860 SWITCH 2
SN: 20001-
? 01010-51030 BOLT 4
SN: 20001-
? 01643-31032 WASHER 4
SN: 20001-
? 08036-10814 CLIP 1
SN: 20001-
? 08034-00519 BAND 1
SN: 20001-21569
? 195-06-41820 CLIP 2
SN: 23164-
? □08036-01814 CLIP 2
SN: 20001-23163
? 01010-51225 BOLT 1
SN: 20001-
? 01643-31232 WASHER 1
SN: 20001-

Excavators Komatsu / PC220-3 S/N 20001-UP(pc220-3r) / TRAVEL CONTROL LEVER AND LINKAGE (1/2) (FOR LONG LEVER CONTROL)  (WITH AUTO DECELERATION)(#21191-)(060070 : 2301A)