| Номер на схеме | Каталожный номер | Название | Количество | Детали | |||
|---|---|---|---|---|---|---|---|
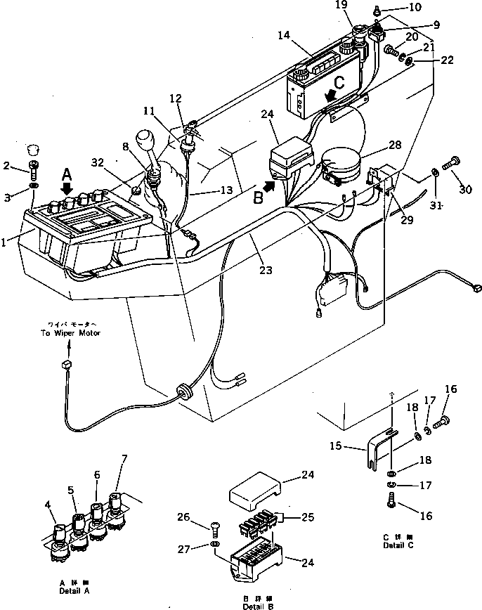
| ? | (7861-22-1100) | PANEL ASS'Y | 1 | SN: 20001-@ |
|||
| ? | 01220-40616 | SCREW | 4 | SN: 20001-@ |
|||
| ? | 01641-20608 | WASHER | 4 | SN: 20001-@ |
|||
| ? | 205-06-72160 | SWITCH,MODE | 1 | SN: 20001-@ |
|||
| ? | 205-06-71321 | SWITCH,HEATER | 1 | SN: 20001-@ |
|||
| ? | 205-06-71331 | SWITCH,LAMP | 1 | SN: 20001-@ |
|||
| ? | 205-06-71341 | SWITCH,WIPER | 1 | SN: 20001-@ |
|||
| ? | 205-06-64540 | LAMP | 1 | SN: 20001-@ |
|||
| ? | 08111-02430 | • BULB ? 3W | 1 | SN: 20001-@ |
|||
| ? | 23S-06-14410 | SWITCH,AUTO DECELERATION | 1 | SN: 20001-21555 |
|||
| ? | 203-06-41610 | CAP | 1 | SN: 20001-@ |
|||
| ? | 08086-20000 | SWITCH,STARTING | 1 | SN: 20001-21555 |
|||
| ? | 205-26-91140 | SPACER | 1 | SN: 20001-@ |
|||
| ? | 205-06-71520 | WIRING HARNESS | 1 | SN: 20001-21555 |
|||
| ? | 205-06-72510 | RADIO ASS'Y | 1 | SN: 21349-@ |
|||
| ? | 20G-06-15110 | RADIO | 1 | SN: 20001-21348 |
|||
| ? | 205-06-71461 | PLATE | 1 | SN: 20001-21555 |
|||
| ? | 01220-40512 | SCREW | 2 | SN: 20001-@ |
|||
| ? | 01601-20513 | WASHER,SPRING | 2 | SN: 20001-@ |
|||
| ? | 01642-20508 | WASHER | 2 | SN: 20001-@ |
|||
| ? | 195-822-6151 | LIGHTER | 1 | SN: 20001-@ |
|||
| ? | 01220-40408 | SCREW | 2 | SN: 20001-@ |
|||
| ? | 01601-20410 | WASHER,SPRING | 2 | SN: 20001-@ |
|||
| ? | 01641-20405 | WASHER | 2 | SN: 20001-@ |
|||
| ? | 205-06-71723 | WIRING HARNESS | 1 | SN: 20001-21555 |
|||
| ? | 205-06-71480 | • FUSE BOX | 1 | SN: 20001-@ |
|||
| ? | 205-06-73180 | • FUSE ? 15A | 9 | SN: 20001-21555 |
|||
| ? | 01220-40616 | SCREW | 2 | SN: 20001-@ |
|||
| ? | 01643-30623 | WASHER | 2 | SN: 20001-21555 |
|||
| ? | 08166-02480 | BUZZER | 1 | SN: 20001-21555 |
|||
| ? | 206-06-41130 | RELAY,HORN | 1 | SN: 20001-@ |
|||
| ? | 01220-40616 | SCREW | 1 | SN: 20001-@ |
|||
| ? | 01643-30623 | WASHER | 1 | SN: 20001-@ |
|||
| ? | 09415-00706 | CAP | 1 | SN: 20001-@ |
