| Номер на схеме | Каталожный номер | Название | Количество | Детали | |||
|---|---|---|---|---|---|---|---|
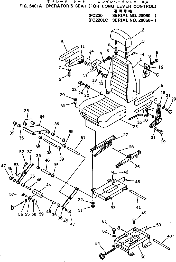
| ? | 205-57-00062 | OPERATOR'S SEAT A. | 1 | SN: 20050- |
|||
| ? | 205-57-00072 | • SEAT ASS'Y | 1 | SN: 20050- |
|||
| ? | 205-57-72321 | • • CUSHION,BACK | 1 | SN: 20050- |
|||
| ? | 205-57-72411 | • • REST,HEAD | 1 | SN: 20050- |
|||
| ? | ☆ | • • HOLDER | 2 | SN: 20001- |
|||
| ? | ☆ | • • SPRING | 2 | SN: 20001- |
|||
| ? | 205-57-72341 | • • REST,ARM | 2 | SN: 20050- |
|||
| ? | 01010-50835 | • • BOLT | 4 | SN: 20001- |
|||
| ? | 01602-20825 | • • WASHER,SPRING | 4 | SN: 20001- |
|||
| ? | 01010-51020 | • • BOLT | 4 | SN: 20001- |
|||
| ? | 01643-31032 | • • WASHER | 4 | SN: 20001- |
|||
| ? | 205-57-72441 | • • SUPPORT,L.H. | 1 | SN: 20050- |
|||
| ? | 205-57-72451 | • • SUPPORT,R.H. | 1 | SN: 20050- |
|||
| ? | 01010-51220 | • • BOLT | 4 | SN: 20001- |
|||
| ? | 01643-31232 | • • WASHER | 4 | SN: 20001- |
|||
| ? | 175-54-27350 | • • SPRING | 4 | SN: 20001- |
|||
| ? | 205-57-72590 | • • SEAL | 1 | SN: 20001- |
|||
| ? | 205-57-72361 | • • BRACKET,L.H. | 1 | SN: 20050- |
|||
| ? | 205-57-72371 | • • BRACKET,R.H. | 1 | SN: 20050- |
|||
| ? | 205-57-63510 | • • LEVER | 1 | SN: 20001- |
|||
| ? | 01010-51020 | • • BOLT | 2 | SN: 20001- |
|||
| ? | 01010-51050 | • • BOLT | 2 | SN: 20001- |
|||
| ? | 01602-21030 | • • WASHER,SPRING | 4 | SN: 20001- |
|||
| ? | 203-57-21330 | • • SPACER | 1 | SN: 20001- |
|||
| ? | 01010-51020 | • • BOLT | 1 | SN: 20001- |
|||
| ? | 01602-21030 | • • WASHER,SPRING | 1 | SN: 20001- |
|||
| ? | 205-57-00023 | • • CUSHION ASS'Y | 1 | SN: 20050- |
|||
| ? | ☆ | • • • CUSHION | 1 | SN: 20050- |
|||
| ? | ☆ | • • • ADJUSTER | 1 | SN: 20001- |
|||
| ? | ☆ | • • • ADJUSTER | 1 | SN: 20001- |
|||
| ? | 205-57-63540 | • • • BAR | 1 | SN: 20001- |
|||
| ? | ☆ | • • • NUT | 4 | SN: 20001- |
|||
| ? | ☆ | • • • WASHER,SPRING | 4 | SN: 20001- |
|||
| ? | 01580-01210 | • NUT | 4 | SN: 20001- |
|||
| ? | 01643-31232 | • WASHER | 4 | SN: 20001- |
|||
| ? | 205-57-00031 | • STAND ASS'Y | 1 | SN: 20050- |
|||
| ? | 205-57-72550 | • • BRACKET | 1 | SN: 20050- |
|||
| ? | 205-57-72520 | • • LINK | 1 | SN: 20050- |
|||
| ? | 203-57-21280 | • • BUSHING | 10 | SN: 20001- |
|||
| ? | 205-57-72530 | • • LINK | 1 | SN: 20050- |
|||
| ? | 205-57-72540 | • • LINK | 1 | SN: 20050- |
|||
| ? | 205-57-63190 | • • PIN | 1 | SN: 20001- |
|||
| ? | 203-57-21310 | • • ROLLER | 2 | SN: 20001- |
|||
| ? | 205-57-72560 | • • COLLAR | 1 | SN: 20050- |
|||
| ? | 205-57-63180 | • • PIN | 1 | SN: 20001- |
|||
| ? | 207-57-11240 | • • PIN | 1 | SN: 20001- |
|||
| ? | 04050-11610 | • • PIN,COTTER | 1 | SN: 20001- |
|||
| ? | 205-57-72570 | • • BAR | 1 | SN: 20050- |
|||
| ? | 203-57-21320 | • • SHIM ? 0.5MM | 20 | SN: 20001- |
|||
| ? | 207-57-11220 | • • PIN | 2 | SN: 20001- |
|||
| ? | 203-57-21310 | • • ROLLER | 2 | SN: 20001- |
|||
| ? | 205-57-63160 | • • PIN | 1 | SN: 20001- |
|||
| ? | 207-57-11240 | • • PIN | 1 | SN: 20001- |
|||
| ? | 04050-11610 | • • PIN,COTTER | 1 | SN: 20001- |
|||
| ? | 205-57-63170 | • • PIN | 1 | SN: 20001- |
|||
| ? | 207-57-11240 | • • PIN | 1 | SN: 20001- |
|||
| ? | 04050-11610 | • • PIN,COTTER | 1 | SN: 20001- |
|||
| ? | 205-57-63230 | • • KNOB | 1 | SN: 20001- |
|||
| ? | 205-57-72580 | • • NUT | 1 | SN: 20050- |
|||
| ? | 01643-31445 | • • WASHER | 1 | SN: 20001- |
|||
| ? | 205-57-63250 | • • PIN | 1 | SN: 20001- |
|||
| ? | 01641-20608 | • • WASHER | 1 | SN: 20001- |
|||
| ? | 04050-11610 | • • PIN,COTTER | 1 | SN: 20001- |
|||
| ? | 205-57-72510 | • • BRACKET | 1 | SN: 20050- |
|||
| ? | 01010-51230 | BOLT | 4 | SN: 20001- |
|||
| ? | 01643-31232 | WASHER | 4 | SN: 20001- |
