| Номер на схеме | Каталожный номер | Название | Количество | Детали | |||
|---|---|---|---|---|---|---|---|
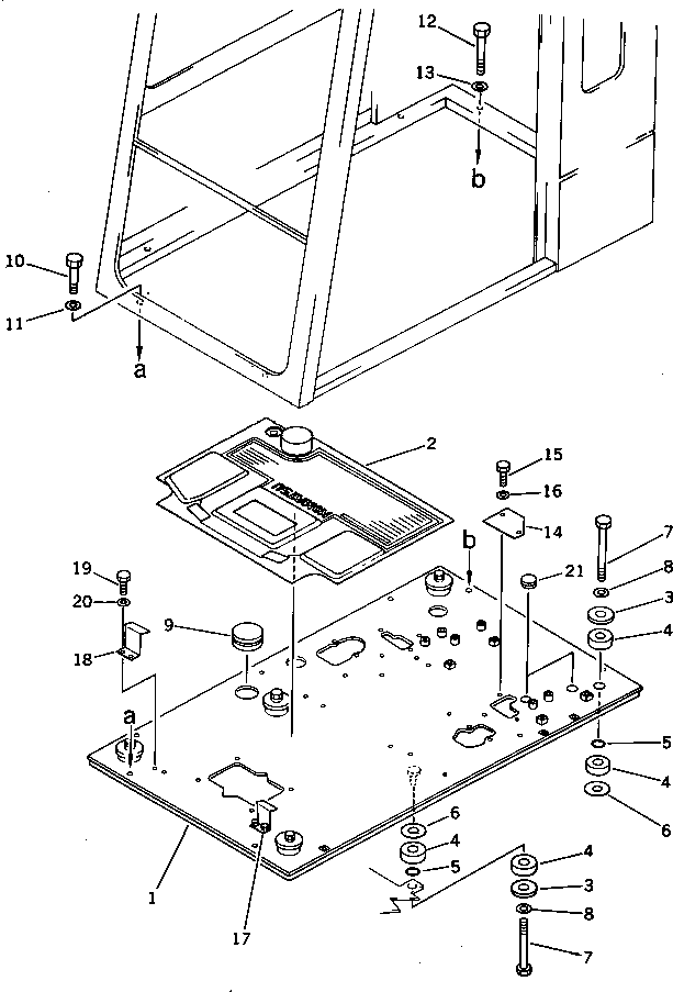
| ? | 205-54-71165 | FRAME,FLOOR | 1 | SN: 21556- |
|||
| ? | 205-54-72421 | MAT,FLOOR | 1 | SN: 20001- |
|||
| ? | 205-54-71691 | PLATE | 6 | SN: 20001- |
|||
| ? | 205-54-71680 | CUSHION | 12 | SN: 20001- |
|||
| ? | 07000-03028 | O-RING | 6 | SN: 20001- |
|||
| ? | 205-54-72640 | SPACER | 6 | SN: 20001- |
|||
| ? | 01011-51600 | BOLT | 6 | SN: 20001- |
|||
| ? | 01643-31645 | WASHER | 6 | SN: 20001- |
|||
| ? | 09415-05016 | CAP | 2 | SN: 20001- |
|||
| ? | 01010-51250 | BOLT | 3 | SN: 20001- |
|||
| ? | 01643-31232 | WASHER | 3 | SN: 20001- |
|||
| ? | 01010-51270 | BOLT | 6 | SN: 20001- |
|||
| ? | 01643-31232 | WASHER | 6 | SN: 20001- |
|||
| ? | 205-06-71771 | PLATE | 1 | SN: 20050- |
|||
| ? | 01010-51025 | BOLT | 2 | SN: 22511- |
|||
| ? | 01010-51020 | BOLT | 2 | SN: 20001-22510 |
|||
| ? | 01643-31032 | WASHER | 2 | SN: 20001- |
|||
| ? | 203-43-42572 | BRACKET,L.H. | 1 | SN: 21570- |
|||
| ? | 205-43-73590 | BRACKET,L.H. | 1 | SN: 21191-21569 |
|||
| ? | 203-43-42572 | BRACKET,R.H. | 1 | SN: 21570- |
|||
| ? | 205-43-73610 | BRACKET,R.H. | 1 | SN: 21191-21569 |
|||
| ? | 01010-51025 | BOLT | 4 | SN: 20001- |
|||
| ? | 01643-31032 | WASHER | 4 | SN: 20001- |
|||
| ? | 09415-02520 | CAP | 2 | SN: 20001- |
