| Номер на схеме | Каталожный номер | Название | Количество | Детали | |||
|---|---|---|---|---|---|---|---|
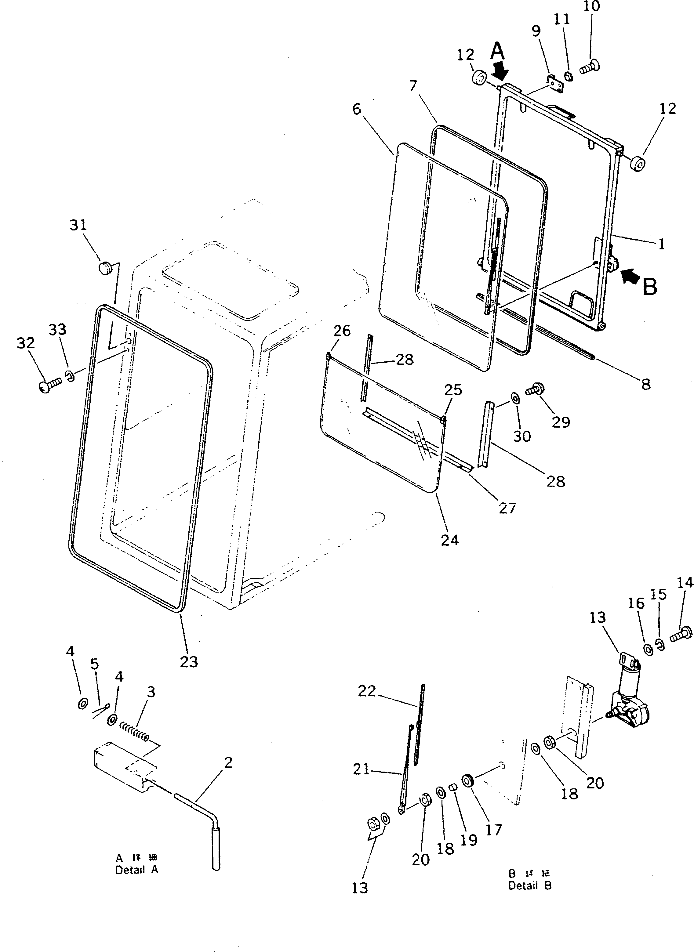
| ? | (205-54-00322) | OPERATOR'S CAB ASS'Y | 1 | SN: 23297- |
|||
| ? | □205-54-00321 | OPERATOR'S CAB ASS'Y | 1 | SN: 21992-23296 |
|||
| ? | 205-54-00261 | • FRONT WINDOW ASS'Y | 1 | SN: 20050- |
|||
| ? | 205-54-71132 | • • WINDOW,FRONT | 1 | SN: 20050- |
|||
| ? | 205-54-72650 | • • PIN | 2 | SN: 20001- |
|||
| ? | 205-54-66330 | • • SPRING | 2 | SN: 20001- |
|||
| ? | 01641-21016 | • • WASHER | 4 | SN: 20001- |
|||
| ? | 04050-13018 | • • PIN,COTTER | 2 | SN: 20001- |
|||
| ? | 205-54-71211 | • • GLASS | 1 | SN: 20001- |
|||
| ? | 205-54-71520 | • • STRIP,WEATHER | 1 | SN: 20001- |
|||
| ? | 205-54-71621 | • • SEAL | 1 | SN: 20001- |
|||
| ? | 205-54-72570 | • • STRIKER | 1 | SN: 20001- |
|||
| ? | 01224-40820 | • • SCREW | 3 | SN: 20001- |
|||
| ? | 205-54-72750 | • • WASHER,LOCK | 3 | SN: 20001- |
|||
| ? | 205-54-72590 | • • ROLLER | 4 | SN: 20001- |
|||
| ? | 205-06-71410 | • WIPER MOTOR ASS'Y | 1 | SN: 20001- |
|||
| ? | 01220-40516 | • SCREW | 2 | SN: 20001- |
|||
| ? | 01601-20513 | • WASHER,SPRING | 2 | SN: 20001- |
|||
| ? | 01641-20508 | • WASHER | 2 | SN: 20001- |
|||
| ? | 205-06-62230 | • GROMMET | 1 | SN: 20001- |
|||
| ? | 205-06-62270 | • WASHER | 2 | SN: 20001- |
|||
| ? | 205-06-62240 | • COLLAR | 1 | SN: 20001- |
|||
| ? | 205-06-62250 | • NUT | 2 | SN: 20001- |
|||
| ? | 205-06-71420 | • ARM | 1 | SN: 20001- |
|||
| ? | ND857199-0100 | • • PIN KIT | 1 | SN: 20001- |
|||
| ? | 205-06-62570 | • BLADE | 1 | SN: 20001- |
|||
| ? | 205-54-71510 | • TRIM | 1 | SN: 20001- |
|||
| ? | 205-54-76310 | • GLASS ASS'Y | 1 | SN: 20001- |
|||
| ? | 205-54-72721 | • • SEAL,L.H. | 1 | SN: 20001- |
|||
| ? | 205-54-72731 | • • SEAL,R.H. | 1 | SN: 20001- |
|||
| ? | 205-54-72623 | • BRACKET | 1 | SN: 21992- |
|||
| ? | 205-54-73370 | • BRACKET | 2 | SN: 21992- |
|||
| ? | 01220-40616 | • SCREW | 6 | SN: 21992- |
|||
| ? | 01643-30623 | • WASHER | 6 | SN: 21992- |
|||
| ? | 09415-01008 | • CAP | 1 | SN: 20001- |
|||
| ? | 01220-40412 | • SCREW | 2 | SN: 20001- |
|||
| ? | 01601-20410 | • WASHER,SPRING | 2 | SN: 20001- |
