| Номер на схеме | Каталожный номер | Название | Количество | Детали | |||
|---|---|---|---|---|---|---|---|
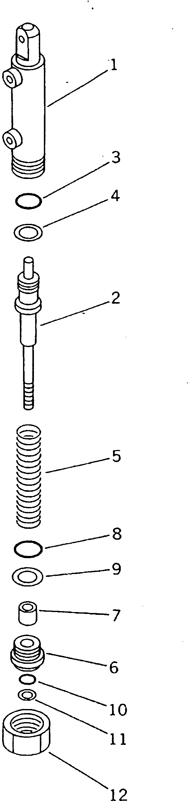
| ? | 205-43-74120 | CYLINDER ASS'Y | 1 | SN: 20001- |
|||
| ? | 205-43-74130 | • CYLINDER | 1 | SN: 20001- |
|||
| ? | 205-43-74140 | • PISTON | 1 | SN: 20001- |
|||
| ? | 07002-12434 | • O-RING | 1 | SN: 20001- |
|||
| ? | 07001-03022 | • RING,BACK-UP | 1 | SN: 20001- |
|||
| ? | 205-43-74150 | • SPRING | 1 | SN: 20001- |
|||
| ? | 20X-62-13612 | • STOPPER | 1 | SN: 20001- |
|||
| ? | 20X-62-13622 | • BUSHING | 1 | SN: 20001- |
|||
| ? | 07000-13028 | • O-RING | 1 | SN: 20001- |
|||
| ? | 07001-03028 | • RING,BACK-UP | 1 | SN: 20001- |
|||
| ? | 07000-12015 | • O-RING | 1 | SN: 20001- |
|||
| ? | 07001-02015 | • RING,BACK-UP | 1 | SN: 20001- |
|||
| ? | 20X-62-13632 | • NUT | 1 | SN: 20001- |
