| Номер на схеме | Каталожный номер | Название | Количество | Детали | |||
|---|---|---|---|---|---|---|---|
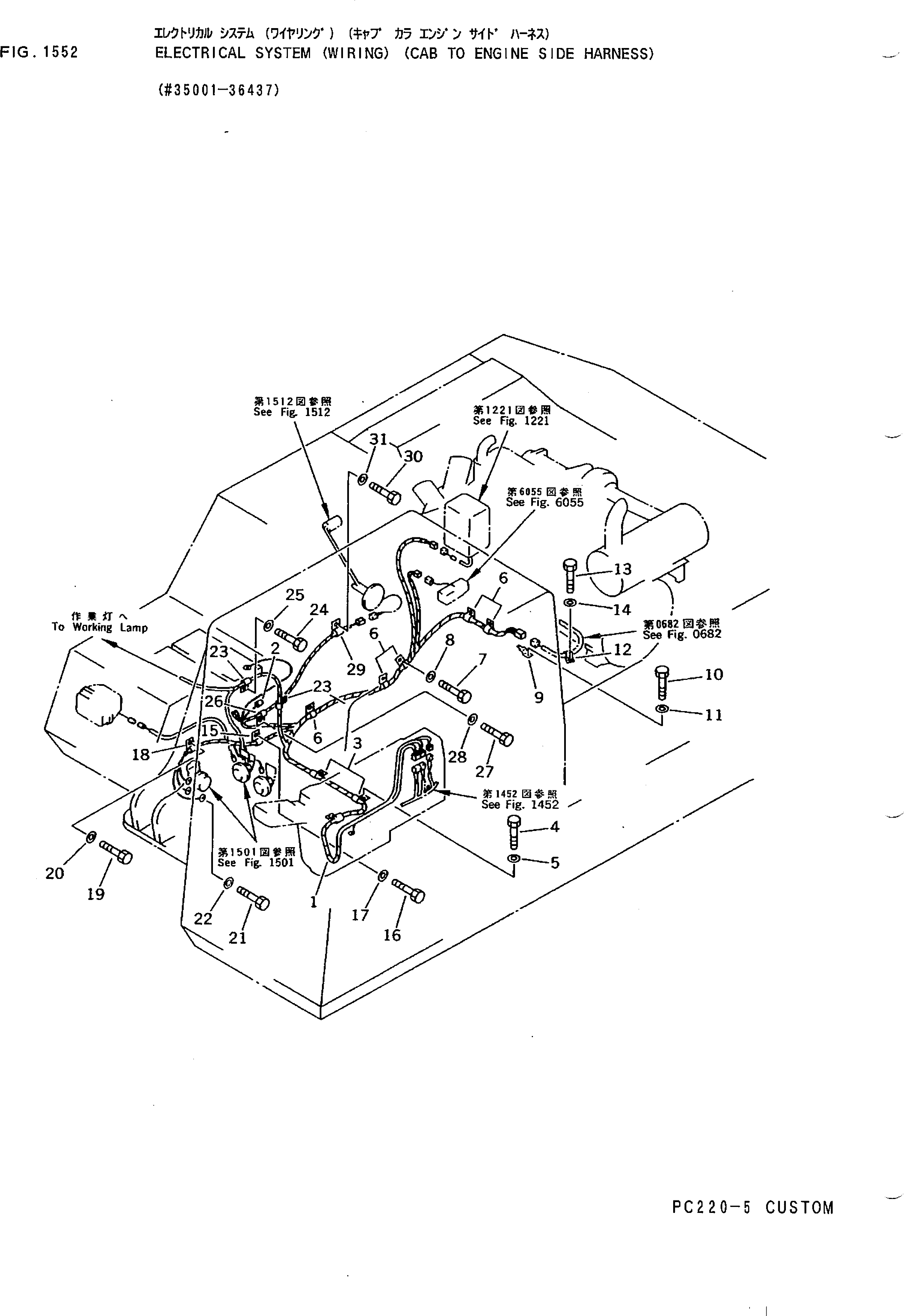
| ? | 20Y-06-17140 | WIRING HARNESS | 1 | SN: 35001-36437 KIT-FLAG: _- SERIALNO: 35001-36437 |
|||
| ? | 20Y-06-15150 | • FUSIBLE LINK,FUSE | 1 | SN: 35001-@ KIT-FLAG: _- SERIALNO: 35001-@ |
|||
| ? | 08036-02514 | CLIP | 2 | SN: 35001-@ KIT-FLAG: _- SERIALNO: 35001-@ |
|||
| ? | 01010-51225 | BOLT | 2 | SN: 35001-@ KIT-FLAG: _- SERIALNO: 35001-@ |
|||
| ? | 01643-31232 | WASHER | 2 | SN: 35001-@ KIT-FLAG: _- SERIALNO: 35001-@ |
|||
| ? | 08036-01814 | CLIP | 5 | SN: 35001-@ KIT-FLAG: _- SERIALNO: 35001-@ |
|||
| ? | 01010-51225 | BOLT | 4 | SN: 35001-@ KIT-FLAG: _- SERIALNO: 35001-@ |
|||
| ? | 01643-31232 | WASHER | 4 | SN: 35001-@ KIT-FLAG: _- SERIALNO: 35001-@ |
|||
| ? | 08053-00912 | CLIP | 1 | SN: 35001-@ KIT-FLAG: _- SERIALNO: 35001-@ |
|||
| ? | 01010-51225 | BOLT | 1 | SN: 35001-@ KIT-FLAG: _- SERIALNO: 35001-@ |
|||
| ? | 01643-31232 | WASHER | 1 | SN: 35001-@ KIT-FLAG: _- SERIALNO: 35001-@ |
|||
| ? | 08036-01814 | CLIP | 1 | SN: 35001-@ KIT-FLAG: _- SERIALNO: 35001-@ |
|||
| ? | 01010-51225 | BOLT | 1 | SN: 35001-@ KIT-FLAG: _- SERIALNO: 35001-@ |
|||
| ? | 01643-31232 | WASHER | 1 | SN: 35001-@ KIT-FLAG: _- SERIALNO: 35001-@ |
|||
| ? | 08036-02514 | CLIP | 1 | SN: 35001-@ KIT-FLAG: _- SERIALNO: 35001-@ |
|||
| ? | 01010-51225 | BOLT | 1 | SN: 35001-@ KIT-FLAG: _- SERIALNO: 35001-@ |
|||
| ? | 01643-31232 | WASHER | 1 | SN: 35001-@ KIT-FLAG: _- SERIALNO: 35001-@ |
|||
| ? | 08036-01814 | CLIP | 1 | SN: 35001-@ KIT-FLAG: _- SERIALNO: 35001-@ |
|||
| ? | 01010-51225 | BOLT | 1 | SN: 35001-@ KIT-FLAG: _- SERIALNO: 35001-@ |
|||
| ? | 01643-31232 | WASHER | 1 | SN: 35001-@ KIT-FLAG: _- SERIALNO: 35001-@ |
|||
| ? | 01010-50820 | BOLT | 1 | SN: 35001-@ KIT-FLAG: _- SERIALNO: 35001-@ |
|||
| ? | 01643-30823 | WASHER | 1 | SN: 35001-36437 KIT-FLAG: _- SERIALNO: 35001-36437 |
|||
| ? | 08036-01214 | CLIP | 2 | SN: 35001-@ KIT-FLAG: _- SERIALNO: 35001-@ |
|||
| ? | 01010-51225 | BOLT | 2 | SN: 35001-@ KIT-FLAG: _- SERIALNO: 35001-@ |
|||
| ? | 01643-31232 | WASHER | 2 | SN: 35001-@ KIT-FLAG: _- SERIALNO: 35001-@ |
|||
| ? | 08036-01214 | CLIP | 1 | SN: 35001-@ KIT-FLAG: _- SERIALNO: 35001-@ |
|||
| ? | 01010-51225 | BOLT | 1 | SN: 35001-@ KIT-FLAG: _- SERIALNO: 35001-@ |
|||
| ? | 01643-31232 | WASHER | 1 | SN: 35001-@ KIT-FLAG: _- SERIALNO: 35001-@ |
|||
| ? | 08036-01214 | CLIP | 1 | SN: 35001-@ KIT-FLAG: _- SERIALNO: 35001-@ |
|||
| ? | 01010-51016 | BOLT | 1 | SN: 35001-@ KIT-FLAG: _- SERIALNO: 35001-@ |
|||
| ? | 01643-31032 | WASHER | 1 | SN: 35001-@ KIT-FLAG: _- SERIALNO: 35001-@ |
