| Номер на схеме | Каталожный номер | Название | Количество | Детали | |||
|---|---|---|---|---|---|---|---|
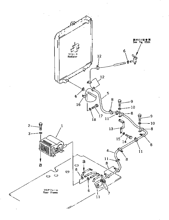
| ? | (☉20Y-977-X101) | CAR HEATER GROUP | 1 | SN: 35001- KIT-FLAG: _- SERIALNO: 35001- |
|||
| ? | ==================== | SERIALNO: |
|||||
| ? | 205-977-7110 | HEATER UNIT | 1 | SN: 35001- KIT-FLAG: _- SERIALNO: 35001- |
|||
| ? | 01010-51020 | BOLT | 3 | SN: 35001- KIT-FLAG: _- SERIALNO: 35001- |
|||
| ? | 01643-31032 | WASHER | 3 | SN: 35001- KIT-FLAG: _- SERIALNO: 35001- |
|||
| ? | 09483-00442 | HOSE | 1 | SN: 35372- KIT-FLAG: _- SERIALNO: 35372- |
|||
| ? | □09483-00443 | HOSE | 1 | SN: 35001-35371 KIT-FLAG: _- SERIALNO: 35001-35371 |
|||
| ? | 09483-00442 | HOSE | 1 | SN: 35372- KIT-FLAG: _- SERIALNO: 35372- |
|||
| ? | □09483-00446 | HOSE | 1 | SN: 35001-35371 KIT-FLAG: _- SERIALNO: 35001-35371 |
|||
| ? | 09480-10100 | CLAMP | 4 | SN: 35001- KIT-FLAG: _- SERIALNO: 35001- |
|||
| ? | 20Y-977-1130 | GROMMET | 2 | SN: 35001- KIT-FLAG: _- SERIALNO: 35001- |
|||
| ? | 141-06-11220 | CLIP | 7 | SN: 35001- KIT-FLAG: _- SERIALNO: 35001- |
|||
| ? | 01010-51225 | BOLT | 7 | SN: 35001- KIT-FLAG: _- SERIALNO: 35001- |
|||
| ? | 01643-31232 | WASHER | 7 | SN: 35001- KIT-FLAG: _- SERIALNO: 35001- |
|||
| ? | 08034-00519 | BAND | 4 | SN: 35001- KIT-FLAG: _- SERIALNO: 35001- |
|||
| ? | 08034-00536 | BAND | 3 | SN: 35001- KIT-FLAG: _- SERIALNO: 35001- |
|||
| ? | 20Y-977-1180 | BRACKET | 1 | SN: 35001- KIT-FLAG: _- SERIALNO: 35001- |
|||
| ? | 01010-51225 | BOLT | 2 | SN: 35001- KIT-FLAG: _- SERIALNO: 35001- |
|||
| ? | 01643-31232 | WASHER | 2 | SN: 35001- KIT-FLAG: _- SERIALNO: 35001- |
|||
| ? | 209-04-19140 | CLIP | 1 | SN: 35001- KIT-FLAG: _- SERIALNO: 35001- |
|||
| ? | 01010-51020 | BOLT | 1 | SN: 35001- KIT-FLAG: _- SERIALNO: 35001- |
|||
| ? | 01643-31032 | WASHER | 1 | SN: 35001- KIT-FLAG: _- SERIALNO: 35001- |
|||
| ? | ==================== | SERIALNO: |
