| Номер на схеме | Каталожный номер | Название | Количество | Детали | |||
|---|---|---|---|---|---|---|---|
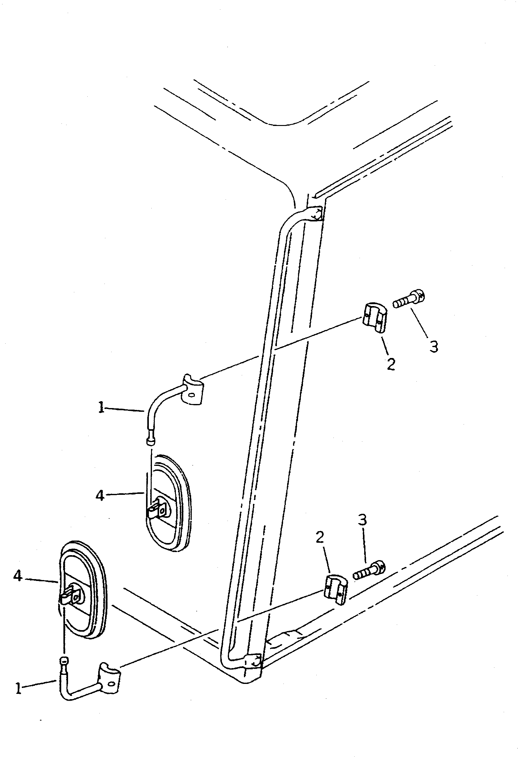
| ? | (☉20Y-99-X1121) | MIRROR GROUP | 1 | SN: 35001- KIT-FLAG: _- SERIALNO: 35001- |
|||
| ? | ==================== | SERIALNO: |
|||||
| ? | 205-54-77121 | SUPPORT | 2 | SN: 35001- KIT-FLAG: _- SERIALNO: 35001- |
|||
| ? | 205-54-77551 | CLAMP | 2 | SN: 35001- KIT-FLAG: _- SERIALNO: 35001- |
|||
| ? | 01252-41025 | BOLT | 4 | SN: 35001- KIT-FLAG: _- SERIALNO: 35001- |
|||
| ? | 08174-13118 | MIRROR | 2 | SN: 35001- KIT-FLAG: _- SERIALNO: 35001- |
|||
| ? | ==================== | SERIALNO: |
