k-part
Номер на схеме Каталожный номер Название Количество Детали
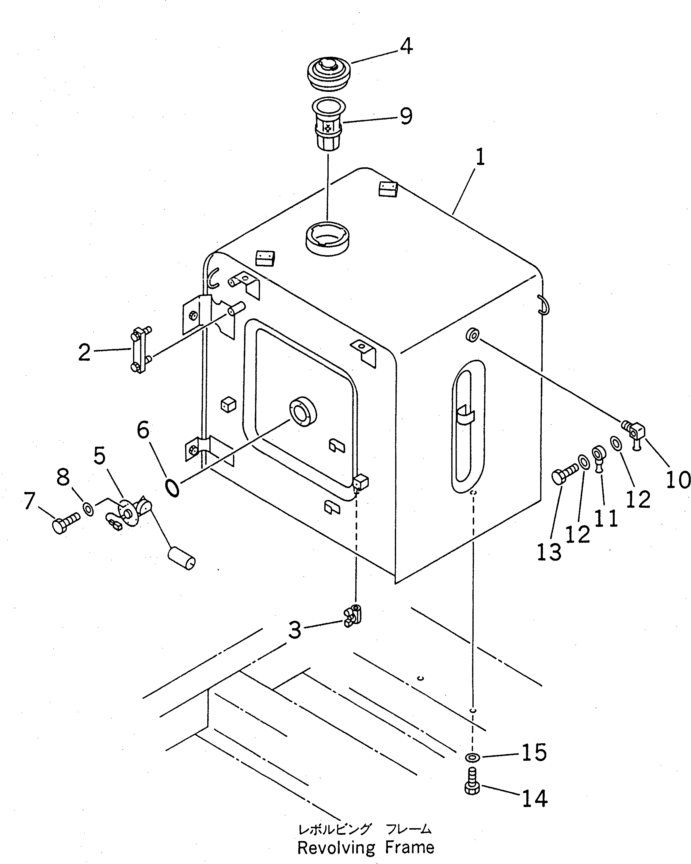
? 20Y-04-00061 FUEL TANK ASS'Y 1
SN: 30001-30915
? • TANK 1
SN: 30001-30915
? 21S-04-11150 • GAUGE 1
SN: 30001-30915
? 07700-50240 VALVE 1
SN: 30470-@
? □20Y-04-11130 VALVE 1
SN: 30001-30469
? 20Y-04-11160 CAP 1
SN: 30001-@
? 20Y-04-11240 • PACKING 1
SN: 30001-@
? 7861-92-5810 SENSOR 1
SN: 30001-@
? 07000-03050 O-RING 1
SN: 30001-@
? 01010-50612 BOLT 4
SN: 30001-30915
? 01643-30623 WASHER 4
SN: 30001-@
? 205-04-71140 STRAINER 1
SN: 30001-@
? 20Y-04-21131 ELBOW 1
SN: 30001-@
? 20Y-04-21141 TUBE 1
SN: 30001-@
? 07005-00812 GASKET 2
SN: 30001-@
? 07206-30508 BOLT 1
SN: 30001-@
? 01010-51635 BOLT 6
SN: 30001-30915
? 01643-31645 WASHER 6
SN: 30001-@

Excavators Komatsu / PC210LC-6 S/N 30001-UP(pc210lcr) / FUEL TANK(#30001-30915)(090010 : D0100-01A0)