k-part
Номер на схеме Каталожный номер Название Количество Детали
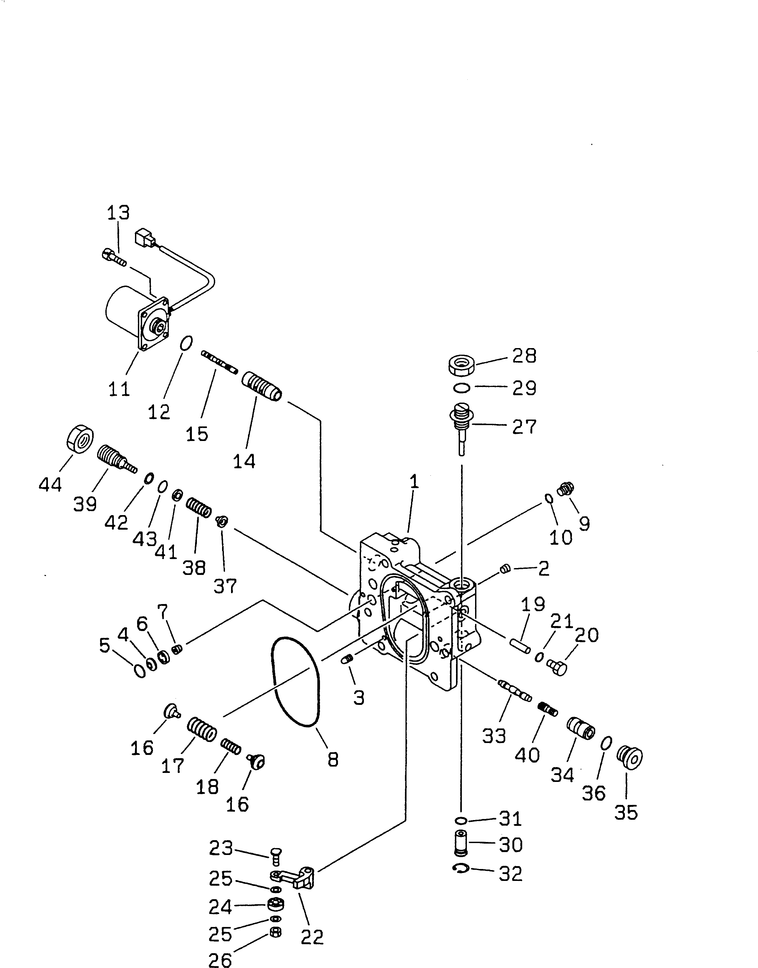
? (708-2L-00151) PUMP ASS'Y 1
SN: 30500-30979
KIT-FLAG: _-
SERIALNO: 30500-30979
? THIS ASSEMBLY CONSISTS OF ALL PARTS SHOWN IN FIGS.Y1600-01A0A T0 Y1600-09A0A .
SERIALNO:
? 708-2L-03234 • SERVO VALVE ASS'Y 2
SN: 30391-30979
KIT-FLAG: _-
SERIALNO: 30391-30979
? (★708-2L-03802) • • BODY ASS'Y 1
SN: 30001-30979
KIT-FLAG: _-
SERIALNO: 30001-30979
? • • • BODY 1
SN: 30206-30979
KIT-FLAG: _-
SERIALNO: 30206-30979
? • • • PLUG 9
SN: 30001-30979
KIT-FLAG: _-
SERIALNO: 30001-30979
? • • • EXPANDER 2
SN: 30001-30979
KIT-FLAG: _-
SERIALNO: 30001-30979
? 708-2L-25480 • • FILTER 3
SN: 30001-30979
KIT-FLAG: _-
SERIALNO: 30001-30979
? 708-2L-25490 • • O-RING 3
SN: 30001-30979
KIT-FLAG: _-
SERIALNO: 30001-30979
? (★708-2L-25631) • • SPACER 1
SN: 30001-30979
KIT-FLAG: _-
SERIALNO: 30001-30979
? (★708-2L-25650) • • ORIFICE 1
SN: 30001-30979
KIT-FLAG: _-
SERIALNO: 30001-30979
? 07000-02110 • • O-RING 1
SN: 30001-30979
KIT-FLAG: _-
SERIALNO: 30001-30979
? 708-8E-16150 • • PLUG 2
SN: 30001-30979
KIT-FLAG: _-
SERIALNO: 30001-30979
? 07002-11023 • • O-RING 2
SN: 30001-30979
KIT-FLAG: _-
SERIALNO: 30001-30979
? (★708-2L-25211) • • SOLENOID ASS'Y 1
SN: 30001-30979
KIT-FLAG: _-
SERIALNO: 30001-30979
? (★07000-02016) • • O-RING 1
SN: 30001-30979
KIT-FLAG: _-
SERIALNO: 30001-30979
? (★01252-60612) • • BOLT 4
SN: 30001-30979
KIT-FLAG: _-
SERIALNO: 30001-30979
? (★708-2L-25721) • • SLEEVE 1
SN: 30297-30979
KIT-FLAG: _-
SERIALNO: 30297-30979
? (★708-2L-25740) • • SPOOL 1
SN: 30297-30979
KIT-FLAG: _-
SERIALNO: 30297-30979
? (★708-2L-25291) • • SEAT 2
SN: 30001-30979
KIT-FLAG: _-
SERIALNO: 30001-30979
? (★708-2L-25251) • • SPRING 1
SN: 30001-30979
KIT-FLAG: _-
SERIALNO: 30001-30979
? (★708-2L-25261) • • SPRING 1
SN: 30001-30979
KIT-FLAG: _-
SERIALNO: 30001-30979
? (★708-2L-25281) • • PISTON 1
SN: 30001-30979
KIT-FLAG: _-
SERIALNO: 30001-30979
? (★07040-11007) • • PLUG 1
SN: 30001-30979
KIT-FLAG: _-
SERIALNO: 30001-30979
? (★07002-01023) • • O-RING 1
SN: 30001-30979
KIT-FLAG: _-
SERIALNO: 30001-30979
? (★708-2L-25373) • • LEVER 1
SN: 30001-30979
KIT-FLAG: _-
SERIALNO: 30001-30979
? (★708-2L-25311) • • PIN 1
SN: 30001-30979
KIT-FLAG: _-
SERIALNO: 30001-30979
? (★708-2L-25330) • • BEARING 1
SN: 30001-30979
KIT-FLAG: _-
SERIALNO: 30001-30979
? (★708-2L-25321) • • WASHER 2
SN: 30001-30979
KIT-FLAG: _-
SERIALNO: 30001-30979
? (★01580-00605) • • NUT 1
SN: 30001-30979
KIT-FLAG: _-
SERIALNO: 30001-30979
? (★708-2L-25340) • • PLUG 1
SN: 30001-30979
KIT-FLAG: _-
SERIALNO: 30001-30979
? (★01583-11811) • • NUT 1
SN: 30001-30979
KIT-FLAG: _-
SERIALNO: 30001-30979
? (★07002-01823) • • O-RING 1
SN: 30001-30979
KIT-FLAG: _-
SERIALNO: 30001-30979
? (★708-2L-25382) • • PLUG 1
SN: 30001-30979
KIT-FLAG: _-
SERIALNO: 30001-30979
? (★07000-02010) • • O-RING 1
SN: 30001-30979
KIT-FLAG: _-
SERIALNO: 30001-30979
? (★04065-01610) • • RING 1
SN: 30001-30979
KIT-FLAG: _-
SERIALNO: 30001-30979
? (★708-2L-25731) • • SPOOL 1
SN: 30297-30979
KIT-FLAG: _-
SERIALNO: 30297-30979
? (★708-2L-25521) • • SLEEVE 1
SN: 30001-30979
KIT-FLAG: _-
SERIALNO: 30001-30979
? (★708-2L-25531) • • PLUG 1
SN: 30001-30979
KIT-FLAG: _-
SERIALNO: 30001-30979
? (★07002-12034) • • O-RING 1
SN: 30001-30979
KIT-FLAG: _-
SERIALNO: 30001-30979
? (★708-2L-25542) • • SEAT 1
SN: 30001-30979
KIT-FLAG: _-
SERIALNO: 30001-30979
? (★708-2L-25551) • • SPRING 1
SN: 30001-30979
KIT-FLAG: _-
SERIALNO: 30001-30979
? (★708-2L-25621) • • PLUG 1
SN: 30001-30979
KIT-FLAG: _-
SERIALNO: 30001-30979
? (★708-2L-25611) • • PISTON 1
SN: 30001-30979
KIT-FLAG: _-
SERIALNO: 30001-30979
? (★708-2L-25640) • • SEAT 1
SN: 30001-30979
KIT-FLAG: _-
SERIALNO: 30001-30979
? (★07001-02012) • • RING,BACK-UP 1
SN: 30001-30979
KIT-FLAG: _-
SERIALNO: 30001-30979
? (★07000-12012) • • O-RING 1
SN: 30001-30979
KIT-FLAG: _-
SERIALNO: 30001-30979
? (★01583-12012) • • NUT 1
SN: 30001-30979
KIT-FLAG: _-
SERIALNO: 30001-30979

Excavators Komatsu / PC210LC-6 S/N 30001-UP(pc210lcc) / MAIN PUMP (9/9)(#30500-30979)(480940 : Y1600-09A0A)