k-part
Номер на схеме Каталожный номер Название Количество Детали
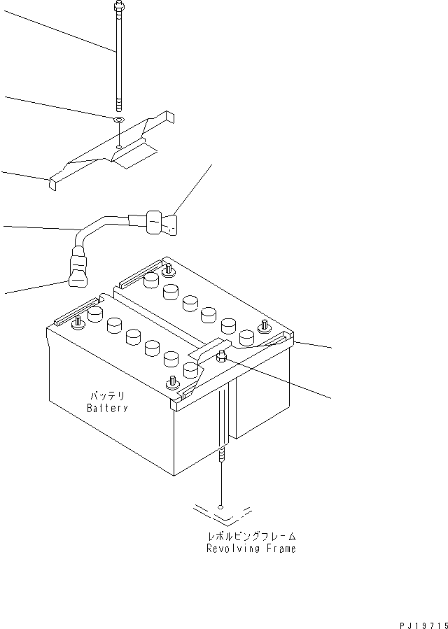
? 205-06-71174 HOLDER 2
SN: 31848-
KIT-FLAG: _-
SERIALNO: 31848-
? 205-06-71173 HOLDER 2
SN: 30001-31847
KIT-FLAG: _-
SERIALNO: 30001-31847
? 205-06-71180 BOLT 2
SN: 30001-
KIT-FLAG: _-
SERIALNO: 30001-
? 01643-31232 WASHER 2
SN: 31848-
KIT-FLAG: _-
SERIALNO: 31848-
? 08038-42511 CAP 2
SN: 31682-
KIT-FLAG: _-
SERIALNO: 31682-
? 08038-22511 CAP 2
SN: 30001-31681
KIT-FLAG: _-
SERIALNO: 30001-31681
? 08028-63030 CABLE, BATTERY 1
SN: 31682-
KIT-FLAG: _-
SERIALNO: 31682-
? 08028-43030 CABLE, GROUND 1
SN: 30001-31681
KIT-FLAG: _-
SERIALNO: 30001-31681

Excavators Komatsu / PC210LC-6 S/N 30001-UP(pc210lcc) / BATTERY LESS(120020 : E0100-01A1)
?
?
?
?
?
?
?
?